Технические науки. Отраслевое
машиностроение
Alex Maslyakov
Kuzbass State Technical University, Russia
Improving pre-mounting passed
dismantling generation
On the domestic and foreign mines
widespread technology assembly and dismantling work using pre-traveled
dismantling workings. To maintain pre-traveled dismantling mines used roof
bolting and stationary lining in the form of wood fires, mine uprights. Analysis
of the experience of the pre-fixing traveled dismantling workings in coal mines
revealed that there is a problem of attachment. Existing types of stationary
lining does not meet the requirements of strength and stiffness, resulting in a
collapse of the roof in the development of dismantling and accidents at the
entrance to her cleaning mechanized complex (OMC).
Typical mounting
dismounting single generation in Kuzbass mines is that the roof
is fixed rope anchors
and props wooden
racks. The disadvantages of this lining is the lack
of compliance and load-bearing
capacity.
Known method of
building a camp fire lining
for mining in the development of stratified deposits (Figure 1). The technical result is to increase the
pliability of the wooden crib by creating a beam
system with the redistribution of loads of rock pressure on
the middle of the lining elements campfire. Campfire lining includes tiers of lining
elements Four campfire.
In addition, it is equipped with one or two tiers of flexible
elements crib stacked on the hard part of the elements Four campfire lining.
This flexible elements are shifted to the center of a camp fire lining, and
the relationship between compression force of rock pressure, falling to one corner of the
crib, and its deformation.
The disadvantage of this method of
construction is insufficient
bearing capacity of the lining does not allow to apply the lining to be stored
for re-use and innovative workings [1].
There is also the method of
building stone for the maintenance
of reusable development workings
(Figure 2). The technical result is to increase the efficiency of the tables by creating pre-thrust
when it is installed between the side
rocks. Bollard to maintain reusable
development workings includes a cylindrical timber-concrete blocks mounted on
each other at a height equal power excavated layer made of wooden racks,
installed in a metal cage and secured in a holder hardening solution. Cupboard
equipped with an additional constituent unit comprising a hollow cylindrical
block bellows 13 with a nipple 14 consists of two segments joined by a clamp, a
solid cylinder block, gasket placed between the rear segment and a cylindrical
timber-concrete.

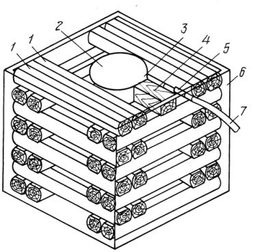
Fig.1 Campfire
lining increased compliance.
1-4 - the lining
of the campfire tiers;
6 - compliant
elements of the crib;
7 - the distance
between the axes of the elements rigidly campfire
lining;
8 - the distance
between the axes of the elements of a compliant cog; 9 - the diameter of the lining elements campfire; 10
- the value of the hard part; 11 - the value of the
pliable.

Fig.2 Stand
for the maintenance of reusable development workings.
1,2,3,5 - individual
cylindrical wooden and concrete blocks; 6 -
wooden racks; 7 - a metal clip; 8
- curing the
composition; 9 - segment; 15 - a lining.
The disadvantage of this
method is that it does not
satisfy the conditions of fracture
harvester as wood-concrete
blocks are metal cage
[2].
Also, there is a campfire limited
compliance (Figure 3). Koster to protect excavation workings involves a convoy
of pro-dolgovato boards installed in pairs around the perimeter of the fire
with ligation at right angles on the edges of each pair of two adjacent pairs.
The price-fire central part has a cavity into which the inner formwork, such as
in the form of an inflatable elastic membranes. The outer shell has an opening for fitting. Hardened materials only filled the voids
between the wooden elements and the corners of the cavity with a hose, the
hoped-Con to the union. As a result of performing the fire hardening material it
adheres to the rough surface of wooden elements, making them work together,
even under the action of forces on a security structure deviated from the
normal. Intimate contact with the surface of the cured material of the soil
eliminates point loads, to destroy-ing it. The presence of wooden elements into
the design to provide security Vaeth its compliance to 25% which excludes
destruction of hardened mother la the inevitable shift of the main roof.
Therefore, when working in the fire mode, it pliable bearing capacity is not
reduced [3].

Fig 3. Fire limited
pliability.
1 - wooden
elements; 2 - elastic shell; 3 - the
valve; 4 - a wooden tube; 5 - hole for the union; 6
- external formwork.
After analyzing all the
existing lining, we offer individual wood-concrete combined mining support with
adjustable load-bearing capacity, the possibility of failure and the clearing
mechanized transport complex (Figure 4). The technical result of the invention
is to increase the carrying capacity of the lining with the possibility of its
destruction and transportation of the clearing mechanized complex. This
technical result is achieved by the fact that, in the process of construction
of the individual roof supports, which includes the construction of a wooden
formwork zavodka plastic insulation inside the fire, fill a plastic bag with a
mixture of concrete. Wooden decking
is structural, its elements are made of timber with slots for quick assembly in mining conditions, the plastic insulation is made of dense
bag to fill the entire inner space of the wooden formwork, plastic bag filled with a solid malleable composition.
Mining support with adjustable load capacity, has the ability to transport and destruction of the clearing mechanized complex. Distinguishing characteristics
of the prototype lies
in the fact that the plastic bag
has an arbitrary shape, it is not filled with air, after setting hardening material (concrete) plastic bag is not recovered,
the wooden formwork is structural, destroys combine.

Figure 4. Individual
composite wood-concrete
rock bolting with
an adjustable load-bearing capacity
1 - Structural
wooden formwork; 2
- hardening solution; 3 - a plastic bag.
Using as a
stationary formwork lining
structural wood fire,
geotextiles, sliding plastic pipes can get a
wide range of strength and deformation
characteristics of stationary lining
installed in the dismantling chamber
and reduce the likelihood of accidents during demolition
work.
Thus, research on
the experience of entering into a
pre-prepared OMC dismantling
development in Kuzbass
mines and the world have shown that the standard methods of attachment dismantling mines in Kuzbass mines do
not meet modern trends of development of assembly and dismantling.
Studies have shown that
emergency cases are
related to insufficient fastening very weak roof bolting, and insufficient assessment of the role of the stationary
lining located in the development of (coal pillars, bonfires,
ores. Rack).
On the basis
of studies proposed improved
design of fixed lining,
reduces the risk of roof collapse and
accidents UMC at the entrance to
a pre-prepared production of the
dismantling, due to a high load
capacity and variable compliance. Using structural
elements increases manufacturability
and ease of installation of roof support in mine
conditions. The ability to combine
the destruction of the lining makes it easy to dismantle the stationary lining at
the entrance and provides
transportation of destroyed parts
of the lining of the mine conveyor network.
Bibliography:
1. Патент номер 2381367(13) С1 «Костровая крепь»
2. Патент номер 2472933(13) С1 «Тумба для поддержания повторно используемых подготовительных выработок»
3. патент номер 2079665(13) С1 «Костёр для охраны выемочных выработок»