Казахский Национальный Исследовательский Технический Университет им.К.И.Сатпаева, Казахстан
Механизация
шиномонтажных работ пассажирских автобусов в условиях Алматинского АТП КАП №3
Как показывает опыт эксплуатации
пассажирских автобусов Алматинского АТП КАП №3, наблюдаются значительные простои машин в ремонте. Основные отказы
приходятся на силовые агрегаты (30-40)% , элементы гидросистемы (25-30)%,
пневмоколесы (15-25)% от общего простоя машин.
Основными причинами выхода из строя
пневмоколес являются: плохое состояние дорог, неровности и ямы дорожного
полотна, прокол колес, перегрузка людей, не соблюдение правил технической
эксплуатации транспортировки, несвоевременное выполнение ежедневного и
сезонного обслуживания и т.д.
Выход из строя пневмоколес в процессе эксплуатации приводят к отказам и
неисправностям на линии, а в ряде случаев к дорожно-транспортным происшествиям[1,2].
Одной из основных причин малой эффективности эксплуатации машин является
отсутствие механизированных шиномонтажных средств, в этой связи нами разработан
и принят к внедрению в производство стенд для демонтажа пневмоколесных шин.
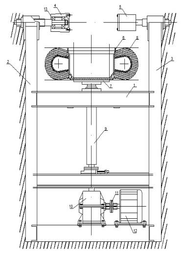
Стенд для
демонтажа шин устанавливается в смотровую яму
вблизи шиномонтажного участка автобусного предприятия и представляет
собой (рисунок 1) раму 1, на которую жестко смонтированы силовые
стойки 2 и 3. На концах силовых стоек жестко соединены вращающиеся нажимные
роликоопоры 4 и 5, при этом нажимные роликоопоры устанавливаются практически
напротив пневмошины 8 демонтируемого колеса.

Рисунок 1. Стенд для
демонтажа пневмошин
Стенд работает следующим
образом. Для демонтажа шины с диска
колеса своим диском 6 устанавливается на сменную опору 7,
соответствующую данному колесу. Включается электродвигатель 12, который через муфту 11 и редуктор 10
начинает вращать выходной вертикальный вал 9, который верхним концом закреплен
в сменной опоре. Сменная опора
перемещаясь вверх совместно с колесом упирается на нажимные роликоопоры и
роликоопоры начинают вращаться вместе колесом. Благодаря наличию на силовых
стойках нажимных роликоопоров с подшипниками 13 предотвращается повреждение
вентиля ремонтируемого колеса. По мере перемещения выходного вала вверх диск
колеса с помощью сменной опоры выпрессовывается из шины и происходит отделение
диска колеса из шины.
Таким образом, стенд позволяет путем
механизации ручных работ повысить производительность демонтажа шин за счет
снижения времени демонтажа колес транспортного средства и, кроме того,
обеспечивает универсальность с точки зрения возможности демонтажа шин
различного типоразмера.
Литература
1.Шахман М.М. Оборудование
для ремонта автомобилей.Издательство «Транспорт», 1971.-424 с.
2. Богатырев А.В. Автомобили : учебник для
вузов / – М.: Колос, 2005 – 496 с.