Техничні науки/6. Електротехніка і
радіоелектроніка
Д.т.н., професор
В.А. Порєв, доцент О.В. Суліма, аспірант О.С. Томашук
Національний
технічний університет України “Київський політехнічний інститут”, Україна
Тест-об’єкт з можливістю
поступової зміни контрасту для експериментальних досліджень функції передачі
модуляції
Жоден з відомих на сьогодні тест-об’єктів
не може задовольнити всіх вимог, найголовнішими серед яких є забезпечення широкого
діапазону просторових частот, невеликого кроку дискретизації просторової
частоти, зручність в експлуатації [1].
Очевидно, що результати тестування можуть
залежати від типу використаних тест-об’єктів. Історично склалося так, що
найчастіше використовуються штрихові міри (Рис. 1, а). Але той факт,
що штрихова міра з шириною смуги b розрізняється при заданому
значенні контрасту, не означає взагалі, що за таких самих умов буде
розрізнятися і окремий елемент з характерним розміром b.
Вперше на цю обставину звернув увагу
А. Роуз [2], який запропонував для досліджень роздільної
здатності використовувати тест-об’єкт у вигляді набору круглих об’єктів,
діаметри яких зменшуються по горизонталі, наприклад, у геометричній прогресії,
а контраст змінюється дискретно за певним законом по вертикалі (Рис.
1, б).
Певні застереження в цій методиці
викликає також досить значна і постійна різниця контрастів двох сусідніх
елементів, розташованих по вертикалі, оскільки структура тест-об’єкта є
детермінованою, тобто напрямок зміни контрасту відомий, що може спричинити
зростання похибки у визначенні роздільної здатності.
Зменшити цю похибку можна вдосконаленням
методики Роуза, використовуючи тільки лінійну (одномірну) комбінацію отворів
різного діаметру та поступово змінюючи вхідний контраст регулюванням світлового
потоку.

Рис.
1. Тест-об'єкти для визначення ФПМ та роздільної здатності:
а) – штриховий; б) –
за Роузом,
де 1 – контраст
, 2 – контраст
, 3 – контраст
.
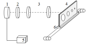
Запропонований тест-об’єкт
зображений на рис. 2. Він являє собою пластину 4 з прозорими отворами, яка
освітлюється за допомогою регульованого джерела світла 1, включає світлофільтр
2 та конденсор 3.
В складі стенду передбачено
регульований блок живлення 5 та рухома основа 6, на якій закріплена пластина.

Рис. 2. Тест-об’єкт з можливістю поступової зміни
контрасту.
Принцип дії стенду полягає у
наступному. Блок живлення 5 подає регульовано напругу на джерело світла 1. Потік
від джерела світла через світлофільтр 2 та конденсор 3 спрямовується на тест-об’єкт
4, який закріплений на рухомій основі 6. За допомогою поступової зміни вхідного
контрасту можна робити висновок щодо оцінки роздільної здатності.
Вхідний контраст визначається за формулою
|
|
|
(1) |
де
,
— освітленість пластини, відповідно, з боку
джерела і з боку приладу, утвореної внаслідок природньої освітленості в
лабораторних умовах або від додаткового джерела.
Величина
змінюється плавно і вимірюється в точці,
розташованій в центрі найбільшого отвору, тобто на мінімально можливій в даній
конструкції просторовій частоті, а
вимірюється в будь-якій точці на поверхні
пластини з боку приладу. Перед джерелом світла встановлюється корегуючий світлофільтр
2.
Оскільки значення коефіцієнту передачі
контрасту, який є функцією просторової частоти, при інших рівних умовах може
залежати також від швидкості переміщення зображення по мішені світлоелектричного
перетворювача, то визначення коефіцієнтів передачі контрасту, тобто дослідження
ФПМ, доцільно провадити в діапазоні очікуваних відносних швидкостей. При
цьому запропонований тест-об’єкт може застосовуватись для дослідження роздільної
здатності приладів з будь-яким світлоелектричним перетворювачем.
Література:
1.
Шульман М.Я.
Измерение передаточных функций оптических систем / М.Я. Шульман. – Л. : Машиностроение, 1980. – 208 с.
2.
Роуз А.
Зрение человека и электронное зрение / А. Роуз ; Пер. с англ. А.А. Гиппиуса ;
Под ред. В.С. Вавилова. – М. : Мир, 1977. – 216 с.