УДК 631.35
Сельское хозяйство/2
Механизация сельского хозяйства
Полищук Л.Н.,
соискатель, Луцкий национальный технический университет,
г. Луцк, Украина
Исследования
влияния операции плющения на характеристики тресты льна-долгунца
Ключевые слова: лён-долгунец, треста льняная, плющение,
усовершенствованная технология, эффективность процесса, уборка льна.
В Украине, которая была одним из мировых
лидеров-производителей льна-долгунца, и начиная с 90-х годов утратила эти
позиции, в последние годы активно ведутся работы по возрождению отрасли.
Значение льна для Украины, как отечественного возобновляемого источника
текстильного сырья, целлюлозы, топливных ресурсов на современном этапе очень
велико. Объясняется это многими социально-экономическими причинами, в этом
числе:
– высокие цены на импортный хлопок;
– потребность в создании новых рабочих мест, особенно
в Полесье, где жестко стоит проблема безработицы;
– высокие цены на газовое топливо, а также
исчерпывающиеся лесные ресурсы.
Возрождение отросли, возможно, только при условии
создания современной материально-технической базы, как для
сельскохозяйственных, так и для перерабатывающих предприятий. В связи с этим,
актуальной научно-практической задачей есть модернизация существующего парка
уборочной техники и оборудования для первичной переработки льняного сырья.
Решение этой задачи позволяет создать условия для
повышения качества продукции льноводства, что в свою очередь позволит повысить
её конкурентоспособность.
Как показал анализ направлений развития уборочной техники
для льноводческой отрасли, одним из путей решения проблемы повышения качества
льнотресты, является плющение комлевой части стеблей льна в ходе проведения
уборочных работ [1, 2].
С учетом выше изложенного, нами осуществлена
модернизация льноуборочного комбайна с целью внедрения дополнительной
технологической операции – плющения комлевой части стеблей льна. Работа
выполнена в Луцком национальном техническом университете.
Экспериментальные исследования проведены в
лабораториях и на полях исследовательской станции лубяных культур Национальной
академии аграрных наук Украины, в городе Глухове (Украина).
Одним из поставленных заданий была оценка влияния
плющения комлевой части стеблей на динамику изменения параметра отделяемости по длине стеблей. Данные исследования
представляют научно-практический интерес, что объясняется, характерной для
отрасли льноводства проблемой, неравномерного вылёживания соломы в
тресту. Следствием чего есть потери тресты и уменьшение выхода длинного волокна.
В ходе проведения исследований нами анализировались
выборки стеблей на опытных и контрольных участках поля. На контрольном участке
льняная солома была получена в ходе уборки стеблестоя льна сорта Эсмань
комбайном ЛК-4А. На опытных участках была расстелена солома, полученная в ходе
уборки стеблестоя льна сорта Эсмань комбайном ЛК-4А у которого базовая
конструкция зажимного транспортера была демонтирована и заменена на
предложенную нами. Отличие базового и модернизированного транспортеров состоит
в изменении конструкции прижимного устройства. В предложенной нами конструкции
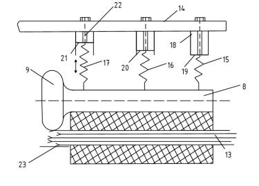
(рис. 1) прижимное устройство выполнено в виде пластины с приваренными к ней
блоками из трёх пружин с прижимными валками,

которые заканчиваются фигурными выступами для
лучшего проминания комлевой части стеблей льна-долгунца.
а

б
Рис. 1. Схемы усовершенствованного зажимного транспортера: а – общий вид зажимного транспортера; б – вид зажимного устройства с фигурным выступом: 1, 2 – ведомые шкивы; 3 – бесконечный верхний пас; 4 – бесконечный нижний пас; 5, 6 – ведущие шкивы; 7 – опорный ролик; 8 – прижимные валки; 9 – фигурный выступ; 10, 11 – направляющие ролики; 13 – ров; 14 – пластина; 15, 16, 17 –пружины; 18 – стаканы; 19, 20, 21 – прижимные пластины; 22 – регулирующий винт; 23 – опорная пластина.
Согласно методике, изложенной в ДСТУ «Треста лляна» [3], нами определялся показатель отделяемости для трёх
основных зон стеблей: верхушечной, средней части, комлевой части.
Выборочные данные, полученные в 2014 и 2015 годах,
представлены в таблице 1.
Таблица 1
Показатели отделяемости
|
Условия получения соломы льна-долгунца |
Период взятия пробы/ отделяемость, ед |
||
|
Верхушечная часть стебля |
Средняя часть стебля |
Комлевая часть стебля |
|
|
без плющения с плющением |
Растил соломы для вылёживания в тресту |
||
|
2,9 |
2,5 |
2,3 |
|
|
2,9 |
2,5 |
2,5 |
|
|
без плющения с плющением |
8-й день после расстила |
||
|
3,2 |
2,9 |
2,7 |
|
|
3,4 |
3,2 |
3,1 |
|
|
без плющения с плющением |
17-й день после расстила |
||
|
3,9 |
3,5 |
3,3 |
|
|
4,0 |
3,9 |
3,8 |
|
|
без плющения с плющением |
20-й день после расстила |
||
|
4,1 |
4,0 |
3,9 |
|
|
4,8 |
4,6 |
4,6 |
|
|
без плющения с плющением |
23-й день после расстила |
||
|
4,7 |
4,5 |
4,3 |
|
|
5,2 |
5,1 |
5,1 |
|
Анализ полученных опытных данных позволил сделать
следующие выводы:
1) применение операции плющения комлевой части стеблей,
позволило выровнять интенсивность вылёживания стеблей льна по их длине;
2) отделяемость волокон от коры не мене 4,1 ед, что
говорит о вылежавшей тресте, на опытных участках достигалась на 3 – 9 суток
раньше, чем на контрольных.
Проведенные нами исследования доказывают, что внедрение
операции плющения комлевой части стеблей льна-долгунца – есть перспективной.
Применения плющения позволило ускорить процесс мацерации стеблей соломы в
тресту, а также обеспечить выравнивание показателя вылёживания – отделимости по
длине стеблей.
Литература
1.
Боярченкова М.М.
Эффективность плющения стеблей льна в комлевой части при тереблении / М.М.
Боярченкова, М.М. Ковалёв, В.И. Смирнов, А.Д. Иванов //Льняное дело. – 1995.
№4. С. 18-22.
2.
Ковалёв М.М. Технология
и технические средства плющения стеблей льна /М.М. Ковалёв, В.И. Смирнов, В.П.
Козлов // Мат. науч.-прак. конференции 6-7 октября 1999 г. – ГОСНИТИ. М., 2000.
– С. 125-128.
3. Треста
лляна. Технічні умови: ДСТУ 4149: 2003. – [Чинний від 2003-24-02]. – К.: Держспоживстандарт
України, – 2004. – 14 с. – (національний стандарт України).
4.
Льон-довгунець: довідник технічних культур /[уклад.
Євмінов В.М., Карпець І.П., Шпита М.В., Динник В.П.]. – К.: Урожай, 1989. – 194
с.