Мельник В.М.

Національний технічний університет України «КПІ»

 

ГАЗЛІФТНИЙ БАРБОТАЖНИЙ АПАРАТ З КРИЛЬЧАСТИМ ПЕРЕМІШУВАЧЕМ

 

Апарат належить до біотехнології, а саме до газліфтних барботажних апаратів, і може бути використаний для культивування мікроорганізмів в рідинних середовищах при виготовленні вакцин та біологічно-активних речовин.

Відомий апарат для вирощування мікроорганізмів, який містить ємкість з технологічними патрубками, розміщені в ємкості циркуляційний стакан і аератор, систему рециркуляції середовища, яка складається з відвідного трубопроводу, збудника розходу, підвідного трубопроводу і підключеного до нього пристрою для розбризкування культуральної рідини, що розміщений у верхній частині ємкості [1].

Апарат має можливість працювати при підвищеному барботуванні культуральної рідини в ємкості, тобто за інтенсивного постачання мікроорганізмів киснем, отже і за енергійного постачання поживними речовинами. Це забезпечено усуненням стримуючої інтенсифікацію дріжджезростаючого процесу від’ємного зворотнього зв’язку між газовмістом культуральної рідини в ємкості і інтенсивністю тепломасообмінних процесів в газліфтному барботажному апараті загалом.

Зазначений від’ємний  зв’язок ліквідується за рахунок введення в конструкцію апарата відвідного патрубка піни в складі гідроциклона та ежектора.

Недоліком цього технічного рішення постає досить висока матеріалоємкість апарату, підвищене піноутворення, відносно невисока продуктивність технологічного процесу внаслідок пасивного перемішування і практично ламінарного поступального руху робочої рідини, і тільки паралельно осі апарату, а також наявність неминучих при цьому застійних зон в придонному прошарку та на периферії апарату (на внутрішніх бічних стінках), що зумовлене обмеженими можливостями обраного технічного рішення.

Відомий також газліфтний барботажний апарат, який містить вертикально розташований циліндричний корпус з технологічними патрубками і розміщену в порожнині корпусу з радіальним зазором циркуляційну трубу, а також встановлений під циркуляційною трубою аератор [2].

За рахунок більш рівномірного розподілення газу та підвищення  його диспергування зростає продуктивність технологічного процесу.

Для руху потоків газорідинної суміші використовується потенціальна енергія стиснутого повітря.

Процес культивування мікроорганізмів, як і більшість гетерогенних хімічних реакцій, безпосередньо залежить від кількості розчиненого в рідині газу і утворення та накопичення цільового продукту, зокрема, біомаси.

Підвищення ступеня розчинення газу в рідинній фазі реакції призводить також до скорочення його розходу та зменшення енерговитрат на аерацію.

Недолік цього технічного рішення полягає у відносно низькій продуктивності технологічного процесу, збідненій енергетики процесу тепломасообміну та постійно присутніх усередині газліфтного барботажного апарату зонах пасивної енергетики культуральної рідини – в придонному прошарку та на периферії внутрішньої поверхні корпусу, невідповідність ступеня аерації і тепломасообміну культуральної рідини усередині циркуляційної труби і поза нею, а також прояв ефекту налипання до її поверхні.

В основу пропонуємого апарату поставлена задача підвищення продуктивності технологічного процесу шляхом інтенсифікації тепломасообміну по всьому об’єму апарата за допомогою штучного формування додаткової циркуляції культуральної рідини і породженої цим станом енергетичної активності культуральної рідини.

Пропонуємий газліфтний барботажний апарат з крильчастим перемішувачем містить вертикально розташований циліндричний корпус з технологічними патрубками і розміщену в порожнині корпусу з радіальним зазором циркуляційну трубу, а також встановлений під циркуляційною трубою аератор, згідно заявляємого винаходу у газліфтному барботажному апараті з крильчастим перемішувачем на верхньому торці циркуляційної труби установлена крильчатка, яка висхідному повітряно-рідинному потоку у середніх і верхніх шарах апарату, окрім поступального руху вгору, штучно надає додатково горизонтальної циркуляції, внаслідок чого захоплюються спокійні пристінні периферійні шари культуральної рідини і формується зона підвищеної енергетики.

Технічний результат від використання пропонуємого газліфтного барботажного апарату з крильчастим перемішувачем забезпечується обладнанням верхнього торця циркуляційної труби крильчаткою.

Після того, як у попередньо простерилізований корпус газліфтного барботажного апарату з крильчастим перемішувачем через аератор починає надходити стиснений газ (повітря), у проміжку між нижнім торцем циркуляційної труби і аератором, а також всередині циркуляційної труби, утворюється зона зниженого тиску, куди стрімко линуть потоки культуральної рідини з нижніх шарів корпуса барботажного апарату і захоплюються потоком газової суміші, що рухається в циркуляційній трубі вгору, тобто у бік кришки апарату. Таким чином, у придонному просторі формується достатня енергетична активність культуральної рідини. В той же час, в проміжку між зовнішньою поверхнею труби і внутрішньою поверхнею газліфтного барботажного апарату має місце помірна енергетична активність культуральної рідини чи взагалі її відсутність, а над верхнім торцем більш-менш активна енергетична зона має місце лише над верхнім торцем циркуляційної труби, причому суттєво слабша порівняно із нижнім торцем.

Крильчастий перемішувач починає обертатися навколо своєї осі під дією висхідного повітряно-рідинного потоку, що поступально рухається від днища до кришки апарату. Крильчатка не заважає поступальному рухові культуральної рідини вгору, а, в свою чергу, спрямовує потоки культуральної рідини в бік внутрішньої поверхні корпуса апарату. Внаслідок цього, верхня, практично нерухома, частина культуральної рідини турбулізується та активно збагачується киснем в горизонтальному і вертикальному напрямках. Все це створює умови для швидкого розвитку клітин і підвищує продуктиність технологічного процесу.

Швидкість обертання крильчатки залежить від величини тиску, під яким надходить повітря до корпуса апарату, а внаслідок того, що він помірний, тому буде відсутній зайвий ризик  пошкодження оболонок клітин лопатями крильчатки.

Таким чином, штучне створення енергетичної активності культуральної рідини у середніх і верхніх шарах газліфтного барботажного апарату з крильчастим перемішувачем, додатково збурює культуральну рідину по всьому об’єму апарату. Наявність крильчастої кришки на верхній частині циркуляційної труби створює більш насичену киснем внутрішню зону циркуляційної труби, сприяє процесу тепломасообміну і аерації і внаслідок цього підвищує продуктивність і якість технологічного процесу.

Сукупність наведених ознак пропонуємого газліфтного барботажного апарату з крильчастим перемішувачем забезпечує досягнення нового технічного результату.

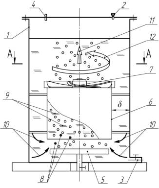
На рис. 1 схематично зображений в поздовжньому перерізі газліфтний барботажний апарат з крильчастим перемішувачем; на рис 2 показаний переріз А-А на рис. 1.

 

   

Рис.1                                                      Рис. 2

 

Газліфтний барботажний апарат з крильчастим перемішувачем (рис. 1) використовується для культивування мікроорганізмів в рідинних середовищах при виготовленні вакцин та біологічно-активних речовин і містить вертикально розташований циліндричний корпус 1 з патрубком 2 для введення живильної рідини і посівного матеріалу, з патрубком 3 для видалення культуральної рідини та з патрубком 4 для відведення відпрацьованого газу. В порожнині корпуса 1, співвісно з ним, на днищі, розміщений аератор 5 і циркуляційна труба 6, з радіальним зазором “δ” відносно корпуса 1. На верхньому торці циркуляційної труби розміщений крильчастий перемішувач 7.

Робота газліфтного барботажного апарату з крильчастим перемішувачем здійснюється наступним чином.

У попередньо простерилізований корпус 1 крізь патрубок 2 вводиться культуральна рідина, після чого, через аератор 5 впускають стиснений газ (повітря). Стиснений газ у вигляді бульбашок 8 підіймається по циркуляційній трубі 6 вгору, до кришки апарату. Бульбашки 8 утворюють з  культуральною рідиною 9 повітряно-рідинну суміш, яка набагато легша за культуральну рідину на периферії і днищі корпуса 1. Різна питома вага культуральної рідини на периферії і усередині циркуляційної труби породжує рух в бік циркуляційної труби ламінарних потоків 10. Повітряно-рідинна суміш доходить до верхнього торця циркуляційної труби і, надалі, частина її, у вигляді потока 11, прямує до кришки апарату, а інша частина потоку 11 потрапляє на лопаті 7 крильчатки і примушує крильчатку обертатися навколо вертикальної осі, створюючи циркуляцію потоків 12 в горизонтальній площині, частково відкидаючи культуральну рідину 9 до внутрішніх стінок корпуса 1 газліфтного барботажного апарату і турбулізуючи культуральну рідину в застійних зонах периферії корпуса 1.

Штучне формування підвищеного енерегетичного стану культуральної рідини по всьому внутрішньому об’єму газліфтного барботажного апарату з крильчастим перемішувачем забезпечує однорідність культуральної рідини та ліквідує зони пасивної енергетики.

Таким чином, використання пропонуємого газліфтного барботажного апарату з крильчастим перемішувачем, завдяки новим властивостям, забезпечить енергетичну активність культуральної рідини по всьому об’єму апарату, що буде слугувати  підвищенню продуктивностіь технологічного процесу і його якості.

Литература

1.    А.с. 1497208 А1 СССР, С12М1/04. Аппарат для выращивания микроорганизмов [Текст]/ Ю.Ф. Давыдов, В.М. Геллис, В.К. Погудкин, В.М. Крац, В.Н. Соловьев, С.П. Уткин (СССР). - № 4109725/28-13; заявл. 21.08.86; опубл. 30.07.89, Бюл. № 28. – 1 с.: ил.

2.    А.с. 1708829 А1 СССР, С12М1/04. Газлифтный барботажный аппарат [Текст]/ Ю.Г. Куляшов, В.И. Горячкин, С.П. Уткин, Ю.Н. Талызин, А.С. Васильев, В.М. Крац (СССР). - № 4612860/13; заявл. 01.12.88; опубл. 30.01.92, Бюл. № 4. – 1 с.: ил.