Д.т.н. Зазуля А.Н., аспирант Левин М.Ю.,
д.т.н. Нагорнов С.А., аспирант Павлов С.С.
Государственное научное учреждение Всероссийский
научно-исследовательский институт использования техники и нефтепродуктов
Российской академии сельскохозяйственных наук, г. Тамбов
ВЛИЯНИЕ ДАВЛЕНИЯ И ТЕМПЕРАТУРЫ ВХОДНОГО
ПОТОКА ВОЗДУХА НА ТЕМПЕРАТУРЫ ВЫХОДНЫХ ПОТОКОВ ВИХРЕВОЙ ТРУБЫ
Многочисленные и достаточно
разнообразные практические приложения закрученных потоков, сложность их
аналитического описания объясняют интерес к ним широкого круга исследователей.
Этот интерес вызван ещё и тем, что закрутку потока вследствие комплекса свойств
используют для интенсификации различных, в том числе тепло- и массообменных
процессов. Наиболее полно эти свойства проявляются в устройствах, реализующих
эффект энергетического разделения, известный как эффект Ранка, или вихревой
эффект.
Вихревой эффект реализуется в очень
простом устройстве, называемом вихревой трубой (трубой Ранка—Хилша, вихревым
энергоразделителем, вихревым холодильником), схематичная конструкция которой
изображена на рис. 1.

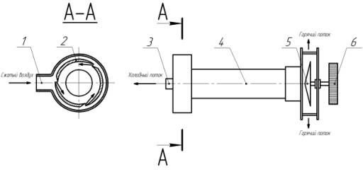
Рис. 1. Вихревая трубка: 1- вход сжатого воздуха, 2 -
улитка, 3 -диафрагма, 4 - вихревая зона, 5 - дроссель, 6 - регулятор.
При втекании газа через сопло образуется интенсивный круговой поток,
приосевые слои которого заметно охлаждаются и отводятся через отверстие
диафрагмы в виде холодного потока, а периферийные слои подогреваются и вытекают
через дроссель в виде горячего потока. По мере прикрытия дросселя общий уровень
давления в вихревой трубе повышается и расход холодного потока через отверстие
диафрагмы увеличивается при соответствующем уменьшении расхода горячего потока.
При этом температуры холодного и горячего потоков также изменяются [1].
Имеется несколько десятков
теоретических работ, в которых делаются попытки вскрыть физическую сущность
вихревого эффекта и дать его аналитическое решение [1]. Однако
экспериментальные исследования процессов, протекающих внутри вихревой трубки
весьма затруднительны, т.к. размещение приборов вызывают возмущение в потоке,
что снижает точность измерений. Гипотеза взаимодействия вихрей позволяет
построить предельные характеристики вихревой трубы, но использование их для
инженерных расчетов связано с введением поправок на влияние пограничного слоя
диафрагмы и осевых скоростей в вихре, на отклонение от адиабатного
распределения параметров по радиусу соплового сечения и других поправок,
которые приводят к заметному отличию действительных характеристик от
теоретических и влияние которых невозможно учесть расчетным путем [1].
Все это говорит о сложности процессов,
протекающих в вихревой трубке. Поэтому основой расчета вихревой трубы в
настоящее время следует считать эмпирические данные, полученные при ее
исследовании и обработанные согласно обобщенным зависимостям.
В настоящей работе проведены
эксперименты по распределению температур в трубке Ранка с рубашкой охлаждения.
В проводимых экспериментах к трубке не подводилась вода для охлаждения. Это
сделано с целью определить максимальный охлаждающий эффект, который сможет
выдать вихревая трубка.
Вихревая зона исследуемой трубе
выполнена в виде усеченного конуса с расширением в сторону дросселя и углом
конусности 2°,в сопловом входе установлена
трехзаходная улитка, дроссель выполнен в виде конуса. Схема установки, на
которой проводился эксперимент, приведена на рис.2.

Рис.2. Схема
установки: 1 - компрессор, 2 – регулятор давления, 3 – манометр, 4 – вихревая
труба, 5 – рубашка охлаждения, 6 – температурный регистратор.
В эксперименте варьировались входное
давление, температура воздуха и степень открытия дросселя. Результаты
экспериментов сведены в таблице 1, графическое изображение приведено на рис. 3.
Таблица 1.
Эффективность
охлаждения и нагрева вихревой трубкой
|
Входное давление,
атм. |
Разница температуры, °C |
|
|
Tx |
Tг |
|
|
2 |
30,15 |
2,55 |
|
3 |
33 |
8,37 |
|
4 |
38,22 |
2,98 |

Рис. 3. Эффективность
охлаждения и нагрева вихревой трубкой.
Таким образом, эксперимент показал, что
эффект охлаждения возрастает с увеличением давления входного потока в вихревой
трубке, что соответствует литературным данным [2]. Достигнута минимальная
температура холодного потока равная -9
ºС, а максимальная температура горячего потока +44 ºС.
Библиографический список
1.
Меркулов А.П., Вихревой
эффект и его применение в технике. – М.: Издательство «Машиностроение», 1969. –
183 с.
2.
Пиралишвили Ш.А.,
Барановский Б.В., Анализ влияния турбулентных характеристик течения в вихревых
трубах на геометрию трубы и термодинамиу процесса энергоразделения.
Рыбинск,1991, Деп. ВНИИТИ 1991 № 1011-В91.