Технические
науки/2. Механика
Азимов А.М., к.т.н. Сабырханов М.Д., д.т.н. Абиев Р.Ш., Азимова Н.Б.
Южно-Казахстанский
государственный университет им. М.Ауэзова, Казахстан, Сант-Петербургский государствынный технологический
институт (технический университет), Россия
Ультрафильтрационная очистка
питьевой воды в мембранном аппарате
Подготовка пригодной для питья
воды должна обеспечивать такой ее
качественный состав, который бы не
нарушал нормального функционирования
организма человека [1]. Основными требованиями, предъявляемыми к питьевой воде являются
безопасность в эпидемиологическом отношении, безвредность по токсикологическим
показателям, хорошие органолептические показатели и пригодность для хозяйственных нужд.
Необходимость
очистки воды на питьевых водопроводах возникает при несоответствии исходной
воды требованиям СанПиН 2.1.4.559-96 [2].
Основная цель традиционных схем очистки - улучшение органолептических свойств
воды: осветление, обесцвечивание, дезодорация и др. Под осветлением воды
понимают удаление из нее взвешенных веществ, под обесцвечиванием - устранение
окрашенных коллоидов или истинно растворенных веществ. Осветление и
обесцвечивание воды достигается в основном ее отстаиванием (с применением
коагулянтов и флокулянтов или без них) в отстойниках, фильтрованием через
ткани или сетки на микрофильтрах и барабанных ситах. Последние используют для
предварительного удаления из воды фито- и зоопланктона, что позволяет намного
улучшить работу сооружений водопровода. Как показывает практика эксплуатации
микрофильтров, они снижают содержание взвеси в воде на 30-40 %, практически полностью
задерживают зоопланктон и на 75-95 % - фитопланктон. Основной частью
микрофильтров и барабанных сит является многогранный барабан с фильтрующими
элементами из тонкой металлической или пластмассовой сетки с ячейками размером
40-60 мкм. Обрабатываемую воду
подают внутрь барабана. Фильтруясь через сетку, она поступает в камеру
микрофильтра, а оттуда - в трубопровод, подающий воду на следующий этап
очистки - отстаивание.
Выполнен обзор конструктивных и
эксплуатационных характеристик систем ультрафильтрации сырой воды [3]. Главной
их особенностью является постепенное снижение проницаемости (permeability)
мембран с увеличением их гидравлического сопротивления в результате накопления
загрязнений. Рассмотрены методы очистки мембран, применяемые для сохранения их
проницаемости в процессе предварительной обработки воды.
Мембранные аппараты и
технологии позволяют осуществлять процессы очистки, разделения и концентрирования
жидких смесей на молекулярном и надмолекулярном уровне с одновременной
утилизацией ценных продуктов. Безреагентность, исключение фазовых переходов и
применения растворителей, энергосбережение, экологическая чистота,
сравнительная простота технологического оформления и относительно низкие
температуры обуславливают высокую конкурентоспособность и широкое применение
мембранных процессов практически во всех сферах деятельности человека.
Одной из
конструкций, является мембранный аппарат мембранным элементом с ребристой поверхностью.
Задачей исследования
является увеличение продолжительности работы мембраны и повышение степени
очистки поверхности мембран в процессе регенерации.
Мембранный аппарат, содержащит
цилиндрический корпус с патрубком ввода очищаемой жидкости, расположенным тангенциально к образующей корпуса,
патрубками вывода очищенной и недоочищенной жидкости, трубчатый
мембранный модуль, содержащий каркас с дренажными отверстиями и с наружной
полупроницаемой мембраной, установленный с зазором относительно внутренних
стенок корпуса, эластичный валиковый элемент, выполненный из пористого материала в форме цилиндрического валика и
расположенного по оси аппарата с возможностью вращения, причем
мембранные модули также могут вращаться вертикально по своей оси и параллельно эластичному элементу, согласно изобретению, поверхность эластичного элемента
имеет ребра, расположенные параллельно оси вращения либо в виде винтовой линии
либо эластичные пупырышки, аппарат содержит устройство для подачи промывной
жидкости на поверхность мембранных модулей, причем отношение
окружных скоростей поверхностей эластичного элемента с ребристой поверхностью и
трубчатых мембранных модулей задается в диапазоне 1,2÷1,7.
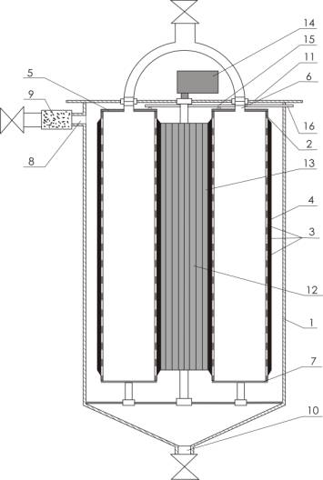
На фигуре 1- показан общий вид мембранного аппарата: на фигуре 2- вид
сверху аппарата с разрезом крышки аппарата.

Фигура 1 - Мембранный аппарат

Фигура 2 –Вид
сверху.
Где 1-цилиндрический корпус, 2-трубчатый каркаса, 3-дренажными отверстия для прохода очищаемой жидкости, 4-полупроницаемые мембраны, 5-съемная крышка мембранного модуля, 6-патрубок для вывода очищенной жидкости, 7-глухое днище, 8-патрубком для ввода очищаемой жидкости, 9-фильтр грубой очистки, 10-патрубок для вывода недоочищенной жидкости, 11- съемная крышка корпуса, 12-эластичный элемент, 13-ребристая поверхность, 14-электродвигателя, 15-устройство для подачи промывной жидкости, 16-патрубок.
Мембранный
аппарат работает следующим образом: подлежащая
мембранной очистке жидкость поступает через фильтр грубой очистки 9 и патрубок
8, расположенный тангенциально к образующей корпуса 1. Создается закрученное
движение жидкости, наиболее крупные частицы отбрасываются к периферии под
действием центробежных силы и осаждаются, что способствует более длительному
сохранению проницаемости мембраны 4. Проходя через полупроницаемую мембрану 4
трубчатого мембранного модуля, жидкость очищается от механических примесей и по
дренажным отверстиям 3 поступает внутрь трубчатого мембранного модуля и
очищенная выводится через патрубок 6 потребителю. При
работе устройства в режиме фильтрации
патрубок 10 для вывода недоочищенной жидкости закрыт. В процессе работы
аппарата происходит засорение поверхности мембраны 4, что приводит к увеличению
перепада давления на трубчато-мембранном модуле. При достижении величины
перепада давления до заданной, автоматически приводится в движение эластичный
валиковый элемент 12 с ребристой поверхностью 13 при помощи электродвигателя 14.
Устройство
для подачи промывной жидкости 15 включается одновременно с работой эластичных
элементов. Устройство для подачи промывной жидкости 15 представляет собой
трубчатый элемент с отверстиями, через которые на каждую полупроницаемому мембрану
4 и эластичный валиковый элемент 12 с ребристой поверхностью 13 подаются струи
промывной жидкости. Промывная жидкость
поступает через патрубок 16. Эластичный валиковый элемент 12 с ребристой поверхностью 13, касаясь поверхности мембраны
4, снимает загрязнения, которые в дальнейшем смываются тангенциальным потоком промывной
жидкости, проводится промывка мембраны 4, при этом недоочищенная жидкость
сливается через патрубок 10. Периодичность регенерации препятствует износу
мембраны 4. Эластичный валиковый элемент 12 с ребристой поверхностью 13
выполнен из пористого эластичного материала в форме цилиндрического валика,
который механически очищает поверхность мембраны без её
разрушения и сам при этом не забивается частицами. После длительной
эксплуатации (до 2,5-3 лет) старые мембраны 4 заменяются новыми.
Отношение окружных скоростей поверхностей
эластичного элемента с ребристой поверхностью и трубчатых мембранных модулей в 1,2÷1,7 раз позволяет
повысить степень очистки регенерации мембран. При отношении окружных
поверхностей эластичного элемента с ребристой поверхностью и трубчатых
мембранных модулей менее 1.2 раза не обеспечивается необходимый уровень очистки
поверхности мембран, так как касательные напряжения на поверхности осадка недостаточно
велики. При отношении окружных поверхностей эластичного элемента с ребристой
поверхностью и трубчатых мембранных модулей более 1.7 раза существенно
возрастает износ мембран и повышается расход энергии. При оптимальном отношении
окружных скоростей поверхностей эластичного элемента с ребристой поверхностью и
трубчатых мембранных модулей, находящейся в диапазоне 1,2÷1,7,
в осадке создаются достаточные сдвиговые напряжения, приводящие к его
эффективному удалению и последующему смыву промывной жидкостью.
Таким образом, использование эластичного
валикового элемента с ребристой поверхностью, а также устройства для подачи
промывной жидкости позволяет снизить износ мембраны и повышает эффективность
очистки поверхности и пор мембраны.
Опытно-промышленное
испытание на ГКП «Чистая вода» и экспериментальные данные
показали высокую эффективность разработанной технологии и водоочистки.
С целью
дальнейшей реализации разработок мембранной очистки воды возможно
представление:
- рекомендация
по оценке и выявлению причин загрязнений поверхностных и подземных вод,
управлению природопользованием;
- практических
рекомендаций для проектирования, расчета и по рациональному выбору
конструктивных и режимных параметров мембранных аппаратов для питьевой воды.
Литература:
1. Руководства по контролю качества
питьевой воды. Т. 1-3. Гигиенические критерии и другая релевантная информация.
– ВОЗ. – Женева, 1984-1987.
2. Мазаев В.Т., Шлепина Т.Г., Мандрыгин
В.И. Контроль качества питьевой воды. - М.: Колос, 1999 – 168 с.
3. Schramm Thomas. Ultrafiltration of raw water-pre-treatment. VGB
PowerTech. Int. Ed.. 2008. 88, № 1–2, р. 82–88, 6 ил.