Технические науки / 6. Электротехника и радиоэлектроника
К.т.н. Сухарьков О.В.
Одесская национальная академия связи им.
А.С. Попова, Украина
Вынужденные колебания плоской осесимметричной струи
Разработка антенн передающих трактов дальней цифровой
связи является важной проблемой информационной гидроакустики [1, 2]. Основными элементами излучающих антенн могут
служить низкочастотные (0,2…5) кГц жидкоструйные преобразователи с круговым
щелевым соплом в виде соосных дисков [3]. Доклад посвящен решению задачи вынужденных колебаний кольцевой струйной пластинки, являющейся
моделью гидродинамического излучателя.
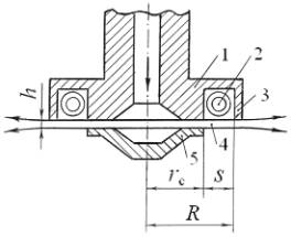
Рассмотрим механизм звукообразования преобразователя (рис. 1, а).

а) б)
Рисунок 1 –
Жидкоструйный преобразователь: а –
схема, б – модель кольцевой струйной
пластинки
Затопленная струя, вытекающая из кругового
щелевого сопла, образованного соосными дисками корпуса 1 и обтекателя 5,
формируется в плоскую осесимметричную
струю 4. Ступенчатое препятствие 3 способствует
тому, что часть кинетической энергии струи расходуется на формирование в
проточке корпуса 1 тороидального вихря 2, внутри которого за счет эффекта
Бернулли возникает кавитация. Пульсации неустойчивого вихря 2 возбуждают
вертикальные изгибные колебания кольцевой струйной пластинки. Оптимальный режим
гидродинамического звукообразования, при котором генерируется акустический
сигнал максимального уровня, соответствует совпадению частоты пульсаций вихря с
частотой основной гармоники колебаний кольцевой пластинки [4].
Кольцевая струйная пластинка
характеризуется геометрическими параметрами: толщиной
, шириной
, внутренним
радиусом
(радиус сопла) и внешним радиусом
, причем толщина пластинки
мала по сравнению с радиусом
(рис. 1, б). Гидродинамическими параметрами
струйной пластинки являются:
– плотность,
модуль упругости затопленной струи и ее скорость на выходе из сопла. Расположим
оси
и
в верхней плоскости
кольцевой пластинки, ось
направим по нормали к
этой плоскости, и декартову систему координат совместим с цилиндрической
системой координат. В первом приближении упругую струйную пластинку будем рассматривать как твердотельную пластинку с некоторым эквивалентным модулем упругости.
Для анализа вынужденных колебаний кольцевой пластинки воспользуемся неоднородным дифференциальным
уравнением изгиба круглой пластинки в полярных координатах
[5]
, (1)
где
– цилиндрическая жесткость круглой пластинки;
– динамический прогиб пластинки;
– оператор Лапласа;
– параметр времени;
– интенсивность нормальной нагрузки (удельная внешняя сила,
действующая в направлении нормали к поверхности круговой пластинки). Предполагаем,
что кольцевая пластинка, деформируясь под действием сил, равномерно
распределенных по ее внутренней поверхности, совершает только
вертикальные изгибные гармонические колебания:
;
. (2)
Здесь
– удельные внешние
силы, действующие в направлении соответствующих ортов цилиндрической системы
координат;
– амплитуда удельной
возбуждающей силы со стороны тороидального вихря;
– круговая частота
вынужденных колебаний.
После подстановки выражений (2) в
уравнение (1) и несложных преобразований данное уравнение примет вид
, (3)
где
– эквивалентная цилиндрическая жесткость струйной кольцевой
пластинки, для ее вычисления
используем формулу [3]
,
(4)
в ней
– модуль упругости струйной кольцевой
пластинки,
– коэффициент Пуассона. Для удобства вычислений перейдем
от переменной
к приведенному
расстоянию
и учтем, что
[3]. Тогда форма вынужденных колебаний кольцевой пластинки, функция
, будет удовлетворять неоднородному дифференциальному
уравнению
, (5)
где
, а для характеристического волнового числа
справедливо выражение
. (6)
Согласно предложенной модели считаем, что
внутренний край струйной кольцевой пластинки
жестко защемлен, а на
наружном крае
– отсутствуют
продольное смещение, сдвиг и перерезывающие усилия. Поэтому граничные условия
на контурах кольцевой пластинки имеют вид [3]:
. (7)
Общее решение неоднородного уравнения (5)
представляет собой сумму решения однородного уравнения и частного интеграла
неоднородного уравнения:
.
(8)
Причем решение соответствующего
однородного уравнения имеет вид [3]:
, (9)
где
– функция Бесселя первого рода 0-го порядка;
– функция Бесселя
второго рода 0-го порядка;
– модифицированная
функция Бесселя первого рода 0-го порядка;
– модифицированная
функция Бесселя второго рода 0-го порядка. Входящие в уравнение колебаний
кольцевой пластинки параметры
, где
, являются корнями трансцендентного уравнения
(10)
При этом частоте основного тона (низшая
гармоника) генерируемого акустического сигнала соответствует наименьший корень
[3].
Частным решением неоднородного уравнения (5) является
постоянная функция
. После подстановки этого значения в уравнение (5) получаем
. (11)
Итак, общее решение
дифференциального уравнения вынужденных колебаний кольцевой струйной пластинки,
с учетом (6), запишем в виде
. (12)
Используя граничные условия, определим
неизвестные коэффициенты
и подставим их значения в решение (12). Окончательно, для расчета
амплитуды колебаний свободного края струйной пластинки
получим
формулу:
, (13)
где
– функция Бесселя
первого рода 1-го порядка,
– модифицированная функция Бесселя первого рода 1-го
порядка.
В заключение отметим,
что решение задачи вынужденных колебаний плоской осесимметричной струи позволяет
рассчитывать на стадии проектирования амплитудно-частотные характеристики (АЧХ)
жидкоструйных преобразователей с круговым щелевым соплом в виде соосных дисков.
Литература:
1. Сухарьков О.В. Гидроакустическая излучающая
рупорная антенна на основе
жидкоструйного преобразователя / О.В. Сухарьков // Акустичний вісник. – 2011. – 14, № 1. – С. 56 – 63.
2.
Сухарьков О.В. Передача
дискретной информации в гидроакустический канал связи с использованием жидкоструйных
преобразователей / О.В. Сухарьков // Цифрові технології. – 2011. – № 9. – С. 100 – 110.
3. Сухарьков О.В. Модель жидкоструйного
излучателя с круговым щелевым соплом в виде соосных дисков / О.В. Сухарьков //
Наукові праці ОНАЗ ім. О.С. Попова. – 2011. –
№2. – С. 107 – 113.
4. Сухарьков О.В. Энергетические характеристики затопленной кольцевой струйной
пластинки при наличии развитой кавитации / О.В. Сухарьков // Акустичний вісник. – 2010. – 13, № 2. – С. 45 – 52.
5. Перцев А.К. Динамика оболочек и
пластин / А.К. Перцев, Э.Г. Платонов. – Л.:
“Судостроение”, 1987. – 400 с.