Технические науки/4. Транспорт
Волошин А.И., к.т.н. Рылякин Е.Г.
Пензенский государственный университет архитектуры и строительства
КОНСТРУКЦИЯ И ПРИНЦИП
РАБОТЫ УСТРОЙСТВА
ДЛЯ УДАЛЕНИЯ ДОННЫХ ОТЛОЖЕНИЙ
Одной из важнейших проблем
топливозаправочного комплекса (ТЗК) является создание прогрессивного
ресурсосберегающего и технологичного оборудования для проведения технического
обслуживания оборудования ТЗК.
В связи с вышесказанным нами осуществлена
разработка устройства для удаления донных отложений из резервуаров для хранения
топливо-смазывающих материалов. Его преимуществами являются низкая себестоимость,
простота конструкции, высокая степень унификации по сравнению с аналогичными
конструкциями.
Механизированный
способ очистки резервуаров приводит к повышению качества очистки, интенсивности
процесса очистки, характеризуется незначительной степенью применения ручного
труда. Поэтому целесообразно разрабатывать устройства для очистки резервуаров
от донных отложений из этой группы гидродинамических машин для обслуживания
емкостей и резервуаров ТЗК.
Разрабатываемое
устройство позволит повысить производительность работ по обслуживанию емкостей
и резервуаров за счет возможности фиксации ствола с соплом на любом участке
донных отложений, а также возможности перестановки зачистного трубопровода в
любой люк резервуара.
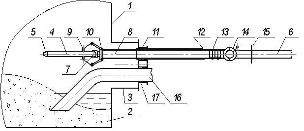
Предлагаемое
устройство представляет из себя следующее (рис.). Устройство монтируется на
резервуаре 1 с донными отложениями 2 на боковом люке 3 резервуара и включает:
ствол 4, сопло 5, напорный трубопровод 6, шарнир 7, трос 8, опору для троса 9,
кронштейн с направляющими роликами 10, сальниковое уплотнение 11 ввода
напорного трубопровода, уплотнение 12 выхода троса, опорные ролики 13, барабан
14 для управления углом поворота ствола, ручку управления 15 положением
напорного трубопровода, зачистной трубопровод 16, сальниковое уплотнение 17
зачистного трубопровода.

Рис. – Схема устройства для
удаления донных отложений из резервуаров:
1 – резервуар; 2 – отложения донные; 3 –
люк боковой; 4 – ствол; 5 – сопло;
6 – трубопровод напорный; 7 – шарнир; 8 – трос; 9 – опора; 10 – ролики
направляющие; 11 – уплотнение сальниковое; 12 – уплотнение выхода
троса; 13 – ролики опорные; 14 – барабан; 15 – ручка управления;
16 – трубопровод зачистной; 17 – уплотнение сальниковое
Устройство работает
следующим образом. Устройство собирается и монтируется на одном из нижних люков
3 резервуара 1 с донными отложениями 2, как показано на рисунке 3.8. В этот же
люк монтируется зачистной трубопровод 16 с возможностью забора жидкости с поверхности
днища резервуара. При необходимости устройство, включая зачистной трубопровод,
может переставляться на любой другой люк резервуара. В самом начале процесса
размыва донных отложений устройство размещается так, чтобы ствол 4 с соплом 5
был направлен в зону нахождения открытого конца зачистного трубопровода 16 в
резервуаре с донными отложениями 2. Положение ствола 4 в резервуаре 1
устанавливается с помощью органов управления устройства. Ручка управления 15
позволяет перемещать напорный трубопровод 6 вдоль оси внутрь или наружу
резервуара. При этом положение напорного трубопровода 6 контролируется по длине
скользящего участка в сальниковом уплотнении 11 ввода напорного трубопровода.
Напорный трубопровод 6 может поворачиваться вокруг продольной оси, такое
положение определяется состоянием ручки управления 15, которая имеет отметки
положения. Поворот сопла 4 вокруг шарнира 7 производится путем поворота
барабана 14 против часовой стрелки, ствол 4 с соплом 5 поворачивается вниз.
Угол поворота ствола 4 определяется по указателю на барабане 14.
После установки ствола
4 с соплом 5 в определенном положении в напорный трубопровод 6 подается
размывающая жидкость под давлением и струя размывающей жидкости начинает
размывать донные отложения. Зона размыва расширяется путем последовательного
изменения положения ствола 4. Для поддержания напорного трубопровода в нужном
положении используются подставные опоры по месту.
После размыва донных
отложений вокруг открытого конца зачистного трубопровода 16 начинается удаление
размытых и взвешенных моющей жидкостью донных отложений. При удалении этих
отложений периодически контролируется состав удаляемой смеси моющей жидкости и
донных отложений. При уменьшении взвеси донных отложений в смеси расширяется
зона размыва донных отложений. По мере расширения зоны размыва донных отложений
и удаления от люка, где установлен зачистной трубопровод 16, последний
переставляется в другой люк резервуара, который оказывается ближе к зоне
размыва донных отложений.
Таким образом,
предлагаемое устройство обеспечивает повышение надежности и эффективности
технологического процесса очистки резервуара от донных отложений при
минимальных затратах труда, средств и времени.