Технические науки/10. Горное дело
магістр з гірництва Косенко А.В., канд. техн. наук
Тарасютін В.М.
ДВНЗ «Криворізький національний університет»
ДОСЛІДЖЕННЯ ТА
УДОСКОНАЛЕННЯ ТЕХНОЛОГІЧНОГО
ПРОЦЕСУ ВІДБИВАННЯ МІЦНИХ РУД
Приведені результати
порівняння схем відбивання залізистих кварцитів в очисних камерах видобувних
блоків глибокими свердловинами і концентрованими зарядами із застосуванням
переносного та самохідного обладнання, яке здійснено на основі критерію питомих
грошових витрат на 1 т руди, що складаються з питомих витрат на проведення
бурових виробок, формування відрізних щілин, заряджання вибухових зарядів та
ліквідацію негабаритних фракцій кварцитів. За результатами техніко-економічного
порівняння доведена економічна ефективність запропонованої технології
відбивання залізистих кварцитів в камерах вертикальними шарами глибоких
свердловин, пробурених за допомогою самохідного високопродуктивного обладнання,
як найбільш раціональної і яка може бути використана підприємством у якості проектної.
Проблема та її зв'язок з науковими та практичними
завданнями. Діючі залізорудні підприємства Кривого Рогу ведуть
розробку багатих залізних руд в межах глибин 1200-1400 м, нинішня максимальна
здатність підйомних установок забезпечує транспортування руди на поверхню з
глибини 1600 м. Балансові запаси природно-багатих залізних руд до максимальної
глибини, при річній потужності видобутку 12-13 млн т, можуть забезпечити роботу
шахт тільки на 25-30 років.
Для розширення
сировинної бази і недопущення зменшення обсягів виробництва товарних руд
необхідне залучення до відпрацювання магнетитових кварцитів, які
характеризуються високою міцністю.
Аналіз досліджень та публікацій. В
роботах [1-6] показано, що на шахтах «Гігант», «Гвардійська», ім. Леніна і
«Первомайська» (Криворізький залізорудний басейн), у ході вивільнення підйомних можливостей після відпрацювання
природно-багатих залізних руд, пройшли широке випробування технології видобутку
магнетитових кварцитів в лежачому боці родовищ. Однак у зв’язку з тим що
собівартість видобутку магнетитових кварцитів перевищувала встановлену для них
на той час відпускну ціну їх розробка була економічно невигідною. Найбільш витратним
процесом в технології підземного видобутку магнетитових кварцитів являється
технологічний процес відбивання, доля якого становить 50-70% від загальних
витрат на видобуток по системі розробки.
В теперішній час
промисловий видобуток магнетитових кварцитів, як сировини для збагачувальних
фабрик ПАТ «ЦГЗК» та ПАТ «Північний ГЗК», здійснюється шахтою ім. Орджонікідзе
[7,8] із застосуванням поверхово-камерних систем розробки на базі використання
застарілого малопродуктивного переносного прохідницького, бурового та
двоставочного обладнання. Варіант системи розробки в даних умовах
характеризується складною конструкцією та значною трудомісткістю виконання
гірничопрохідницьких робіт та операцій по розбурюванню та відбиванні масиву.
Разом з тим для досягнення високої ефективності їх розробки є необхідним
прискорення зміни традиційних технологій видобутку на високопродуктивні сучасні
технології з раціональним поєднанням ефективних процесів очисного виймання.
Практика шахт Швеції, Фінляндії, Німеччини та США показує, що при застосуванні
на бурінні глибоких свердловин буровий верстат НКР 100 М і самохідної бурової
установки «Sіmва Н1352», собівартість буріння верстатом «Sіmва Н1352» на 15%
нижче, а продуктивність буріння в 4 рази вище [9].
Підземна розробка
магнетитових кварцитів у майбутньому технічно можлива на шахтах «Ювілейна»,
«Октябрська», ім. Фрунзе та ін., але слід зауважити, що основною особливістю
відпрацювання магнетитових кварцитів на горизонтах, які раніше експлуатувалися,
в умовах відсутності комунікацій, електровозної відкатки, є застосування
самохідного прохідницького, бурового і навантажувально-доставочного обладнання
[6].
Постановка задач.
Метою дослідження є підвищення ефективності подрібнення магнетитових кварцитів
в камерах видобувних блоків за рахунок використання раціонального
буро-вибухового комплексу. У зв'язку з цим виникає актуальна необхідність у
вирішенні низки науково-практичних завдань, а насамперед, таких як: дослідження
технологічної схеми відбивання магнетитових кварцитів в очисних камерах
вертикальними віялами глибоких свердловин на базі використання
високопродуктивного самохідного бурового обладнання; дослідження технологічної
схеми відбивання магнетитових кварцитів в очисних камерах вертикальними
концентрованими зарядами вибухових речовин; техніко-економічне обґрунтування
більш раціональної, для заданих умов, технології відбивання руди в очисних
камерах, експлуатаційних горизонтів, на прикладі шахти ім. Орджонікідзе.
Викладення матеріалу та результати. Методика дослідження включає аналітично-розрахункові методи, конструювання
технологічних схем, методи техніко-економічного аналізу.
Для відбивання
міцних магнетитових кварцитів в умовах шахти ім. Орджонікідзе розроблені
технологічні схеми поверхово-камерної системи розробки, для визначення основних
параметрів процесу відбивання руди вертикальними віялами глибоких свердловин та
вертикальними концентрованими зарядами на вертикальний компенсаційний простір
із застосуванням самохідної бурової та прохідницької техніки (рис. 1 і рис. 2
відповідно).
Ініціювання
свердловинних зарядів рекомендовано зустрічне та комбіноване за допомогою
передових системам «Нонель» або «Прима-Ера-Т»,
так як при цьому забезпечується якість подрібнення руди при її
відбиванні [10].


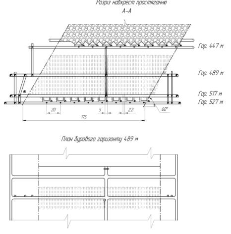
Рис.
1 Технологічна схема відбивання запасів руди очисних камер вертикальними
віялами глибоких свердловин на вертикальний компенсаційний простір, на базі
застосування самохідного бурового та прохідницького обладнання при
поверхово-камерній системі розробки


Рис. 2 Технологічна схема відбивання запасів руди, очисних камер,
вертикальними концентрованими зарядами вибухових речовин на вертикальний
компенсаційний простір, на базі застосування традиційних переносних засобів
механізації при поверхово-камерній системі розробки.
При відбиванні руди
вертикальними концентрованими зарядами, для зменшення сейсмічного ефекту на
цілики, щоб не застосовувати екранування хвиль [11], так як це супроводжується
значними затратами, пропонується для формування
зарядів вибухових речовин застосувати підняттєві діаметром 0,6 м, які
проходяться станками ROBBINS 34RН С [12].
Основні параметри
технологічного процесу відбивання руди віялами глибоких свердловин та
вертикальними концентрованими зарядами при застосуванні різних засобів
механізації приведені в табл. 1. Дані параметри розраховувались по методикам,
які приведені в літературі [13].
Таблиця
1 – Основні параметри технологічного процесу відбивання руди.
|
Параметр |
Показник |
||
|
В1 |
В2 |
В3 |
|
|
Запас руди в очисній камері, що
відбивається, т |
956505 |
956505 |
922745 |
|
Запас руди відрізної щілини, т |
28250 |
28250 |
61892 |
|
Міцність руди |
18 |
18 |
18 |
|
Показник підриваємості рудного масиву |
21,55 |
21,55 |
- |
|
Критична швидкість крихкого
руйнування, м/с |
- |
- |
1,2 |
|
Діаметр свердловини, підняттєвого під
формування ВКЗ, м |
0,105 |
0,102 |
0,6 |
|
Висота заряду вибухової речовини, м |
- |
- |
12 |
|
Середній діаметр подрібненої руди,
який утворюється, м |
0,2 |
0,2 |
0,2 |
|
Значення коефіцієнта зближення
свердловинних зарядів |
0,98 |
0,98 |
- |
|
Коефіцієнт енергоємності відбивання |
1,27 |
1,27 |
- |
|
Значення лінії найменшого опору, м |
2,2 |
2,2 |
19,5 |
|
Відстань між кінцями свердловин у
віялі, зарядами ВКЗ по горизонталі, м |
2,2 |
2,2 |
18 |
|
Відстань між зарядами по вертикалі, м |
- |
- |
18,2 |
|
Питомі витрати ВР на відбивання, кг/т |
|
|
|
|
при утворенні відрізної щілини |
1,208 |
1,208 |
0,982 |
|
при відбиванні камерного запасу, |
0,787 |
0,787 |
0,41 |
В1 – традиційна
технологія відбивання руди вертикальними віялами свердловин з використанням
переносного обладнання; В2 – технологія відбивання руди вертикальними віялами
свердловин на базі використання самохідного бурового (буровий станок Sіmва
Н1352) та прохідницького обладнання (бурильна шахтна установка Boomer 252 і
навантажувально-доставочна машина EST – 2D); В3 – технологія відбивання руди за допомогою
вертикальних концентрованих зарядів на базі використання самохідного бурового
(комбайн для проходки підняттєвих ROBBINS 34RН С)
та прохідницького обладнання (бурильна шахтна установка
Boomer 252 і навантажувально-доставочна машина EST – 2D).
Із таблиць видно, що
основні параметри технологічного процесу відбивання руди з використанням
традиційного переносного та самохідного обладнання мають однакові значення. Але
при використанні самохідного бурового і прохідницького обладнання покращують
санітарно-гігієнічні умови праці робітника та підвищується у рази
продуктивність праці при виконанні технологічного процесу відбивання.
В результаті
порівняння технологій були отримані наступні техніко-економічні показники по
варіантам (табл. 2).
Таблиця 2 –
Результати техніко-економічного розрахунку варіантів технологічних схем
відбивання руди
|
Статті витрат |
Показник |
||
|
В1 |
В2 |
В3 |
|
|
Загальні витрати на відбивання руди,
грн |
25422805,65 |
15053102,3 |
16324895,37 |
|
Питомі витрати на проходку виробок,
грн/т |
|
|
|
|
а) горизонтальних |
3,71 |
4,11 |
6,92 |
|
б) вертикальних |
1,09 |
0,5 |
5,12 |
|
Питомі витрати на заробітну платню
робітників процесу доставки, грн/т |
0,49 |
0,04 |
0,01 |
|
Питомі витрати на амортизацію
бурового обладнання, грн/т |
0,23 |
0,47 |
0,05 |
|
Питомі витрати на бурові коронки,
грн/т |
0,94 |
0,35 |
0,04 |
|
Питомі витрати на вибухову речовину,
грн/т |
6,35 |
6,35 |
3,57 |
|
Питомі витрати на електродетонатори,
грн/т |
0,06 |
0,06 |
0,01 |
|
Питомі витрати на детонаційний шнур,
грн/т |
0,33 |
0,33 |
0,26 |
|
Питомі витрати на електроенергію,
грн/т |
0,01 |
0,03 |
0,01 |
|
Питомі витрати на стиснене повітря,
грн/т |
12,54 |
3,05 |
0,60 |
|
Собівартість відбивання 1 т руди, грн/т |
25,82 |
15,29 |
16,58 |
|
100 |
59,2 |
64,2 |
|
Із таблиці видно, що
найбільш економічно вигідним являється варіант технологічної схеми відбивання
руди вертикальними віялами свердловин на базі використання самохідного бурового
та прохідницького обладнання, так як на 40,8% має нижчу собівартість, ніж традиційна
і на 7,8% ніж з використанням вертикальних концентрованих зарядів вибухових
речовин.
В ході подальших
досліджень необхідно уточнити формули для розрахунку параметрів відбивання
вертикальними концентрованими зарядами, вказавши діапазони діаметрів зарядів та
їх висоти, для яких вони є актуальними. Так як при збільшенні діаметра від 0,4
м до 1,8 м і висоти заряду від 1 м до 15 м параметри відбивання змінюються не
суттєво (рис. 3).

а

б
Рис. 3 Графіки залежності відстані між
зарядами у ряді, відстані від центру заряду до оголеної поверхні ті відстані
між зарядами по вертикалі від: а –
довжини заряду (діаметр заряду – 1,6 м; міцність руди – 18); б – діаметру
заряду (довжина заряду – 12 м; міцність руди – 18).
Висновки. Порівняно з традиційною
технологією, яка аналогічна застосованій в реальних виробничих умовах,
запропоновані технологічні схеми відбивання вертикальними віялами глибоких
свердловин і вертикальними концентрованими зарядами на вертикальний
компенсаційний простір мають нижчі затрати (на 40,8 і 35,8% відповідно).
Величина ефективності в обох схемах відрізняється на 7-8%, тому їх можна
вважати рівноцінними. Але з огляду на технологічність, умови збереження ціликів
та якість подрібнення рудного масиву камерного запасу перевага надається технологічній схемі відбивання вертикальними
віялами глибоких свердловин на вертикальний компенсаційний простір на базі
застосування самохідного бурового та прохідницького обладнання.
Запровадження в
практику роботи шахт Кривбасу рекомендованої технології підземного видобутку
магнетитових кварцитів дозволить підвищити продуктивність праці робітника по
системі розробки в 1,5-1,7 рази, зменшити витрати ВР на вторинне подрібнення
руди в 1,2-1,3 рази і знизити собівартість видобутку 1 т магнетитових кварцитів
у 1,5-1,75 рази.
Література:
1. Малахов Г.М.
Подземная разработка магнетитовых кварцитов в Криворожском бассейне [Текст] / Г.М.Малахов, А.С.Колодезнев, Л.И. Сиволобов и др. – К.: Наукова думка,
1983. – 148 с.
2. Малахов Г.М.
Циклично-поточная технология подземной разработки магнетитовых кварцитов
[Текст] / Г.М.Малахов, И.Н. Малахов, Л.И. Сиволобов. – К.: Наукова думка, 1986.
– 128 с.
3. Караманиц Ф.И.
Перспектива и технология отработки магнетитовых кварцитов в Кривбассе
/Ф.И.Караманиц, В.С.Ричко, Ю.А.Плужник [и др.] // Разработка рудных
месторождений: науч.-техн. сб. КТУ. – 2008. – Вып. 92. – С. 46-50.
4. Капленко Ю.П.
Підвищення ефективності підземного видобутку магнетитових кварцитів
/Ю.П.Капленко, М.Б.Федько, С.В.Бережной, В.В.Кузнецов//Вісник КТУ. – 2003. –
Вип. 2 – С. 46-48.
5. Рымарчук Б.И. О
перспективе перехода шахт Криворожского бассейна к подземной добыче
магнетитовых кварцитов / Б.И. Рымарчук, А.Е.Грицина, Б.Т.Драгун //
Вісник КТУ. – 2006. – Вип. 13. – С. 20-25.
6. Логачев Е.И.
Совершенствование добычи магнетитовых кварцитов подземным способом с
применением самоходного погрузочно-доставочного оборудования /Е.И. Логачев,
Н.И. Ступник, А.В. Моргун, Н.В. Перетятько // Разработка рудных месторождений:
науч.-техн. сб. КТУ. – 2008. – Вып. 92. – С. 50-55.
7. Вскрытие и
отработка запасов залежи «Южная-Магнетитовая» в этажах 527/447 и 607/527 м
шахты им. Орджоникидзе. Проект. Том 1, «Кривбасспроект». - Кривой Рог. - 2009.
8. Проект нарезных и
очистных работ в блоке (+22) ÷
(+34) оси в этаже 527-447 м шахты им. Орджоникидзе. – Кривой Рог. – 2011.
9. Опыт примепнения
импортного горно-шахтного оборудования и взрывчатых материалов при разработке
Южно-Белозерского месторождепния // Швидько П.В., Усатый В.В., Маслов В.А. и
др. / Металлургическая и горнорудная промышленность – Д.: Укрметаллургинформ.
– 2001 – №4. – С. 67-70.
10. Выбор
рациональных способов инициирования скважинных зарядов / Э. И. Ефремов, Б.Н.
Кутузов, П. В. Швыдько и др. // Горный журнал. – 2000 – №8. – С. 25-28.
11. Рымарчук Б.И.
Параметры отбойки залежей крепких руд и магнетитовых кварцитов
крупномасштабными зарядами ВВ / Римарчук Б.И. // Металлургическая и горнорудная
промышленность – Д.: Укрметаллургинформ. –
2006. – № 2. – С. 72-75.
12. Хоменко О.Е. Горное
оборудование для подземной разработки рудных месторождений [Текст]: справочное пособие /О.Е. Хоменко, М.Н.
Кононенко, Д.В. Мальцев – Д.: НГУ, 2011 – 448 с.
13. Мартинов В.К.
Розрахунки основних виробничих операцій, процесів та систем розробки рудних
родовищ / В.К. Мартинов, М.Б. Федько – Кривий Ріг: ВЦ КТУ, 2008. – 436 с.