Ганзюк А.Л., Шаршонь М.Б., Кравчук О.В.
Різні види вогнепальної зброї, специфіка конструкції, форми, розмірів та
інших характеристик потребують глибоких спеціальних знань для її
криміналістичної оцінки, що у багатьох випадках потребує проведення
судово-балістичних експертиз, які призначені для розв’язання широкого кола
завдань ідентифікаційного, діагностичного та ситуаційного характеру, пов’язаних
з дослідженням вогнепальної зброї, боєприпасів [1].
Для цього існує багато конструкцій пристроїв для
кулеуловлюваня з метою проведення балістичних
досліджень при створені баз гільз та куль і експериментальних відстрілів зброї,
а також при виконанні балістичних експертиз з метою отримання
високоякісних слідів каналу ствола зброї на кулях для їх подальшої
ідентифікації.
Розглянемо відомі конструкції кулеуловлювачів відповідно до їх побудови та виконання
поставлених задач проведення експертизи.
Для затримки куль або
інших боєприпасів використовуються кулеуловлювачі, у яких для цього послідовно розташовані
стінка із суцільної дерев'яної дошки, (ДСП, фанера ін.), короб з щебенем,
металеві щити для відбиття куль. В цьому випадку під час гальмування куля
значно деформується і розривається на частини. Також відома конструкція кулеуловлювача,
в якому для затримки куль або інших боєприпасів використовуються матеріали, що
розміщено в окремому об'ємі, обмеженому вертикальною підпірною стіною, перед якою
розташований мішеневий вал з піску, а під ним дренажні споруди для локалізації
і відведення забрудненої води. В цьому випадку під час гальмування куля зовсім
не деформується, залишається цілою. Основним недоліком кулеуловлювача є
громіздкість конструкції і забруднення навколишнього середовища свинцем і його сполуками
[2]. Відома конструкція
мобільного кулеуловлювача, в якому для затримки куль використовуються вертикально
підвішені металеві щити, розташовані під кутом один до одного. Таким чином створюється
необхідний напрямок для проходження і гальмування куль, по якому вони,
відбиваючись від одного щита до другого, уповільнюють свій рух і попадають в
кулезбірник. Її основним недоліком є труднощі повного видалення куль і
осколків, на які розбиваються кулі [3].
Конструкція пристрою для проведення випробувань зброї [4], а саме
для уловлювання куль і дробових зарядів при перевірці функціонування
стрілецької зброї і контролі його розрядження представлена на рис.1. Кулеуловлювач
містить елементи для відхилення кулі і камеру для кулеуловлювання у вигляді
вигнутої труби 1, з отворами відходу порохових газів 2, гальмівну пластину 3,
та короб для уловлення куль і дробових зарядів 4, ящик затримки звука для
гасіння звуку пострілу 5, волокнистого матеріалу 6, гумової
трубки 7 для введення ствола стрілецької зброї. Недоліком такої конструкції є труднощі видалення куль і
осколків.
|
|
|
|
Рис.1 – Конструкція пристрою для проведення випробувань
зброї |
Рис.2 – Конструкція кулеуловлювача |
Відома конструкція кулеуловлювача (рис.2) [5],
що містить циліндричний корпус 1 в якому виконані випускні отвори 3 і
гальмівний блок з волокнистого матеріалу 4, який
поглинає кінетичну енергію кулі, у корпусі встановлено глушник шуму
впуску, виконаний у вигляді послідовності
суміжних камер із окремих кільцевих діафрагм 2. Недоліками даного кулеуловлювача є: тривалий період
часу і складність визначення місцезнаходження кулі у волокнистому матеріалі,
ліквідації кульового каналу і подальшого складання секцій.
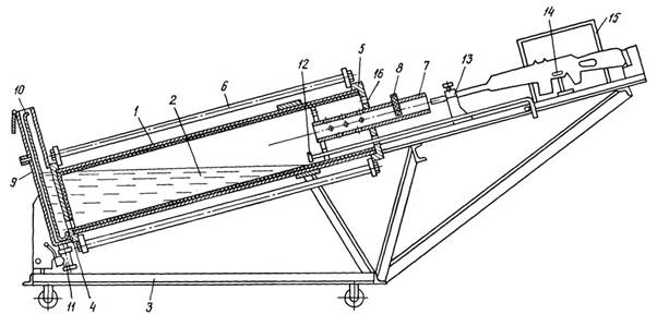
Відомий пристрій для кулеуловлювання [6], що містить циліндричний корпус 1, заповнений водою 2,
яка поглинає кінетичну енергію кулі, встановлений під кутом 20...300
до підлоги, корпус покритий зсередини гумою, на верхньому фланці 5 є ряд
отворів 16 і циліндричний гасник 7 з радіально розташованими отворами, що
дозволяє зменшити явище гідравлічного удару.

Рис.3 – Конструкція кулеуловлювача
До вад відомого пристрою відноситься те, що
конструктивні розміри кулеуловлювача та об’єм рідини не дають можливість
достатньо поглинути кінетичну енергію кулі, що призводить до значної її
деформації та для її потрапляння в кошик-кулезбірник 10 додатково застосовують скребок
с рукояттю.
З метою ефективного виконання досліджень
зброї, проведення експериментального відстрілу зброї в Хмельницькому НДЕКЦ МВС
України та створення відповідного обладнання був проведений аналіз роботи
підрозділу в цьому напрямку. В результаті аналізу діяльності встановлено, що з
кожним роком відбувається збільшення кількості проведених балістичних
досліджень та експериментальних відстрілів зброї. Окремо слід зазначити значне
збільшення проведення експериментальних відстрілів зброї: якщо раніше
відстрілювалась тільки нарізна мисливська вогнепальна зброя (кількість за рік
не перевищувала 100 одиниць), то на даний час також проводиться відстріл
газової зброї та пристроїв для відстрілу набоїв, споряджених снарядами
несмертельної дії і кількість проведених відстрілів зброї перевищує 3000
одиниць на рік. Із кулеуловлювачів в НДЕКЦ був наявний лише один кевларовий,
тому стало зрозуміло, що необхідно провести дообладнання кімнати відстрілу
додатковим кулеуловлювачем, завдяки якому можна було б справитись з існуючим
навантаженням.
Проведеним вивченням
довідкової літератури та існуючих конструкцій кулеуловлювачів був обраний
водяний кулеуловлювач, завдяки простоті конструкції та невибагливості у
подальшій експлуатації. Для визначення конструкції необхідного кулеуловлювача враховувались розміри
кімнати відстрілу, її розташування, наявність та розташування необхідних
комунікацій (водопостачання та водовідведення).
В зв'язку із наведеними
обставинами та відсутністю кулевловлювача, що відповідає наявним критеріям було
прийняте рішення про конструювання та виготовлення кулеуловлювача, що
відповідає сучасним потребам. При створені конструкції була поставлена задача забезпечення
ефективного гасіння швидкості кулі у воді та зниження
трудомісткості витягання кулі для її подальшої ідентифікації, підвищення
вірогідності неруйнівного витягання кулі (шляхом уловлювання
куль без їх деформації), а також скорочення часу пошуку куль в
гальмівному блоці кулеуловлювача.
Поставлена задача вирішена наступним чином: кулеуловлювач містить металевий зварний корпус та бак, заповнений
водою для поглинання кінетичної енергії кулі, патрубок для відстрілювання
набоїв встановлено на передній стінці бака під кутом 200 до підлоги,
а на задній стінці бака знизу у дна розташовано гумову пластину для гасіння залишкової енергії кулі, а конструктивні
параметри кулеуловлювача для забезпечення ефективного гасіння швидкості кулі у воді
вибирають з умови:
![]()
де А – ширина бака, мм;
Б – довжина бака, 2490 мм;
С –
висота бака у нижчий точці, мм;
k – коефіцієнт пропорційності, k = 0,317;
k1 – коефіцієнт пропорційності, k = 0,69.
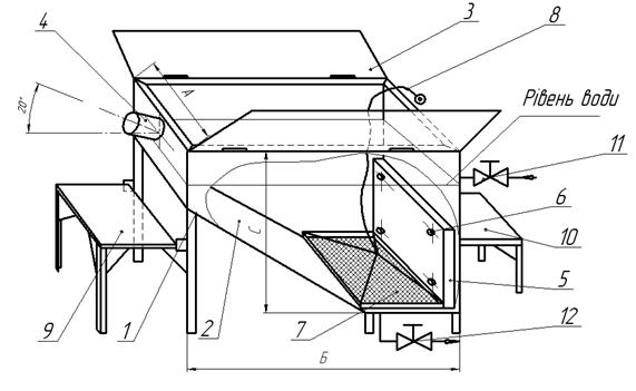
Конструкція кулеуловлювача показана на рис.4. Вона складається із основи 1, на якій встановлено металевий
зварний бак 2 із скосом днища, який закривається кришками 3, передня
стінка містить патрубок для відстрілу з вхідним отвором 4, розташованим під кутом 200 до підлоги, задня стінка бака
містить гумову пластину 5, закріплену болтами 6. У нижній частині бака
встановлено сітчастий лоток 7, який з’єднано із шнуром 8. Для зручності
проведення відстрілювання набою спереду до основи 1 приєднано підставку 9, а
для зручності вилучення стріляних куль с заду основи 1 приєднано підставку 10. Для
заповнення баку водою встановлено кран 11, а для зливу води встановлено кран
12.
Працює устаткування наступним чином: вода крізь кран 11 заливається у бак
2, заповнюючи його до позначеного рівня. Кришки 3 закривають. Проводять
відстрілювання набою. Завдяки гасінню швидкості кулі у
воді та залишковому удару по гумовій пластині вона опиняється у сітчастому лотку 7 який після розкриття кришок 3
вилучається разом з кулею за допомогою шнура 8. Після проведення необхідної
кількості відстрілювань вода зливається за допомого крану 12.
З метою перевірки працездатності виготовленого кулеуловлювача (рис. 5) були
проведені експериментальні постріли із нарізної вогнепальної зброї та пристроїв
для відстрілу набоїв, споряджених снарядами
несмертельної дії.

Рис. 4 – Конструкція водяного кулеуловлювача

Рис. 5 – Загальний вигляд водяного
кулеуловлювача
У результаті перевірки встановлено, що
експериментальні постріли відбувались безпечно, кулі ефективно гальмувались.
Стріляні кулі, за рахунок гумової пластини та похилого дна кулеуловлювача
опинялись у лотку, наявному в нижній задній частині, звідки вилучались.
В процесі проведення експериментальних відстрілів зброї з використанням
водного кулеуловлювача встановлено його високу ефективність, простоту
експлуатації та обслуговування, не потребує додаткового обладнання.
Висновки
Таким чином, конструкція
запропонованого кулеуловлювача, дозволяє
ефективно гасити швидкість кулі без її пошкодження, а також
скоротити час пошуку куль в гальмівному блоці кулеуловлювача.
Підсумовуючи викладене вище, слід зазначити, що впровадження у лабораторії
з дослідження зброї запропонованого
кулеуловлювача сприятиме суттєвому покращенню роботи експертів, підвищенню
їх особистої безпеки, найповнішому та найякіснішому дослідженню об’єктів (дозволить
на практиці підтвердити або спростувати припущення та версії).
Література
1. Методика встановлення належності об’єкта до вогнепальної зброї та його
придатність до стрільби (проведення пострілів) / Гамов Д.Ю.// ДНДЕКЦ МВС
України; ДЕЗП Мінюсту України. –
К.:, 2012. – 34 с.
2. Патент США №5255924 F41J1/14, 1993 р.
3. Патент Німеччини №3I31228 F41J1/12, 1996 p.
4. Патент RU №2166128 МПК F41J1/12 Пулеуловитель / Петренко Е.С., Лившиц
А.Г. (RU). – заявл. 25.01.2000; опубл. 12.03.2001 г.
5. Патент RU №2263870 МПК F41J1/12 Пулеулавливатель з
системой защитных диафрагм.
6. Патент RU 2235964, МПК F41J1/12.
Пулеуловитель / Р.Р. Хуснутдинов (RU). – заявл. 06.02.2003;
опубл. 10.09.2004 г.