Технические науки/3.Отраслевое машиностроение.
К.т.н.
Землянушнова Н.Ю., студент Землянушнов Н.А.,
инженер
Тебенко Ю.М., к.э.н. Доронина Н.П.
Ставропольский
государственный аграрный университет, Россия
УСОВЕРШЕНСТВОВАНИЕ УСТРОЙСТВА ДЛЯ КОНТАКТНОГО ЗАНЕВОЛИВАНИЯ ПРУЖИН КЛАПАНА
ДВИГАТЕЛЕЙ ВАЗ
Повышение качества машин является одной из важнейших
проблем, приобретающей особую актуальность в связи с увеличением мощности,
быстроходности, а также ужесточением температурно-силовых режимов эксплуатации
техники. Работоспособность и стабильные эксплуатационные характеристики
большинства машин лимитируются ресурсом пружин, т.е. их релаксационной
стойкостью и стабильностью силовых характеристик.
Одним из способов
повышения ресурса пружин является контактное заневоливание [1]. Сотрудниками
ООО НПО «ЗЕМВА» в рамках выполнения программы СТАРТ по теме «Исследование
применения контактного заневоливания при восстановлении пружин» [2] разработано
устройство [3] для осуществления контактного заневоливания (рис. 1).
Однако недостатком назваванного устройства является
необходимость установки и снятия верхнего вкладыша, а также установки и извлечения
пружин из устройства вручную, что непроизводительно и препятствует механизации
процесса заневоливания в условиях массового производства.
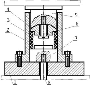
На рисунке 2 представлена схема усовершенствованного устройства, состоящего
из установленного на плите 1 стакана 2, в котором размещены испытуемая пружина
3, верхний вкладыш 4, связанный с пуансоном 5 ступенчатым винтом 6, и нижний
вкладыш 7, связанный штоком 8 с нижним нцилиндром пресса. При этом торцы сжатой
пружины контактируют с кольцевыми проточками на торцах вкладышей 4 и 7,
упираясь торцами витков в

Рисунок 1 – Приспособление для контактного
заневоливания пружин

Рисунок
2 – Устройство для механизации контактного заневоливания пружин
них, а витки контактируют с внутренней поверхностью
стакана 2. Возможность механизации достигается за счёт применения новых элементов
и их новых связей устройства для контактного заневоливания пружин, а именно:
устройство содержит верхний и нижний вкладыши, стакан для установки в нём
вкладышей и между ними испытуемой пружины и пуансон с шаровой поверхностью,
контактирующей с шаровой поверхностью верхнего вкладыша, при этом нижний
вкладыш установлен с возможностью вращения относительно оси стакана, а верхний
— с возможностью вращения и перемещения вдоль оси стакана и отклонения оси от
оси пуансона, а вкладыши выполнены с кольцевыми проточками на торцах диаметром,
соответствующим внутреннему диаметру
пружины, и глубиной не менее высоты витка пружины, стакан выполнен с внутренним
диаметром в пределах от диаметра сжатой пружины до диаметра навитой пружины,
отличающееся тем, что нижний вкладыш связан штоком с нижним цилиндром пресса, а
верхний вкладыш связан с пуансоном при помощи ступенчатого винта для
осуществления механизации удаления пружины из устройства.
Работает
устройство [3] следующим образом. Устройство устанавливают на неподвижный стол
пресса, а пуансон 5 закрепляют к верхней подвижной плите пресса. В стакан 2
вставляют испытуемую пружину 3 таким образом, чтобы торцы пружины
контактировали с кольцевыми проточками торцов вкладышей 4 и 7. Затем пуансон 5
посредством движения пресса опускают, отчего пружина 3, сжимаясь, увеличивает
свой наружный диаметр до тех пор, пока все её витки не придут в непрерывный
контакт с внутренней поверхностью стакана 2. Благодаря контакту торцов пружины
с кольцевыми проточками торцов вкладышей и контакту витков пружины с внутренней
поверхностью стакана сжатая пружина займёт правильную геометрическую форму.
Благодаря наличию шаровой поверхности на пуансоне 5 и верхнем вкладыше 4 усилие
пресса равномерно распределится по диаметру сжатой пружины. После требуемой выдержки под нагрузкой
величиной 10…300F3 (F3 - сила сжатия
пружины до соприкосновения витков) пуансон 5 с вкладышем 4 поднимают,
освобождая пружину 3. Движением нижнего цилиндра пресса посредством штока 8 и
нижнего вкладыша 7 пружину 3 вытесняют из стакана 2, которую снимают или сталкивают
с нижнего вкладыша 7 применяемыми при штамповке известными способами и
устройствами и направляют на дальнейшую обработку.
Вывод. Преимущество усовершенствованного устройства относительно прототипа
заключается в осуществлении механизации операций установки на пружину и снятия
с неё верхнего вкладыша, в обеспечении возможности механизации операций
установки пружины в стакан и удаления её из стакана известными при штамповке
устройствами, что ликвидирует ручной труд и повышает производительность процесса
заневоливания пружины.
Литература:
1. Землянушнова, Н. Ю. Повышение качества пружин. Монография /
Н. Ю. Землянушнова, Ю. М. Тебенко. ― Ставрополь: СевКавГТУ, 2001. ―
92.
2. Исследование применения контактного заневоливания при
восстановлении пружин. Программа СТАРТ 10 : отчет о НИР / ООО НПО «ЗЕМВА» ;
рук. Землянушнова Н.Ю.; исполн. : Тебенко Ю.М., Проциков Б.П., Землянушнов
Н.А., Фадеев В.В., Доронина Н.П. Ставрополь, 2011. 334 с. № ГР 01201055083.
Инв. № 02201157170.
3.
Патент RU 2393042 С1 : МПК B21F 35/00, F16F 1/02. Устройство для контактного заневоливания
пружин. Тебенко Ю. М., Землянушнова Н. Ю., Землянушнов Н.А. ― №
2009119496/02; заявл. 22.05.2009; опубл. 27.06.2010. Бюл. 18. ― 4 с.
4.
Заявка № 201207298/02. Устройство для контактного заневоливания пружин /
Тебенко Ю.М., Землянушнова Н. Ю., Землянушнов Н.А. ― Заявлено 28.02.2012.