Нгуен З. Т., Нгуен Т. Д.
Ростовский
государственный строительный университет, Россия.
Магнитно-импульсная
обработка-способ повышения долговечности бурового инструмента.
Рост объемов
строительства требует совершенствования строительного оборудования.
Эффективность бурового оборудования во многом зависит от качества бурового
инструмента. В связи с этим рассмотрены современные виды бурового инструмента и
его классификация. Приведены конструкции, технические характеристики и области
применения для каждого
вида.
В качестве способов, повышающих
долговечность бурового инструмента рекомендуется использование
Магнитно-импульсной обработки.
Задача
повышения стойкости режущего инструмента приобретает все большее значение в
связи с увеличение механических, тепловых и других видов воздействий на него. Самым простым и оперативным способом
упрочнения изделий является магнитно-импульсная обработка (МИО). Сущность МИО
заключается в избирательной концентрации материалом изделия электромагнитной
энергии внешнего магнитного потока. При помощи МИО можно устранить 70…95%
концентраций внутренних, поверхностных и монтажных напряжений и повысить
надежность и ресурс работы механизмов не менее чем на 30-50%. Результаты
упрочнения контролируются по изменению интегральных магнитных характеристик
изделия – магнитной проницаемости, магнитного сопротивления, спектра магнитного
рассеивания и др.
Схема установки МИО
(Рис.1) работает следующим образом. Включают силовой блок 1 (питание) установки и помещают в
рабочую полость соленоида 8 деталь (инструмент) 7. Затем, нажимая кнопку
"Пуск", включают блок управления 2. Материал детали, находясь в
полости соленоида, вследствие взаимной индукции влияет на магнитное поле
установки. Датчики устройства 5 анализируют параметры и свойства материала
детали. Вся полученная информация поступает в мини-компьютер 3 блока управления 2, который составляет программу МИО. После
этого автоматическое размагничивающее устройство б через преобразователь и устройство 5 включает в работу
электрическую схему силовой части установки. Деталь обрабатывается импульсным
магнитным полем заданными напряженностью, длительностью, полярностью,
амплитудой, формой импульса и т.п. После МИО упрочненная деталь автоматически
извлекается из полости электромагнита, а установка отключается.

Рис.1: Функциональная
схема установок для МИО инструмента, деталей машин и сборочных единиц (серии
УМОИ, "Импульс", БУР и т.п.):
1 - силовой блок; 2 - блок управления; 3 - мини-компьютер управляющего типа для оптимизации
режима МИО; 4 - электронный блок усиления и
преобразователь; 5- устройство для контроля свойств материала; 6 -
размагничивающее устройство; 7 -инструмент (деталь); 8 -соленоид
цилиндрического типа
В зависимости от производительности,
потребляемой энергии, условий работы и назначения МИО определяются схемные и
конструктивные решения отдельных комплектующих элементов и установки в целом .
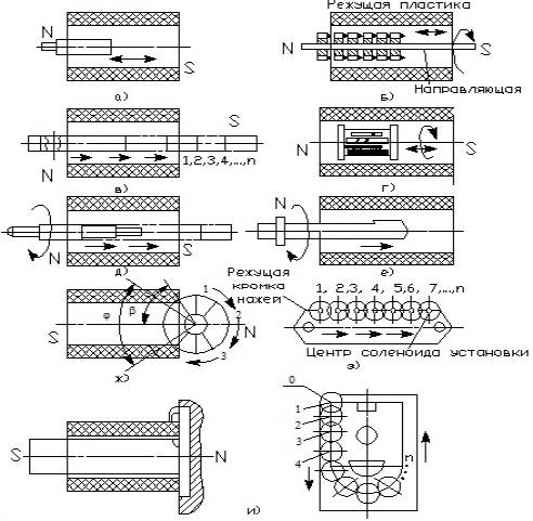
Магнитно-импульсная
обработка производится по следующим схемам Рис.2

Схемы магнитной обработки инструмента переносными
соленоидами установок "Импульс - Универсал" и УМОИ-70:
Предлагаемая технология МИО применима для упрочнения любого режущего
инструмента очистных и проходческих комбайнов, струговых установок, буровых
установок (резцы, коронки, шарошечные долота и т.д.), оснащенных пластинами
твердого сплава, естественными или искусственными алмазами, цельностального
инструмента.
1.Преображенский А.А., Бишард Е.Г. магнитные материалы и элементы :
учебник для студ. вузов по . "полупроводник и диэлектрики"-3-е изд.,
перераб. и доп. М.:Высш. шк., 1986-352 с.:
2.Справочник по магнитно-импульсной обработке металлов. Белый И.В., Фертик С.М. Хименко Л.Г. Харьков издательское
объединение " Вища
школа", 1977, 168 с.