Доцент, к.т.н. Шмаков Б.М.
Автомобильно-дорожный
институт Донецкого национального технического университета, Горловка
РАЗРАБОТКА НОВОГО СПОСОБА СОЕДИНЕНИЯ ПОРШНЯ СО ШТОКОМ И УСТРОЙСТВО ДЛЯ
ЕГО ОСУЩЕСТВЛЕНИЯ
Существующие конструкции соединения поршня
со штоком в гидравлических цилиндрах обладают существенными недостатками,
которые заключаются в том, что поршень закрепляется на штоке неподвижно и
трение между наружными поверхностями поршня и внутренней поверхностью цилиндра
осуществляется не по всей поверхности поршня. Это приводит к возникновению
больших нагрузок и, как следствие, к интенсивному износу поршня, что приводит к
выходу из строя гидравлических цилиндров в целом. Кроме того, существующие
конструкции металлоёмки и трудоемки в изготовлении.
Сущность новых технических решений
заключается в следующем.
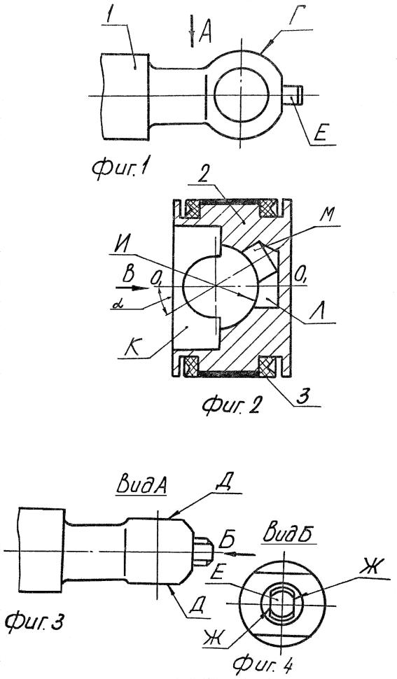
На фиг. 1 изображен шток; на фиг.2 -
поршень; на фиг.3 - вид А на фиг. 1;
на фиг. 4 - вид Б на фиг.3; на фиг.5 - вид В
на фиг. 2; на фиг.6 - первый этап сборки; на фиг.7 - второй этап сборки; на
фиг.8 - третий этап сборки; на фиг.9 - сечение Г-Г на фиг.8; на фиг. 10 - сечение Д-Д на фиг.8.
Устройство для реализации предлагаемого
способа содержит шток 1, поршень 2 с уплотнениями 3 (фиг. 7 и 8).
Шток 1 имеет на конце шаровую поверхность Г (фиг.1), усеченную двумя лысками Д (фиг.3) и снабженную шипом Е (цилиндрический выступ с двумя лыскамн
Ж) (фиг.4).
Поршень 2 имеет шаровую поверхность И, вскрытую пазом К, и паз Л, соединенный с
отверстием М, выполненным под углом а
к продольной оси О1−О1 поршня 2 (фиг. 2).
Способ соединения поршня 2 со штоком 1
реализуется в три этапа.
Первый этап заключается в том, что шток 1
устанавливают под острым углом а к продольной оси О1−О1 поршня 2 и вводят в поршень 2
через паз К до получения контакта
шаровых поверхностей Г и И. При этом шип Е входит в отверстие М
(фиг.6). Конкретная величина острого угла
определяется конструктивным путем и зависит от сопрягаемых
диаметров штока и поршня.
При выполнении второго этапа соединения
шток 1 вращают вокруг оси О2−О2
на угол 90º (фиг.7). Отклонение от номинальной величины угла 90º
в большую или меньшую сторону зависит от величины зазора между шипом Е и пазом Л, что определяется конструктивным путем и расчетом конструкции на
прочность.
Третий этап соединения состоит в том, что
шток 1 и поршень 2 поворачивают один относительно другого на угол а до
совмещения их продольных осей (О1−О1
и О2−О2)
с общей продольной осью О−О
(фиг.8). При этом шип Е входит с
зазором в паз Л (фиг.10).
В этом положении поршень, надежно 2,
зафиксирован на штоке 1 от осевого перемещения, так как части сферы Н препятствуют такому перемещению
(фиг.9). От вращения поршня 2 относительно штока 1 предохраняет шип Е с двумя
лысками Ж, заключенный в пазу Л
(фиг.10).
При демонтаже соединения все этапы повторяются в обратном порядке.


