УДК 621.182
ВОССТАНОВЛЕНИЕ И УСИЛЕНИЕ ГИДРОИЗОЛЯЦИИ ПОДЗЕМНЫХ СООРУЖЕНИЙ
НА ТЕПЛОВЫХ ЭЛЕКТРОСТАНЦИЯХ
Тертица С.В., Суйменова М.К.
Каспийский государственный университет технологий и инжиниринга
им.Ш.Есенова,
кафедра «Строительство»
В процессе эксплуатации на тепловых электростанциях
происходит значительное повышение уровня подземных грунтовых вод, подтопление
территории и фильтрация грунтовых и технологических вод через ограждающие
конструкции заглубленных и подземных сооружений (кабельных тоннелей, галерей
тракта топливоподачи, вагоноопрокидывателей, насосных станций).
Основными причинами фильтрации внутрь подземных сооружений
являются:
- наличие напорных грунтовых вод в результате подтопления
территории;
некачественное выполнение гидроизоляции и недолговечность
гидроизоляционных материалов, примененных при строительстве;
- пористость (неплотность) бетона ограждающих конструкций
как следствие некачественного производства бетонных работ.
В результате возникает необходимость выполнения ремонта или
усиления гидроизоляции в местах фильтрации.
Одним из наиборлее широко используемым методом в технологии
ремонта гидроизоляции подземных сооружений является метод цементации.
Этот метод эффективен для условий "мокрой
среды", и заключается в нагнетании
цементного раствора непосредственно в ограждающую конструкцию сооружения. При
этом достигается уплотнение бетона и увеличение его водонепроницаемости.
Перед началом работ по цементации проводится детальное
обследование подземного сооружения и составляется проект производства работ. В
этом проекте должны быть указаны количество скважин, схема их расположения,
порядок нагнетания раствора и тип используемого насоса. При обследовании
составляется карта дефектов, в которой фиксируется количество течей, их
взаимное расположение, характер течей, выявляется состояние сооружения на
участке течи с точки зрения прочности и возможности установления давления при
нагнетании.
Расположение скважин,
их количество и очередность нагнетания раствора в скважины устанавливаются
в каждом конкретном случае в зависимости от количества фильтрующейся воды и
состояния ограждающих конструкций.
Скважины рекомендуется располагать следующим образом: на
участках с количеством фильтрующейся через конструкции ограждения воды свыше
0,5 л/(м2·ч) — через каждые 0,7—1,0 м; меньше 0,5 л/(м2·ч)
— через каждые 1,0—1,2 м.
Скважины бурятся с помощью бурильных молотков с бурами,
имеющими звездчатую коронку диаметром 50 мм, соответствующим диаметру
резинового кольца инъектора, перфоратора, отбойного молотка, оборудованных
насадками в виде шлямбуров.
Скважины выполняются глубиной 30 — 50 см, но не более 2/3
толщины ограждающей конструкции. Скважины перед установкой инъектора должны
быть очищены от мусора, для этого они продуваются сжатым воздухом.
Устье готовой скважины выравнивается цементным раствором по
диаметру инъектора на глубину 10 см. Перед нагнетанием инъектор прочно
закрепляется в скважине (рис. 1) с помощью нажимной гайки 2. Это увеличивает
распор резинового уплотнения, состоящего из колец, помещенных на конце
инъектора.

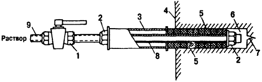
Рисунок 1. Установка инъектора в скважине:
1 - пробковый кран; 2 - нажимная гайка; 3 - нажимная
трубка; 4 - несущая конструкция;
5 - резиновый уплотнитель (кольцо); 6 - скважина; 7 -
трещина; 8 - напорная (инъекционная) трубка; 9 - шланг для подачи раствора
К закрепленному инъектору присоединяется шланг 9 от ручного
насоса или растворонасоса.
Последовательность цементации скважин определяется проектом
производства работ. При его составлении необходимо руководствоваться следующим:
а) цементация скважин, расположенных на расстоянии менее 2
м от зацементированных накануне, должна производиться по истечении 3 сут, т.е.
после приобретения прочности введенным раствором;
б) цементация стен подземных сооружений должна
производиться последовательно снизу вверх;
в) цементация может производиться одновременно через
несколько скважин, расположенных в параллельных рядах по вертикали;
г) нагнетание раствора следует производить после
затвердения раствора, уложенного для выравнивания устья скважины: для раствора
на портландцементе — не раньше чем через 3—4 сут, на глиноземистом цементе — на
2-е сутки.
Начальная консистенция раствора (цемента и воды)
принимается при портландцементе 15:100, при глиноземистом цементе 25:100;
конечная консистенция — 50:100 и 100:100 соответственно.
Начальное давление в. материальном шланге должно быть не
более 0,2 МПа (2 кгс/см2), максимальное давление — 0,4 МПа (4 кгс/см2).
Принципиальная схема сети нагнетания цементного раствора
приведена на рис.2.
Последовательность нагнетания раствора: открыть кран К1
и закрыть краны К2 и Кз. После создания избыточного давления в сети
0,2 МПа (2 кгс/см2) кран К1 закрыть, а кран Кз
одновременно открыть. В случае падения давления в сети (определяется по
манометру) нагнетание повторяется, при этом закрывается кран Кз иодновременно
открывается кран К1.
Давление в сети регулируется с помощью крана К2.
Нагнетание повторяется периодически до стабилизации
давления в сети в течение 15—20 мин (отсутствие падения давления определяется
по манометру). После этого консистенция раствора повышается на следующую
ступень, как рекомендовано выше.

Рисунок 2. Принципиальная схема нагнетания цементного
раствора:
1 - бункер; 2 - линия всасывания; 3 - насос; 4 - манометр;
5 - инъекторы; 6 - пробковые краны; 7 - трубопровод (d
= 1,5" или 2"); К1, К2 и К3 - краны
Для подачи раствора с новой консистенцией к инъекторам
необходимо открыть краны К1 и К2 одновременно закрыть
кран К3 и выдавить раствор предыдущей консистенции из сети в бункер.
После заполнения сети раствором с новой ступенью
консистенции нагнетание раствора в скважины производится в том же порядке, что
и для первоначальной консистенции, с одновременным повышением давления в сети
до 0,3 МПа (3 кгс/см2). Максимально допустимое давление 0,4 МПа (4 кгс/см2).
Нагнетание раствора может быть закончено, если при максимально допустимом
давлении нет расхода раствора. Цементация одной скважины должна производиться
без перерыва.
По окончании работ инъекторы отключаются от сети с помощью
пробковых кранов, сеть промывается чистой водой и разбирается. Инъекторы
остаются в скважинах на 1,5—2,0 ч, затем они извлекаются из скважины, очищаются
и промываются.
После извлечения инъекторов из скважин последние
заделываются цементным раствором.
Для нагнетания применяются цементы марок не ниже 400:
портландцемент (с добавлением 0,5—0,6% алюмината натрия); расширяющийся цемент;
водонепроницаемый расширяющийся цемент.
Для ускорения начала и конца схватывания в целях увеличения
прочности нагнетаемого раствора в начальный момент твердения к нему при
затворении может прибавляться хлористый кальций в количестве не более 4% массы
затворяемого сухого цемента.
При цементации необходимо вести журнал, в который следует
записывать:
консистенцию нагнетаемого раствора, месторасположение скважин,
показания манометра, окончательный расход раствора.