Мельник В.М.
Національний технічний університет України
«КПІ ім.
Ігоря Сікорського»
ПОБУДОВА СТОВПА ВОЛЬТІВ З ВИКОРИСТАННЯМ
АЛЬГЕБРАЇЧНОЇ ПОВЕРХНІ ЧЕТВЕРТОГО ПОРЯДКУ
Пропонуєма конструкція слугує підгрунтям для створення цифрової
інтегрованої технології на транспорті у вигляді керуючої інтелектуальної
системи сенсорів стану, яка автономно обирає найбільш економічний крейсерський,
або форсмажорний режим роботи двигуна внутрішнього згоряння і не потребує
додаткового обслуговування електрообладнання на станції технічного
обслуговування. Відомі конструкції двигунів внутрішнього згоряння (рис.1).


Рисунок 1
Пропонуєма конструкція стане в нагоді розвитку транспортних систем,
зокрема, в авіаційній галузі для комерційних авіаперевезень вантажів з
максимально економічною витратою палива, а також для потреб маломоторної
авіації (рис. 2).

Рисунок 2
З огляду
на велику кількість міського державного і приватного автотранспорту та
забруднення оточуючого середовища токсичними вихлопними газами внаслідок
недостатнього згоряння палива в робочій камері двигуна (рис. 3), незаперечною
постає доцільність використання конструкції на автотранспорті міст і населених
пунктів нашої держави .
Перспективним слід визнати застосування винаходу для автомобільного
транспорту силових відомств та автотранспорту військового призначення, такого
як БТР, танки, всюдиходи, тягачі. Рисунок
3
Маючи досить протяжний сухопутний кордон, Україна приділяє велику увагу
розвитку та вдосконаленню бронетанкових військ, як одного з найбільш ефективних
засобів захисту своїх рубежів. Тому вага цього виду озброєння для держави надто важлива.
З появою сучасних засобів
знищення, самітній танк став, в певному сенсі, уразливою мішенню. Особливо злободенним цей аспект
уявляється за умов дальнього бою – більше за
Ефективність ураження
супротивника суттєво збільшується сполученням двох операцій – маневру вогнем і
маневру рухом (вздовж фронту і вглиб). Перший полягає в зосередженні вогню
декількох машин на цілі, другий – в керуванні рухом бойових одиниць, або підрозділів
в цілому,
у форсмажорному режимі. (рис. 4)

Рисунок 4
Рівень небезпеки сучасних
протитанкових засобів такий, що вони повинні бути нейтралізовані не більш як за
10-20 секунд з моменту їх виявлення. Таким чином, проблема оперативної зміни
дислокації бойових машин на марші містить два основних аспекти – перш за все забезпечення неуразливості танка, по-друге – його
оперативну атакувальну
швидкодію. Вирішення
проблеми цілком окреслюється мобільністю і надійністю двигунів бойової машини.
Струмопровідні овали збільшують просторову поверхню іскрового розряду
надаючи їй вигляд сукупності циліндричних поверхонь у вигляді стовпів вольтів,
а також створюючи додатково фокальні осі концентрації теплової енергії,
знижуючи тим самим витрати на проскакування іскри. Це дозволяє збільшити
іскровий проміжок та підвищити ефективність займистості робочої суміші.
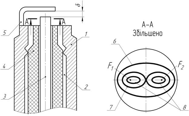
Представлена конструкція свічки
запалювання використовується для запалювання робочої суміші в двигунах
внутрішнього згоряння і містить корпус 1 з порожниною 2, в якій розміщений
центральний електрод 3, екранований від корпусу ізолятором 4 (рис. 5). До
зовнішньої поверхні корпусу 1 приварено боковий електрод 5, який утворює
іскровий проміжок δ з торцем центрального електроду у вигляді струмопровідних
овалів 6, 7, 8.

Рисунок
5
При заповненні робочою сумішшю камери згоряння двигуна під час такту
стиску, імпульс високої напруги подається на центральний електрод 3, де на його
нижньому торці формується збільшена поверхня електричного розряду у вигляді
сукупності циліндричних стовпів вольтів
з поперечним перетином у формі “овалів Кассіні”, а також створюються фокальні
осі F1 i F2 концентрації теплової енергії, що додатково слугує
займистості робочої суміші.