К. т. н. доцент, Кобець О.М., магістрант
Найденко Р.Г.,
магістрант Дімітров І.І.
Дніпропетровський державний
аграрно-економічний університет
АНАЛІЗ НАСОСІВ ТА НАСОСНИХ АГРЕГАТІВ
ОБПРИСКУВАЧІВ ТА ВИМОГИ ДО НИХ
Постановка проблеми. Обприскування є базовою технологією хімічного захисту
рослин. Цим способом, згідно з
опублікованими даними [1], вносяться 77 % пестицидів. Світове виробництво
пестицидів досягло 2,2 млн. тонн діючої речовини на рік, що складає
Використовуючи обприскувач під час повнооб'ємного
обприскування (200 – 400 л/га робочої рідини) дія розчину відповідає прогнозуванням
виробника пестициду. Таке обприскування малопродуктивне і потребує значних
затрат праці. Проте їх можна знизити за рахунок переходу до малооб’ємного
обприскування. Актуальним питанням на сьогодні є зменшення пестицидного
навантаження на грунт – це досягається за допомогою впровадження малооб'ємного
(50 – 80 л/га робочої рідини) обприскування. Однак, при переході від повнооб’ємного
до малооб'ємного обприскування виникають певні проблеми. На окремих ділянках
поля пестицид не спрацював, а на інших дія перевищила бажаний ефект таким чином,
що постраждали навіть і культурні рослині (отримали опіки чи призупинили
розвиток, тощо). В більшості випадків це свідчить про нерівномірність
концентрації робочого розчину.
На сьогоднішній день переважна більшість при покупці штангових обприскувачів
звертають увагу на насосний агрегат, його робочі параметри (максимальний тиск
та продуктивність), ресурс, вартість
обслуговування та ремонтопридатність. Безумовно, одним із найважливіших
елементів будь-якого обприскувача є насосний агрегат.
Необхідно відзначити, що, незважаючи на значні відмінності
в принципі дії, конструкції насосних агрегатів всіх типів повинні задовольняти
вимогам, до яких у першу чергу відносяться:
- надійність і довговічність роботи;
- економічність і зручність експлуатації;
- зміна робочих параметрів у широких межах за умови
збереження високого ККД;
- мінімальні розміри й маса;
- простота будови, що полягає в мінімальній кількості
деталей і повної їх взаємозамінності;
- зручність монтажу й демонтажу.
- створення
необхідного тиску для якісної роботи розпилювачів.
- подрібнення та рівномірний розподіл (препарату у воді)
з відхиленням концентрації не більше ±15% [2].
Аналіз останніх досліджень. На
сьогоднішній день для роботи обприскувачів використовують насосні агрегати
декількох типів, як правило – це поршневі, відцентрові, мембранно-поршневі та
роликові [3]. В ультрамалооб'ємних обприскувачах поширеними є
поршневі, відцентрові та мембранні насоси, рідше - плунжерні. Поршневі і
плунжерні насосні агрегати є поширеними в обприскувачах високого тиску, а
вихрові, шестеренні та мембранні – в обприскувачах низького тиску [4]
Метою досліджень є проаналізувати існуючі типи насосів, що
використовуються на обприскувачах та виявити насосні агрегати які відповідають
вимогам малооб'ємного обприскування.
Результати досліджень. Рівномірність концентрації робочої рідини залежить від:
геометричної форми основної ємності; типу мішалки, способу дії та її
конфігурації, а також від конструктивних особливостей насосного агрегату. На обприскувачах можливе використання
пневматичних і гідравлічних насосних агрегатів. Пневматичні, переважно
використовуються на ручних (ранцевих) обприскувачах. В конструкціях обприскувачів поширення набули поршневі, плунжерні,
відцентрові, вихрові, мембранні та шестеренні насоси [4]. В малооб'ємних
обприскувачах поширеними є поршневі, мембранно-поршневі, відцентрові та
роликові насосні агрегати. В останні роки поршневі насосні агрегати
використовують винятково для перекачування рідини (без абразиву), наповнення
обприскувача [5].
Поршневий насосний агрегат (рис. 1) складається з блоку циліндрів з розміщеними в ньому
колінчастим валом, шатунами та поршнями і головки блоку циліндрів з впускним та
випускним клапанами. Перевагами
такого типу є мала швидкість обертання колінчастого валу (150 об/хв. проти 540
об/хв) і як наслідок вища надійність. Також насос є
замозаповнювальним.
Поршневі насосні агрегати доцільно застосовувати при
порівняно невеликих подачах і високих тисках.
У поршневих, плунжерних, мембранних насосах рідина
витісняється тілом, що рухається поступально. Отже, про змішування та подрібнення
пестициду у воді – не може бути і мови. Поршневі насосні агрегати можуть створювати досить високий тиск,
(2,5…3,0 МПа).
Недоліки: пульсуючий характер роботи, через що є
необхідність встановлення гідроакумуляторів; періодичність дії і непостійний
напір внаслідок нерівномірного руху поршня; різко падають експлуатаційні показники при роботі з
рідинами в яких присутні абразивні включення.


Рис. 1. Будова
насосного агрегату поршневого типу:
1 – колінчастий
вал; 2 – поршень; 3 – всмоктувальний клапан; 4 – нагнітальний клапан.
Одним з найбільш поширених типів
насосих агрегатів
є мембранно-поршневі (рис. 2).
Принцип дії подібний
з поршневим насосом, але
основною робочою складовою є мембрана.
Поршні змінюють об'єм циліндра, рухаючи еластичну мембрану, що закріплена в
центрі поршня, а периферія до блоку циліндрів та головки. Насосними агрегатами
такого типу обладнується більшість обприскувачів. При необхідності їх
здвоюються, або від їхнього валу приводяться в дію додаткові механізми:
гідронасоси приводу вентилятора, механічні змішувачі, тощо. В
обприскувачі ОПК –
2000 від насосного агрегату
приводиться в дію насос гідравлічної системи привода вентилятора.
Переваги:
відносно не велика вартість; самозаповнення; відсутність контакту кородуючих
складових насоса з робочою рідиною. Недоліки: при виникненні опору на вході до
насосу – відбувається миттєвий розрив мембрани, як наслідок вихід з ладу
підшипників колінчатого валу через присутність робочої рідини в картері насоса;
не встановлюється безпосередньо на ВВП трактора; при роботі з рідиною в’язкість
якої перевищує «1» – підвищується ризик виходу з ладу; не відбувається перемішування в самому насосі.


Рис. 2. Будова насосного агрегату мембранно-поршневого
типу:
1 – колінчастий вал; 2 – поршень; 3 – клапан; 4 –
мембрана; 5 – шатун; 6 – блок
циліндрів; 7 – тарілчаста шайба; 8 – головка з клапанами.
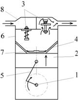
Насосні агрегати відцентрового типу (рис. 3) виробляються
широким модельним рядом зі
швидкістю потоку до 1760 л/хв та тиску до 1,3 МПа [6].
Відцентрові насосні агрегати (рис. 3). Переваги: висока
продуктивність і рівномірна подача; компактність і швидкість (можливість
безпосереднього приєднання до ВВП трактора);
простота пристрою, що дозволяє виготовляти його з хімічно стійких, що
важко піддаються механічній обробці матеріалів;
можливість перекачування рідин, що містять тверді зважені частки,
завдяки більшим зазорам між лопатками й відсутності клапанів; насос додатково перемішує
та подрібнює робочу рідину в робочій камері.
До недоліків слід віднести: відцентрові насоси невеликої
й середньої продуктивності мають ККД на 10-15% нижче, ніж поршневі. Це
обумовлено наявністю більших зазорів між порожнинами всмоктування й нагнітання,
через які можливе перетікання рідини, а також витратами енергії на побічні
вихори поблизу країв лопаток у зв’язку із великою швидкістю обертання робочого
колеса, що перетворюється на тепло й розсіюється у навколишньому середовищі;
досить низький напір, а також зменшення продуктивності при збільшенні опору
мережі й різке зниження ККД при зменшенні продуктивності; необхідність
наповнення робочої камери перед запуском; відцентрові насоси вимагають
підвищених обертів приводу, тому вони з'єднані з валом відбору потужності через
мультиплікатор. Проте, завдяки конструктивним особливостям, а саме принципу
роботи відцентрового насосу маємо додаткове перемішування та диспергування
хімікату – завдяки високим обертам робочого колеса (крильчатки) створюються
вихрові потоки вздовж лінії руху рідини в самому насосі та магістралі що веде
до пульту управління та в кінцевому до розпилювачів.


Рис. 3. Будова насосного агрегату відцентрового типу
1 – всмоктувальний рукав; 2 – робоче колесо; 3 – напірний
рукав.
Насосні агрегати роликового типу
(рис. 4), знайшли широке застосування в сільському господарстві. Мають просту будову, як наслідок відносно не
велику вартість. Універсальні, використовуються як для проведення обприскування
так і для перекачування рідин різної в’язкості.

Рис. 4. Загальний вид та складові насосного грегату
роликового типу:
1 – ротор; 2 – корпус; 3 – кришка; 4 – ролики.
Роликові насоси можуть встановлюватись
безпосередньо на ВВП трактора як і відцентрові. Проте, мають і ряд недоліків:
не використовуються при роботі з рідинами які мають абразивні частинки;
піддаються корозії; не відбувається змішування в робочій порожнині насоса.
Висновки.
1.
Сучасні
технічні засоби для малооб’ємного обприскування в більшості випадків комплектуються
мембранно-поршневими та відцентровими насосними агрегатами, які задовольняють
більшість вимог що ставляться до них.
2.
При
широкому впровадженні малооб’ємного обприскування для гарантованого отримання
очікуваних результатів доцільно використовувати відцентрові насосні агрегати,
які у відповідності до особливостей протікання робочого процесу забезпечують
якісне подрібнення препарату у воді та перемішуванню робочої рідини.
3.
Подальші
дослідження по малооб’ємному обприскуванню необхідно проводити в напрямку забезпечення
необхідного ступеня подрібнення препарату в насосному агрегаті та забезпеченню
стійкого протікання процесу.
СПИСОК ВИКОРИСТАНИХ ДЖЕРЕЛ
1.
Мележик
О.І. Покращення дисперсності розпилення пестицидів: дис. … к. тех. наук: 05.05.11
/ Мележик Олександр Іванович. – Д., 2009. – 171 с.
2.
Обприскувачі-обпилювачі
для внесення засобів захисту рослин і рідинних добрив. Захист довкілля. Частина
2. Обприскувачі польових культур. (EN 12761-2:2001, IDT):
ДСТУ EN12761-2:2004. [Чинний від
2006-01-01]. – К.: Держспоживстандарт України, 2005. – 12 с. –
(Національний стандарт України).
3.
Посібник.
Машини для хімічного захисту рослин, за редакцією Кравчука В.І., Войтюка Д.Г. Дослідницьке: УкрНДІПВТ ім. Л. Погорілого. -
2010. - с. 184.
4.
C.B.
Смолінський, Я.М. Михайлович, A.A.
Засунько. Аналіз типажу і характеристик насосів польових обприскувачів, 2010.
5.
Каталог насосов,
наконечников для распыления и аксессуаров. Hypro, 2011.
6.
Каталог John Deere DSPG52947RUS.