магистрант
Сундет Г.Е., студент Ташим Ш.А.,
ст.преп.
Смагулова К.К.
Карагандинский
государственный технический университет,
Республика Казахстан
АСКУЭ для
предотвращения потерь электроэнергии
Основным и наиболее перспективным решением
проблемы снижения сверхнормотивных потерь электроэнергии
является разработка, создание и широкое применение автоматизированных систем
контроля и учета электроэнергии (АСКУЭ), в том числе для бытовых потребителей,
тесная интеграция этих систем с программным и техническим обеспечением
автоматизированных систем диспетчерского управления (АСДУ), обеспечение АСКУЭ и
АСДУ надежными каналами связи и передачи информации, метрологическая аттестация
АСКУЭ.
Однако эффективное внедрение АСКУЭ – задача
долговременная и дорогостоящая, решение которой возможно лишь путем поэтапного
развития системы учета, ее модернизации, метрологического обеспечения измерений
электроэнергии, совершенствования нормативной базы.
На сегодняшний день к первоочередным задачам
этого развития относятся:
–
осуществление
коммерческого учета электроэнергии (мощности) на основе разработанных для
энергообъектов и аттестованных методик выполнения измерений (МВИ) по ГОСТ Р
8.563-96. Разработка и аттестация МВИ энергообъектов должны проводиться в
соответствии с Типовыми МВИ – РД 34.11.333-97 и РД 34.11.334-97 [19];
–периодическая калибровка
(поверка) счетчиков индукционной системы с целью определения их погрешности;
–
замена
индукционных счетчиков для коммерческого учета на электронные счетчики (за
исключением бытовых индукционных однофазных счетчиков);
–
создание
нормативной и технической базы для периодической поверки измерительных
трансформаторов тока и напряжения в рабочих условиях эксплуатации с целью
оценки их фактической погрешности;
–создание льготной
системы налогообложения для предприятий, выпускающих АСКУЭ и энергосберегающее
оборудование;
–совершенствование
правовой основы для предотвращения хищений электроэнергии, ужесточение
гражданской и уголовной ответственности за эти хищения, как это имеет место в
промышленно-развитых странах;
–создание нормативной
базы для ликвидации «бесхозных» потребителей и электрических сетей, обеспечение
безубыточных условий их принятия на баланс и обслуживание энергоснабжающими
организациями;
–создание законодательной
и технической базы для внедрения приборов учета электроэнергии с предоплатой.
Очень важное значение на стадии внедрения
мероприятий по снижению потерь электроэнергии в сетях имеет так называемый
«человеческий фактор», под которым понимается:
–обучение и повышение
квалификации персонала;
–
осознание
персоналом важности для предприятия в целом и для его работников лично
эффективного решения поставленной задачи;
–
мотивация
персонала, моральное и материальное стимулирование;
–
связь
с общественностью, широкое оповещение о целях и задачах снижения потерь,
ожидаемых и полученных результатах.
Компания
ТОО «Караганды Жарык» в рамках своей инвестиционной программы внедряет АСКУЭ
бытового сектора в последние 2 года. В качестве поставщиков они выбрали двух
производителей ООО «ИНКОТЕКС», Россия и ТОО «Корпорация Сайман», Казахстан.
На сегодняшний день 96,8% потребителей оснащены современными
приборами учета электроэнергии, которые были внесены в Реестр Государственной
системы обеспечения единства измерений и имеют соответствующие сертификаты.
У 187 тысяч потребителей, то есть 96,8 %, показания электросчетчиков
снимаются в полуавтоматическом режиме. Осталось оснастить новыми приборами
учета порядка 30 тысяч абонентов. До конца нынешнего года планируют завершить
все работы и перейти на полностью автоматический режим сбора данных. В
настоящее время информация с данных приборов учета снимается посредством
ноутбуков и передается в базу данных энергоснабжающих организаций, чтобы те в
свою очередь могли выставить счета. При автоматическом режиме все показания
будут передаваться на центральный компьютер. Компания полностью берет на себя
все обязательства по установке, монтажу, проверке данных счетчиков.
Инвестиционная программа
включает в себя реконструкцию подстанций, реконструкцию ТП, воздушных линий.
АСКУЭ - это приложение к основной инвестиционной программе, в рамках которой
«Караганды Жарык» должен заменить все городские электрические сети.
Осуществляется переходим с оголенного воздушного провода на изолированный
провод, что позволит снизить потери технически и обеспечить надежность для
бесперебойного снабжения потребителей. Планируется замена практически всего
оборудования. Сами подстанции реконструируются, расширяются. Предполагается,
что по окончании инвестиционной программы вопрос по качеству напряжения до
границ нашей балансовой принадлежности будет решен.
Однако одних знаний и умений недостаточно. В
энергоснабжающих организациях должна быть разработана, утверждена и эффективно
действовать система поощрения за снижение потерь электроэнергии в сетях, выявление хищений электроэнергии с
обязательным оставлением части полученной прибыли от снижения потерь (до 50%) в
распоряжении персонала, получившего эту прибыль.
Необходимы, очевидно, новые подходы к
нормированию потерь электроэнергии в сетях, которые должны учитывать не только
их техническую составляющую, но и систематическую составляющую погрешностей
расчета потерь и системы учета электроэнергии.
Очень важен контроль со стороны руководителей
энергосистемы, предприятий, районов, электросетей и Энергосбыта за эффективностью работы контролеров, мастеров и
монтеров РЭС с целью предотвращения получения личного дохода непосредственно с
виновников хищений, «помощи» потребителям по несанкционированному подключению к
сетям и т.п.
В конечном счете, должен быть создан такой
экономический механизм, который бы ставил в прямую зависимость премирование
персонала от его активности и эффективности в области снижения потерь.
Автоматизированная
система
коммерческого учета электроэнергии на предприятии
ТОО «Қарағанды
Жарық» включает в себя следующие функции:
-
сбор
информации с счетчиков;
-
расчет,
накопление и хранение данных;
-
контроль
потребления электрической мощности с заданным интервалом времени;
-
коммерческий учет потребленной электроэнергии;
-
расчет
оплаты за потребляемую энергию по многотарифной системе;
-
возможность
обмена информацией с другими системами.
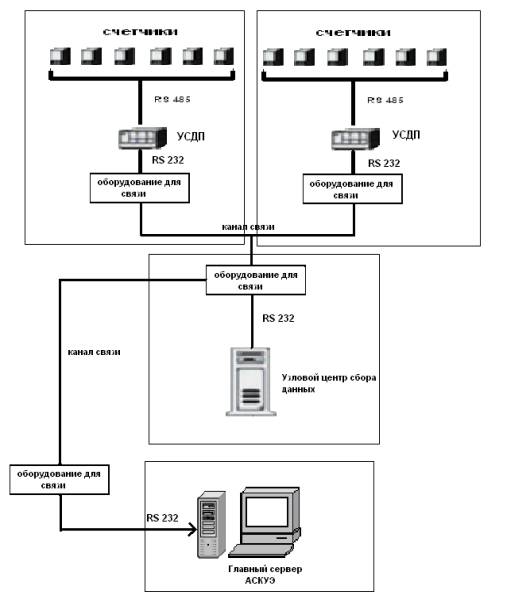
В общем случае структура автоматизированной
системы контроля и учета электроэнергии состоит из четырех уровней:
- 1 уровень – первичные измерительные приборы
(ПИП), т.е. счетчики электроэнергии с телеметрическими или цифровыми выходами;
- 2 уровень – устройство сбора и подготовки
данных (УСДП), т.е. программмируемые логические контроллеры (ПЛК),
установленные на подстанциях, которые осуществляют в заданное время сбор данных
со счетчиков, накопление, обработку и передачу этих данных на верхний уровень.
-
3 уровень – узловые центры сбора и обработки данных со специализиро-ванным
программным обеспечением АСКУЭ, осуществляющий сбор информации с ПЛК, итоговую
обработку этой информации, как по точкам учета, так и
по их группам - по подразделениям и объектам предприятия, документирование и
отображение данных учета в виде, удобном для анализа и принятия решений
(управления) оперативным персоналом службы главного энергетика и руководством
предприятия;
-
4 уровень – главный сервер центра сбора и обработку данных со
специали-зированным программным обеспечением АСКУЭ, осуществляющий
сбор информации с ПЛК и / или группы серверов центров сбора и обработки данных
третьего уровня, дополнительное агрегирование и структурирование информации по
группам объектов учета, документирование и отображение данных учета в виде,
удобном для анализа и принятия решений персоналом службы главного энергетика и
руководством территориально распределенных средних и крупных предприятий или
энергосистем.
На рисунке 1 представлены уровни
автоматизированной системы контроля и учета электроэнергии.

Рисунок
1
– Уровни АСКУЭ
Все
уровни АСКУЭ связаны между собой каналами связи. Для связи уровней ПИП и УСПД
или центров сбора данных, как правило, используется прямое соединение по
стандартным интерфейсам (типа RS-485). УСПД с
центрами сбора данных 3-го уровня, а также центры сбора данных 3-го и
4-го уровней могут быть соединены по выделенным, коммутируемым каналам связи
или по локальной сети.
В качестве оборудования
для связи могут быть использованы радиорелейные линий связи,
волоконно-оптическая, высокочастотная линии связи, цифровые телефонные станций,
а также спутниковые каналы связи.
Технология измерения
и учета электроэнергии промышленных предприятий: по своему назначению
автоматизированную систему контроля и учета электроэнергии предприятия делят на
системы коммерческого и технического учета. Коммерческим, или расчетным, учетом называют учет поставки / потребления
электроэнергии предприятием для денежного расчета за нее. Приборы, используемые
для коммерческого учета, называют коммерческими или расчетными. Техническим, или контрольным, учетом
называют учет для контроля процесса поставки/потребления энергии внутри
предприятия по его подразделениям и объектам. Приборы для этого учета
называются приборами технического учета.
Технический учет образует информационную базу для
исполнения функций текущего управления, планирования, нормирования и анализа
электропотребления. Ведение технического учета электроэнергии на промышленных
предприятиях позволяет:
-
определить
нецелесообразное использование электроэнергии на отдельных технологических
участках;
-
вводить экономические
факторы, способствующие для экономии электроэнергии;
-
экономить энергоресурсы
и снизить потребление электроэнергии на выпуск готовой продукции.
Задача технического учета является большой по
проектированию и сложной. Технический учет осуществляется в настоящее время
счетчиками электрической энергии на уровне распределительных и трансформаторных
подстанций. Эти счетчики не могут фиксировать электроэнергию, непосредственно
израсходованную тем или иным цехом, так как каждый цех получает питание от
нескольких трансформаторных подстанций, каждая из которых, в свою очередь,
питает несколько цехов. Для решения этой проблемы в системе технического учета
устанавливаются дополнительные счетчики, для осуществления разделения учета электроэнергии
по цехам и технологическим установкам.
АСКУЭ коммерческого и технического учета могут быть
реализованы как раздельные системы или как единая система.
Два вида учета, коммерческий и технический, имеют свои
особенности. Коммерческий учет консервативен, имеет устоявшуюся схему
энергоснабжения, для него характерно наличие небольшого количества точек учета,
по которым требуется установка приборов повышенной точности, а сами средства
учета нижнего и среднего уровня АСКУЭ должны выбираться из государственного
реестра измерительных средств. Кроме того, системы коммерческого учета в
обязательном порядке пломбируются, что ограничивает возможности внесения в них
каких-либо оперативных изменений со стороны персонала предприятия.
Технический учет динамичен и постоянно развивается,
отражая меняющиеся требования производства; для него характерно большое
количество точек учета с разными задачами контроля энергоресурсов, по которым
можно устанавливать в целях экономии средств приборы пониженной точности. Технический
контроль допускает использование приборов, не занесенных в Государственный
реестр измерительных средств. Отсутствие пломбирования приборов энергосбытовой
организацией позволяет службе главного энергетика предприятия оперативно
вносить изменения в схему технического контроля энергоресурсов, в уставки
первичных измерительных приборов в соответствии с текущими изменениями в схеме
энергоснабжения предприятия и спецификой решаемых производственных задач.
Учитывая специфику коммерческого и технического учета, можно оптимизировать
стоимость создания АСКУЭ и ее эксплуатации.
Нормативные требования,
предъявляемые при разработке автоматизи-рованной
системы контроля и учета электроэнергии
отражены в «Программе создания автоматизированной системы коммерческого учета
электроэнергии», утвержденный Приказом Министра энергетики и минеральных
ресурсов Республики Казахстан от 18 августа 2004 г. №
183.
Программа
создания автоматизированной системы контроля и учета электроэнергии (далее -
АСКУЭ) субъектов оптового рынка электроэнергии разработана в соответствии с
Законом Республики Казахстан «Об электроэнергетике».
Литература:
1. Ю. С. Железко.
Нормирование технологических потерь электроэнергии в сетях — новая
методология расчета.// Новости электротехники. Информационно-справочное
издание. № 5 (23), 2003.
2. Ю. С. Железко,
А. В. Артемьев, О. В. Савченко. Расчет, анализ
и нормирование потерь электроэнергии в электрических сетях:
Руководство для практических расчетов. —
М.: Изд-во НЦ ЭНАС, 2005.- 280 с.: ил.
3. В. Н. Апряткин.
Человеческий фактор и его влияние на уровень потерь электроэнергии.
Доклад на конференции «Потери электроэнергии в городских
электрических сетях и технологии их снижения». Москва,
«Мособлэлектро», 12 −15 апреля 2004 г.
4. В. Э. Воротницкий,
М. А. Калинкина, В. Н. Апряткин. Мероприятия
по снижению потерь электроэнергии в электрических сетях
энергоснабжающих организаций// Энергосбережение. № 3, 2000.
5. В. Э. Воротницкий,
В. Н. Апряткин. Коммерческие потери электроэнергии
в электрических сетях. Структура и мероприятия по снижению.//
Новости электротехники. Информационно-справочное издание. № 4 (16), 2002.
6. В. Э. Воротницкий.
Норматив потерь электроэнергии в электрических сетях. Как его определить
и выполнить?// Новости электротехники. Информационно-справочное издание. № 6
(24), 2003.
7. В. Э. Воротницкий,
М. А. Калинкина, Е. В. Комкова, В. И. Пятигор.
Снижение потерь электроэнергии в электрических сетях. Динамика, структура,
методы анализа и мероприятия.// Энергосбережение. № 2, № 3,
2005.
8. В. Демченко.
Грамотная организация узлов учета позволит сократить коммерческие потери
электроэнергии.// Новости электротехники. № 2 (20), 2003.
9. А. Бондаренко. Для
успешной борьбы с потерями электроэнергии необходимо их оценить
и проанализировать.// Новости электротехники. № 4 (16), 2002.
10.
В. Овсейчук,
Н. Дворников, М. Калинкина, П. Киселев. Тарифное
регулирование.// Новости электротехники. № 6(30), 2004.
11.
Воротницкий В. Э., Загорский Я. Т., Апряткин В. Н. и др.
Расчет, нормирование и снижение потерь электроэнергии в городских
электрических сетях // Электрические станции. 2000. № 5. С.
12.
Воротницкий В. Э., Заслонов С. В., Калинкина М. А. Программа
расчета технических потерь мощности и электроэнергии в распределительных
сетях 6-10 кВ. // Электрические станции. 1999. № 8. С.
13. Воротницкий
В. Э., Заслонов
14.
С.В., Калинкина М. А. Новые возможности комплекса программ
РТП 3 по расчету и нормированию потерь электроэнергии, анализу режимных
параметров в распределительных сетях 0,38-110 кВ // Сборник докладов
международного научно-технического семинара 15-19 ноября 2004 года
«Нормирование, анализ и снижение потерь электроэнергии в электрических сетях-
2004». М.: Изд-во «НЦ ЭНАС», 2004.
15.
Инструкция по снижению технологического расхода электрической
энергии на передачу по электрическим сетям энергосистем иэнергообъединений.
М.: СПО Союзтехэнерго. 1987.
16.
Сборник нормативных и методических документов по измерениям,
коммерческому и техническому учету электрической энергии и мощности. М.:
Издательство «НЦ ЭНАС», 1998.
17.
Бохмат
И.С, Воротницкий В.Э., Татаринов Е.П. Снижение коммерческих потерь в
электроэнергетических системах. Электрические станции, 1998, №9.
18.
Инструкция
по снижению технологического расхода электрической энергии на передачу по
электрическим сетям энергосистем и энергообъединений, СПО Союзтехэнерго,
М.:1987.