Технические науки / 4 Транспорт
Д.т.н.
Кукис В.С., к.т.н. Романов В.А.
Южно-Уральский государственный университет
д.т.н.
Куколев М.И., Дворцов В.С.
Санкт-Петербургский политехнический государственный
университет
Использование
вихревой трубки Ранка в двигателях Стирлинга
В
последнее время двигатели Стирлинга (ДС) привлекают все более пристальное внимание
специалистов в области тепловых машин. Такой интерес обусловлен многими
достоинствами этих двигателей. В частности, ДС имеют [1, 2, 3 и др.]: более
высокий КПД, чем других тепловые двигатели; низкую токсичность; возможность
работы на различных топливах; низкий расход масла; практически полную уравновешенность
и отсутствие вибраций; легкий пуск в условиях низких температур окружающего
воздуха; допустимость значительной кратковременной перегрузки; возможность
получения большой мощности в одном цилиндре; возможность работы по обратному
циклу без изменения конструкции.
Двигатель Стирлинга - это
тепловой двигатель с внешним подводом теплоты и с внешним её отводом от
газообразного рабочего тела (РТ), находящегося во внутреннем контуре.
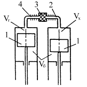
Практическое применение
получили три схемы (модификации) ДС, обозначаемые греческими буквами a, b, γ и показанные на рис. 1.
Основными элементами
ДС по этим схемам являются рабочий и вытеснительный поршни 1 и 5, нагреватель
4, регенератор 3 и холодильник 2. В двигателях β-модификации рабочий и
вытеснительный (далее называемый просто «вытеснителем») поршни размещены в одном цилиндре, а в модификациях
α и γ – в двух отдельных цилиндрах, причём в схеме α оба поршня
являются и рабочими и вытеснительными. Горячая и холодная полости ДС, имеющие переменные
объёмы, сообщаются между собой через соединённые последовательно полости
нагревателя, регенератора и холодильник, имеющие неизменные объемы.


a б в
Рис. 1. Принципиальные
схемы двигателей Стирлинга простого действия:
а – a-модификация; б – b-модификация; в – g-модификация;
Vг,Vх и Vб – объёмы полостей: горячей, холодной и буферной
Движение поршней и
вытеснителей строго синхронизировано с помощью механизмов, преобразующих
возвратно-поступательное движение поршней во вращательное движение вала ДС или
наоборот. При перемещении вытеснителя РТ только перемещается из горячей полости
в холодную или наоборот, поэтому полный объем РТ в ДС не изменяется. При
перемещении рабочего поршня полный объем РТ изменяется – происходит его сжатие
или расширение.
Двигатель
Стирлинга a-модификации работает аналогично описанному, однако
его цикл формируется благодаря движению не одного, а двух рабочих поршней,
иногда называемых «горячим» и «холодным». Поскольку средние температуры РТ
около этих поршней отличаются в два-три раза, то совершаемые ими работы
значительно различаются по величине, и суммарная работа цикла становится положительной.
Недостатком a-модификации можно считать повышенные механические
потери, создаваемые двумя рабочими поршнями, уплотнёнными со стороны буферных
полостей.
Двигатели Стирлинга
заполняют РТ под средним (статическим) давлением, в ряде случаев достигающим 35
МПа. Почти постоянное давление в буферной полости позволяет разгрузить
подшипники вала ДС и уплотнения поршней от действия значительных переменных газовых
сил.
При движении РТ через
регенератор часть теплоты передаётся или от РТ к теплообменной матрице
регенератора, или наоборот, что уменьшает потребность в количестве подводимой
извне теплоты для получения одного и того же количества полезной работы,
улучшая тем самым экономичность цикла.
В
нагревателе к части РТ, соседствующей с объёмом горячей полости ДС, непрерывно
подводится теплота от внешнего источника. Соответствующему среднему тепловому
потоку пропорциональна индикаторная мощность цикла, а, следовательно, и эффективная
мощность ДС.
В холодильнике
происходит непрерывный отвод не использованной полезно в цикле теплоты от РТ к
холодному теплоносителю (причём тепловая нагрузка охладителя непосредственно
зависит от совершенства регенератора).
Следует
отметить, что при многих достоинствах ДС, отмеченных в первом абзаце статьи, работа
этих двигателей связана и с рядом технических сложностей.
Прежде всего, это значительные
затраты мощности на преодоление гидравлического сопротивления в регенераторе [4]
(что приводит к снижению эффективной мощности двигателя). Именно эта
особенность ДС не позволяет им работать с высокой частотой повторяемости
рабочих циклов, что также ограничивает развиваемую ими мощность.
Кроме
того, в связи с тем, что РТ в ДС всегда находится во внутреннем контуре двигателя,
все количество отводимой от РТ (в соответствии со вторым законом термодинамики)
теплоты «отбирается» в холодильнике (в отличие от двигателей внутреннего
сгорания, где охлаждение рабочего тела практически полностью происходит в
атмосфере при выбросе из цилиндров отработавших газов). Сказанное обусловливает
существенные внешние затраты энергии на организацию охлаждения РТ в холодильнике
и создания во многих случаях специальных систем (радиаторов) с развитой поверхностью
для «сброса» этой теплоты в атмосферу.
На
наш взгляд, указанные проблемы могут быть практически полностью решены, если в структурной
схеме ДС регенератор заменить вихревой трубкой (трубкой Ранка) [5] (рис. 2)

Рис. 2. Структурная схема двигателя Стирлинга с
вихревой трубкой Ранка
В
этом случае после расширения в горячей полости РТ направляется в вихревую
трубку Ранка, где его поток разделяется на два – холодный, который направляется
вначале в холодильник, а затем в полость сжатия, и горячий, который
направляется в тепловой накопитель (тепловой аккумулятор), где часть его
энергии передается в форме теплоты теплоаккумулирующему веществу, нагревая его.
В тепловой накопитель (тепловой аккумулятор) поступает и та часть холодного РТ,
которая была сжата в полости сжатия. В тепловом накопителе холодное РТ нагревается
от горячего теплоаккумулирующего вещества, смешивается с потоком горячего РТ,
поступившего из вихревой трубки Ранка, после чего объединенный поток РТ
направляется в нагреватель. Здесь РТ дополнительно получает энергию с потоком
теплоты, поступающим от внешнего источника, и направляется в полость
расширения, где в процессе расширения внутренняя энергия РТ преобразуется в механическую
работу.
По
сравнению традиционной схемой ДС в предлагаемом варианте обеспечивается
повышение эффективной мощности и экономичности за счет:
полного исключения затрат части мощности на
преодоление гидравлического сопротивления в регенераторе; уменьшения потерь
энергии РТ при теплоотводе от него в холодильнике и снижения внешних затрат
энергии на организацию охлаждения РТ в холодильнике;
снижения
затрат энергии на сжатие в полости сжатия за счет уменьшения количества
сжимаемого в нем РТ;
предварительного
подогрева в тепловом накопителе сжатого холодного РТ перед его поступлением в
нагреватель.
Литература
1. Двигатели Стирлинга / Пер. с англ. Б.В.
Сутугина / Под ред. В.М. Бродянского. – М.: Мир, 1975. – 448 с.
2. Ридер, Г. Двигатели Стирлинга / Г.
Ридер, Ч. Хупер / Пер. с англ. С.С. Черцова, Е.Е. Черейского, В.И. Кабакова. –
М.: Мир, 1986. – 464 с.
3. Бреусов, В.П. Двигатель внешнего
подвода тепла – Стирлинг (вчера, сегодня, завтра) / В.П. Бреусов. – СПб.: Нестор,
2007. – 156 с.
4. Крупнов Б.А. Расчетно-экспериментальное
исследование регенераторов двигателей с внешним подводом теплоты /В.А. Крупнов.
Автореферат дисс. канд. техн. наук. –
М., 1989. – 16 с.
5. Суслов, А.Д. Вихревые аппараты / А.Д.
Суслов, Иванов, А.В. Мурашкин, Ю .В . Чижиков. –М.: Машиностроение, 1985. – 256
с.