Экология. Промышленная экология и медицина труда
Царикаев В.К.
Разработка взрывоустойчивых затворов рудоспусков и перемычек
Для использования в подземных рудниках более приемлемы
рудоперепускные устройства и перемычки, устойчивые к ударной взрывной волне.
…..Разработанная
автором серия рудоперепускных устройств и перемычек отвечает этим требованиям.
Устройства взрывоустойчивы, экологически безопасны и защищены патентами
Российской Федерации на полезные модели. На рисунках приводится часть этих устройств[1-5]. Предложенные устройства
по сравнению с аналогами обладают и другими
преимуществами: выполнены конструктивно проще, требуют значительно
меньше материально-трудовых затрат при изготовлении и эксплуатации. Часть
устройств можно использовать в условиях двустороннего действия взрывной волны.
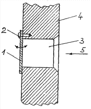
На рисунке 1 представлена взрывоустойчивая
шахтная перемычка [1], содержащая клапан
1, ось 2,окно 3, перемычку 4. Направление действия ударной взрывной волны
показано стрелкой 5. Клапан 1установлен под углом
Рис.1. Шахтная
взрывоустойчивая перемычка:
1-клапан; 2- ось крпеления клапана; 3- окно; 4- перемычка; 5- направление
действия ударной волны.
в окне 3
перемычки 4 и закреплен на оси к потолку окна, при этом клапан выполнен с возможностью
примыкания свободным концом к основанию окна. Под действием ударной волны
клапан 1 отклоняется, после прохода ее он снова под действием своей массы занимает
исходное положение.
На рисунке 2 изображена шахтная взрывоустойчивая перемычка[2],
включающая клапан 1, узел крепления 2, окно 3, перемычку 4. Направление
движения ударной взрывной волны показано стрелкой 5. С помощью узла 2

Рис.2. Шахтная
взрывоустойчивая перемычка:
1-клапан; 2-узел крепления клапана; 3-окно; 4- перемычка; 5-направление
движения ударной волны.
клапан закреплен к внешней стенке перемычки с
возможностью закрывания и открывания окна в автоматическом режиме. Клапан
открывается под воздействием взрывной волны и возвращается в исходное положение
под действие собственной массы.
Конструкция взрывоустойчивой шахтной перемычки [3] показана на рисунке
3. Она содержит клапан 1, ось 2, окно
3, перемычку 4.Направление

Рис. 3. Шахтная взрывоустойчивая
перемычка:
1-клапан; 2-узел крепления клапана; 3-окно; 4- перемычка; 5-направление
движения ударной волны.
движения ударной взрывной волны показано стрелкой
5. Клапан 1 с помощью узла 2 закреплен к внешней поверхности перемычки 4 и
может быть изготовлен из различных эластичных материалов, например, из
транспортерной ленты. Устройство работает в автоматическом режиме: под
действием взрывной волны клапан периодически открывается и без дополнительного
воздействия возвращается в исходное положение.
На
рисунке 4 представлена взрывоустойчивая перемычка двустороннего действия [4].
Она содержит клапан 1, окно 2, перемычку 3, пружину 4, каналы для пропуска
ударной волны 5, направления действия ударной волны 6. Конструкция
снабжена пружиной, закрепленной между двумя частями

Рис. 4.
Взрывоустойчивая перемычка двустороннего действия:
1-клапан; 2-окно; 3- перемычка; 4- пружина; 5 – каналы для пропуска
ударной волны; 6- направления действия ударной волны.
клапана. Части клапана выполнены с возможностью
перекрытия проемов в перемычке и ее каналов для выпуска ударной волны в обоих
направлениях.
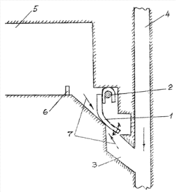
На
следующем рисунке представлен взрывоустойчивый затвор рудоспуска[5], содержащий створку 1, ось 2, рукав 3 рудоспуска 4, отбойный брус 6,
закрепленный на почве разгрузочной камеры 5. Стрелками 7 показаны направления
действия ударной воздушной волны. Створка установлена в вертикальной плоскости, свободная ее часть изогнута с возможностью
примыкания к скатной поверхности рукава
рудоспуска 3, пропуска рудной массы и возврата к исходному положению под
воздействием собственной массы.
В
исходном положении створка 1
перекрывает разгрузочную камеру 5 от поступления пылегазовых загрязнений из
рудоспуска 4. Выгружаемая из доставочной
машины рудная масса попадает на
створку, которая отклоняется и пропускает ее в рукав рудоспуска 3.
Устройство экономически эффективно: по
сравнению с аналогами проще
в
конструктивном исполнении, для его изготовления требуется примерно в
Рис.5. Взрывоустойчивый
затвор рудоспуска:
1-створка; 2-ось вращения; 3-рукав рудоспуска; 4-рудоспуск;
5-разгрузочная камера; 6-отбойный брус; 7-направления движения ударной волны.
3-
4 раза меньше металла. Взрывоустойчивым названо устройство в связи с тем, что в
подземных условиях нередко происходит взрывание зарядов в разных местах: слева
или справа от створки. В предложенной конструкции направления ударных волн
показаны стрелками 7. В этой
конструкции створка приспособлена для пропуска взрывных ударных волн в обоих направлениях, что исключает ее
разрушение.
Литература
1.Патент
на полезную модель РФ №135360, МПК E21 F 5/00. Шахтная взрывоустойчивая перемычка/ Царикаев
В.К. – Опубл. 10.12.2013, Бюл. №34.
2. Патент на полезную модель РФ№134222, МПК E21 F 5/00. Шахтная взрывоустойчивая перемычка/ Царикаев
В.К. – Опубл. 10.11.2013, Бюл. №31.
3. Патент на полезную модель РФ №135720, МПК E21 F 5/00. Шахтная взрывоустойчивая перемычка/ Царикаев
В.К. – Опубл. 20.12.2013, Бюл. №35.
4. Патент на полезную модель РФ№135359, МПК E21 F 5/00.Взрывоустойчивая перемычка двустороннего
действия/ Царикаев В.К. – Опубл. 10.12.2013, Бюл. №34.
5. Патент на полезную
модель РФ №135722, МПК E21 F 17/103, Е21 F 1/16.Взрывоустойчивый затвор рудоспуска/ Царикаев
В.К. – Опубл. 20.12.2013, Бюл. №35.