Технические науки/3. Отраслевое машиностроение
К.т.н. Холодилин А.Н., инженер Панов
Е.И.
Оренбургский государственный университет, Россия
К определению основных параметров шнекового пресса
Процесс прессования вязких сред, в шнековых прессах, зависит от такого числа
геометрических, кинематических параметров и физических величин, что, практически невозможно составить
математическую модель, полностью описывающую процесс. Поэтому, все существующие
модели [2,5,6,7,8] составлены с какими либо допущениями, и, не учитывают те или
иные факторы влияющие на процесс.
В ряде работ [2,3,4,8], исследовано влияние
различных факторов на процесс прессования в шнековых прессах и проведен анализ
полученных результатов. Однако проведенные исследования не позволяют установить
взаимосвязь и оценить комплексное влияние этих факторов на основные параметры
процесса.
В качестве основных параметров, характеризующих
эффективность работы шнекового пресса, принимаем:
- Q, кг/с –
производительность шнекового пресса;
- N, Вт – потребляемая
мощность;
- Р, Па – давление создаваемое в прессе.
Для определения взаимосвязи между
геометрическими, кинематическими параметрами пресса и физико-механическими
свойствами продукта, влияющими на процесс, воспользуемся методом анализа
размерностей [1].
Рассмотрим факторы влияющие на эффективность
работы шнекового пресса. Это в первую очередь:
- его геометрические параметры – длина, шаг
винтовой линии, угол подъема витка шнека, его толщина, глубина винтового
канала, зазор между корпусом и шнеком;
- площадь живого сечения матрицы;
- кинематические параметры – частота вращения
шнека;
- физико-механические свойства продукта –
вязкость и плотность.

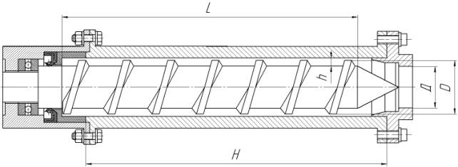
Рисунок 1 -
Геометрические параметры шнекового пресса
Так как
геометрические параметры шнека, а именно – диаметр, шаг, угол подъема витка,
его толщина и глубина винтового канала, могут быть переменными по его длине,
воспользуемся понятием – длина винтовой линии, которую свяжем с глубиной
винтового канала, что в свою очередь, позволит говорить об объеме продукта транспортируемого
шнеком.
В соответствии с рисунком 1, введем следующие
обозначения:
-
D, м – наружный диаметр шнека;
-
H, м – ширина винтового канала;
-
h, м – глубина винтового канала;
-
L, м - длина винтовой
линии;
- δ, м – толщина кольцевого зазора между
корпусом и шнеком;
-
F, м2 – площадь живого сечения матрицы;
-
n, с-1 – частота вращения шнека;
-
µ, Па с – вязкость продукта;
- ρ, кг/м3 – плотность
продукта.
Произведение
,
где:
m, кг - масса продукта
перемещаемого шнеком.
Связь между основными параметрами и величинами существенными для
рассматриваемого процесса, представим в виде функциональных зависимостей:
,
,
.
Представим функциональные зависимости в виде
степенных многочленов,
,
,
,
где:
R, W, V –
постоянные множители.
Проведя анализ размерностей этих величин,
,
,
,
получим:
,
,
.
Прировняв
показатели степени, при одинаковых основных единицах измерения и проведя
преобразования, приведем уравнения к следующему виду
,
,
.
После преобразования этих выражений, составим
критериальные уравнения

,
,
.
Определив, на основании экспериментальных данных,
постоянные множители R,W,V и
показатели степени, найдем значения определяемых критериев подобия и рассчитаем
значения основных параметров процесса. Тогда, взаимосвязь между основными
параметрами, может быть представлена в следующем виде
![]()
,
где Y,U – постоянные
множители.
Литература:
1.
Касаткин
А.Г. Основные процессы и аппараты химической технологии. М.: Химия, 1973. 752
с.
2.
Ким
В.С. Теория и практика экструзии полимеров. М.: Химия, Колос, 2005. 568 с.
3.
Мачихин
Ю.А., Берман Г.К., Клаповский Ю.В. Формование пищевых масс. М.: Колос, 1992.
272 с.
4.
Полищук
В.Ю., Коротков В.Г., Зубкова Т.М. Проектирование экструдеров для отраслей АПК.
Екатеринбург: УрО РАН, 2003. 203 с.
5.
Силин
В.А. Динамика процессов переработки пластмасс в червячных машинах. М.:
Машиностроение, 1979. 150 с.
6.
Тадмор
Э., Гогос К. Теоретические основы переработки полимеров. Пер. с англ. М.:
Химия, 1984. 628 с.
7.
Торнер
Р.В. Теоретические основы переработки полимеров. М.: Химия, 1977. 452 с.
8.
Шенкель
Г. Шнековые прессы для пластмасс. Л.: Госхимиздат, 1962. 467 с.