Мельник В.М. Тривайло М.С., Карачун
В.В.
Національний технічний
університет України «КПІ»
ГЛУШНИК ШУМУ ГАЗОВОГО СТРУМЕНЯ
Пропонуєма
конструкція відноситься до машинобудування, а саме, до глушників шуму, і може
бути використана для зниження шуму різноманітних пневмосистем при викиданні
відпрацьованих газових струменів в атмосферу.
Відомий
глушник шуму газового струменя, який містить циліндричний корпус з осьовим
каналом і конічним дифузором, кришку з конічним виступом і розташовану між
корпусом і кришкою шайбу із пористого матеріалу, а також елементи кріплення. Недолік
цього глушника полягає в обмеженій пропускній спроможності, що звужує сферу
його використання.
Відомий також
глушник шуму газового струменя, який містить циліндричний корпус з центральним
каналом і радіальними отворами та приєднану до корпусу стаканоподібну втулку з
пористого матеріалу. Його недолік полягає в низькій ефективності глушіння шуму
внаслідок відсутності просторового переміщення газового струменя в центральному
каналі корпусу.
В основу пропонуємої
конструкції поставлена задача вдосконалення глушника шляхом введення в його
конструкцію додаткового елемента, що забезпечує просторове, замість поступального
в найближчому аналозі, переміщення газового струменя в центральному каналі
корпусу, а це приводить до додаткового розсіювання звукової енергії струменя, а
отже, і до зростання ефективності захисту від шуму.
Поставлена
задача вирішується тим, що в глушник шуму газового струменя, який містить
циліндричний корпус з центральним каналом і радіальними отворами та приєднану
до корпусу втулку з пористого матеріалу, згідно корисної моделі новим є те, що
він обладнаний розміщеною в центральному отворі корпусу пластиною, яка має
гвинтову форму.
Зазначені
відмітні ознаки забезпечують просторове (гвинтове) переміщення газового
струменя, замість поступального (прямолінійного) переміщення в найближчому
аналозі, що викликає його турбулізацію. Турбулізація газового струменя, як
відомо, збільшує розсіювання звукової енергії, а це додатково зменшує його звукову
потужність, внаслідок чого ефективність глушіння шуму зростає.

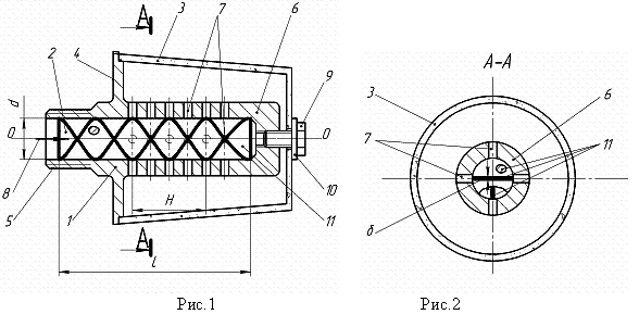
Пропонуємий
глушник газового струменя зображений на рис.1, загальний вигляд; на рис.2 –
переріз А-А на рис.1.
Глушник
містить циліндричний корпус 1 з центральним діаметром «d», каналом 2 і приєднану до
корпусу стаканоподібну втулку 3 з пористого матеріалу, наприклад, поліетилену
або іншого відомого матеріалу. Корпус 1 виконаний в формі диска 4 з штуцером 5
на одному торці та хвостовиком 6 на іншому торці. Хвостовик 6 має радіальні
отвори 7 для подрібнення газового струменя 8, а втулка 6 приєднана до корпусу 1
вгвинченим в його хвостовик болтом 9 з шайбою 10. Глушник обладнаний розміщеною
в центральному каналі 2 корпусу 1 пластиною 11, яка має гвинтову форму.
Гвинтова форма пластині 11 надається при її виготовленні шляхом закручування
плоскої, товщиною «δ», металевої пластини навколо своєї поздовжньої осі
«О-О» в коловому напрямку до одержання гвинтової поверхні з необхідним кроком
«Н» на довжині «L».
Працює
глушник наступним чином. При надходженні відпрацьованого газу в канал 2, його
струмінь 8 поділяється на два потоки, кожний з яких модулюється пластиною у
гвинтову форму, отримуючи таким чином, окрім основного поступального, ще і
додатковий обертальний рух навколо осі «О-О», внаслідок чого потік турбулізується,
а тому втрачає певну частину своєї звукової енергії, що викликає початкове
глушіння шуму. Потім струмінь 10 надходить в отвори хвостовика 6, подрібнюється
і, розширюючись, досягає стінок втулки 3, внаслідок чого втрачає ще частину
своєї звукової енергії. Надалі стиснутий газ проходить крізь пори втулки 3 і
виходить в атмосферу повністю або суттєво втративши свою початкову звукову
енергію.
Так як
переміщення газового струменя в осьовому каналі здійснюється з додатковим
наданням йому обертового руху, тобто з утворенням багаторазових акустичних
поворотів, що відсутнє в найближчому аналізі і викликає додаткове
розсіювання звукової енергії, то
звукова енергія газу, що надходить в навколишнє середовище, зменшується, що
підвищує ефективність глушіння шуму.
Глушник має
просту конструкцію і не потребує суттєвих затрат на впровадження.