Дудин
В.Ю., Ивлев В.В., Малый А.С.
Днепропетровский государственный аграрно-экономический университет, Украина
МАЛОГАБАРИТНАЯ
ПЛИТНО-ВАЛЯЛЬНАЯ МАШИНА ДЛЯ ПРОИЗВОДСТВА УТЕПЛИТЕЛЯ ЖИВОТНОВОДЧЕСКИХ ПОМЕЩЕНИЙ
В 2014 году объемы невостребованной
шерсти в Украине составили 3415 тонн, в том числе: грубой – 500 т, малоценной –
490 т, проблемной – 1280 т, дефектной – 1145 т. Однако с переработкой этой
шерсти имеются определенные проблемы: она либо реализуется по низкой цене, либо
совсем не используется по назначению. При такой ситуации возникла необходимость
в разработке новых механизированных технологий и создании технических средств
для переработки невостребованной шерсти в товарную продукцию непосредственно в
местах ее производства. Такой подход будет стимулировать товаропроизводителя за
счет повышения реализационных цен на конечную товарную продукцию.
По результатам последних
исследований и публикаций выявлено, что наиболее эффективным и приемлемым для
условий сельскохозяйственного производства является способ ударно-вибрационного
уплотнения влажной шерсти в войлочный пласт. Поэтому в Институте механизации
животноводства (ИМЖ НААН, г. Запорожье) разработана новейшая технология и
создан экспериментальный образец малогабаритной плитно-валяльной машины ПВМ-1
для переработки невостребованной шерсти в экологически безопасную товарную продукцию
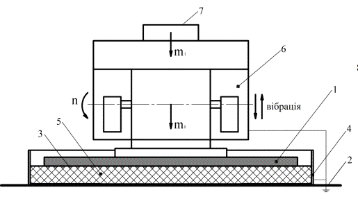
в виде утеплителя животноводческих помещений (рис. 1).
Основою предлагаемого
изделия является двухплитный модуль, плиты которого во взаимосвязи и парном взаимодействии
обеспечивают интенсивное ударно-механическое виброуплотнение слоя влажной
грубой шерсти с регулируемой частотой ударов (от 1600 до 2700 уд./мин.).

а)
технологическая схема

б)
общий вид
Рис.
1. Малогабаритная плитно-валяльная машина ПВМ-1: 1 – верхняя подвижная плита; 2
– нижняя неподвижная плита; 3 – рифли; 4 – поддон; 5 – слой шерсти; 6 – мотор-вибратор; 7 – дополнительная
нагрузка
Испытания созданного
экспериментального образца изделия проведены в 2014 году в частном предприятии
«Романцов И. М.», г. Запорожье в составе технологического модуля первичной
обработки шерсти ТМ ПОВ-8,0 по технологии ИМЖ НААН. За период испытаний
осуществлена первичная обработка и переработка 400 кг грубой овечьей шерсти в
войлочный пласт.
В процессе испытаний
установлено, что предлагаемая конструкция малогабаритной плитно-валяльной
машины ПВМ-1 обеспечивает с производительностью 1,65 кг/ч при потребляемой мощности
0,25 кВт производство войлочного пласта площадью 0,25 м2 толщиной до
0,02 м массою 1,0 кг со средней плотностью 100-160 кг/м3 при
технологической норме 140-180 кг/м3.
Полученные результаты
исследований свидетельствуют о высокой эффективности и перспективности
применения малогабаритной плитно-валяльной машины ПВМ-1 в составе линий
первичной обработки шерсти.
Литература:
1. Наумов О. Б.
Організація виробництва та первинної обробки вовни у місцях сировинної бази.
Автореф дис. … канд. техн. наук: 08.06 01 / О. Б. Наумов. – К.: НАУ, 2000. – 22
с.
2. Сокол О. І. Шляхи
відродження вівчарства України / О. І. Сокол. – Харків: Бізнес Інформ, 2001. –
С. 63.
3.
Туринський В. М. Обґрунтування і розробка системи технологічних рішень та способів
виробництва продукції вівчарства: дис. … доктора с.-г. наук: 06.02.04 /
Туринський Василь Михайлович. – Асканія-Нова, 2005. – 416 с.
4.
Сухарльов В. О. Переробка овечої вовни у малих підприємствах / В. О. Сухарльов,
В. В. Лиходід, І. М. Романцов // Проблеми зооінженерії та ветеринарної
медицини: Зб.наук. пр. - Вип.16 (41). - Ч.1 - Сільськогосподарські науки / М-во
аграр. політики України, Харківська держ. зоовет. акад. – Харків: РВВ ХДЗВА,
2008. - С.292-296.
5. Лиходід В. В.
Технологічний модуль первинного оброблення вовни ТМ ПОВ-8,0 в умовах
господарств / В. В. Лиходід, В. М. Забудченко, І. С. Цис // Вісник
Дніпропетровського державного аграрного університету «Сучасні проблеми
землеробської механіки». - Спец. вип. №2-09. - Дніпропетровськ: ДДАУ, 2009. -
С.157-161.