Ткачук А.Г., кандидат технічних наук
Житомирський державний технологічний
університет, Україна
ГРАДУЮВАЛЬНА ХАРАКТЕРИСТИКА
ГРАВІМЕТРА, ЧУТЛИВИЙ ЕЛЕМЕНТ ЯКОГО ПРАЦЮЄ НА ОСНОВІ ФІЗИЧНОГО ЯВИЩА
ПРЯМОГО П’ЄЗОЕФЕКТУ
Вивченню
та дослідженню коливальних процесів приділяється велика увага при розробці та
експлуатації різноманітних технічних і технологічних пристроїв, в енергетиці,
металургії, машинобудуванні, авіаційній та ракетно-космічній техніці,
суднобудуванні, геології, медицині. В останні роки широке поширення набувають
вимірювально-інформаційні системи віброконтролю, моніторингу, діагностики та
автоматичного керування складними технічними системами і технологічними
процесами, що дають не тільки великий техніко-економічний ефект, а й сприяють
запобіганню аварій та можливих екологічних катастроф.
Початковою
ланкою таких систем є датчики параметрів вібраційних та ударних коливань, які
здійснюють перетворення вимірюваної механічної величини в електричний сигнал,
що надходить на реєструючий пристрій.
Зосередимо
детальніше увагу на датчиках параметрів вібраційних коливань в авіаційних
гравіметричних системах (АГС) для дослідження параметрів гравітаційного поля
Землі (зокрема, її гравітаційних аномалій). В АГС такі датчики називаються
гравіметрами і вимірюють вони прискорення сили тяжіння. Аналіз сучасної
літератури показав, що найбільш відомими сьогодні є гравіметри: кварцовий
ГАЛ-С, розроблений Аерогравіметричною лабораторією в Інституті Фізики Землі
Російської академії наук; кварцовий ГІ 1/1, розроблений “Раменським
приладобудівним заводом”; струнний
“Гравітон-М”, розроблений ДНВП “Аерогеофізика” разом із МДТУ ім. М. Баумана та “ВНДІГеофізика”;
кварцовий “Чекан-АМ”, розроблений ВАТ
концерн “ЦНДІ “Електроприлад”;
магнітні МАГ-1 та GT-1A, розроблені у ПАТ “Гравіметричні
технологіі” та “Canadian Micro Gravity” відповідно; гіроскопічні PIGA 16, PIGA
25, розроблені у Массачусетському технологічному інституті. Точність перерахованих гравіметрів
недостатня: (3 – 10) мГал. Швидкодія їх також мала. Вони не автоматизовані.
Обробка результатів проводиться після льоту ЛА на Землі протягом місяців часу.
До того ж ці гравіметри вимірюють разом із прискоренням сили
тяжіння вертикальне прискорення
. Високоточне вимірювання
є складною науково-технічною проблемою і
вимагає застосування додаткових фільтрів. У НТУУ “КПІ” розроблено та
досліджено автоматизовані гіроскопічні вимірювачі. Однак, точність їх недостатня (2 мГал) [1].
Тому розроблено
новий п’єзоелектричний гравіметр (ПГ) автоматизованої авіаційної гравіметричної
системи [2,3] для підвищення точності вимірювання
прискорення сили тяжіння.
Чутливий елемент (ЧЕ) ПГ АГС складається із
п’єзоелектричного елемента, що працює на основі деформації стиснення-розтягування,
із ізоляторів на торцях та інерційної маси. З метою підвищення надійності та
міцності конструкції, ЧЕ пружно піджатий до основи гвинтом. Гравіметр за
допомогою кабелю з’єднаний із операційним підсилювачем. П’єзоелемент
являє собою багатошарову конструкцію (п’єзопакет), що складається із шарів
кристалічного ніобату літію з антипаралельною поляризацією і електродами,
розділеними з’єднувальними шарами. Це можуть бути зварювальні шви, клейові шари
або інші контактні з’єднання. Шари п'єзоелектричного елемента з’єднані електрично
паралельно. Принцип дії
гравіметра оснований на фізичному явищі прямого п’єзоефекту [2].
Градуювання
- це метрологічна
операція, за допомогою якої засіб вимірювань (міра або вимірювальний прилад)
забезпечується шкалою або градуювальною таблицею (кривою) [2]. Для цього використаємо установку (рис. 1),
яка складається із оптичної ділильної головки 1, ПГ 2, встановленого на
кронштейні 3, блоку підсилення 4, модуля введення-виведення 5 та ЕОМ 6.

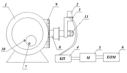
Рис.
1. Експериментальна установка для градуювання ПГ: 1 – оптична ділильна головка;
2 – ПГ; 3 – кронштейн; 4 – блок підсилення; 5 – модуль введення-виведення; 6 –
ЕОМ; 7,10 – поворотні ручки; 8 – вал; 9 – відлікова шкала; 11 – прижимні гайки
Градуювання
ПГ відбувається при нахиленні його вимірювальної осі ОZ за допомогою
оптичної ділильної головки на деякий кут az. Градуювання ПГ реалізується за допомогою
поворотної ручки 7 оптичної ділильної головки 1. При цьому повертається вал 8,
кронштейн 3, а також закріплений на кронштейні ПГ 2. Кут повороту az
керується по відліковій шкалі 9. Вихідний сигнал ПГ 2 відображається на ЕОМ 6.
Було отримано
результати gzЕКСП градуювання ПГ експериментальним шляхом та порівняно їх із аналітичними
розрахунками (gzТЕОР
= g·cosaz). Встановлено, що різниця між відхиленнями вимірювальної осі ПГ
автоматизованої АГС на кут az
обчисленими аналітично та отриманими експериментально не перевищує 1 мГал. Кут
повороту його вимірювальної осі відносно довідкової вертикалі впливає прямо
пропорційно на його вихідні покази та величину його похибки.
Оскільки
гравіметричні вимірювання проводяться на рухомій у просторі основі, тому
необхідно постійно забезпечувати збіг вимірювальної осі ПГ АГС із довідковою
вертикаллю. Для реалізації цього процесу запропоновано побудувати систему
стабілізації АГС, яка забезпечує рівень допустимої похибки стабілізації осі чутливості
ПГ у положення вертикалі у межах 0,5-15 кут. хв. [5].
Висновки
Розглянуто новий ПГ
автоматизованої АГС, який має більші
точність та швидкодію, ніж відомі на сьогоднішній день. Принцип дії ПГ
оснований на фізичному явищі прямого п'єзоефекту. Приведено рівняння руху ПГ
АГС. Розраховано аналітично градуювальну характеристику ПГ автоматизованої АГС та порівняно її із
градуювальною характеристикою отриманою за допомогою розробленого лабораторного
макету. Встановлено, що точність нового ПГ складає 1 мГал, а кут повороту його
вимірювальної осі відносно довідкової вертикалі впливає прямо пропорційно на
його вихідні покази та величину його похибки.
Литература:
1.
Безвесільна О.М. Авіаційні гравіметричні системи та гравіметри:
монографія / Безвесільна О. М. – Житомир : ЖДТУ, 2007. – 604 с.
2.
Безвесільна О.М. П’єзоелектричний гравіметр авіаційної гравіметричної
системи: монографія / О.М. Безвесільна, А.Г. Ткачук. – Житомир : ЖДТУ, 2013. –
240 с.
3.
П’єзогравіметр: Патент України на винахід 99084, МПК G 01 V 7/00 / О.М.
Безвесільна, Ю.О. Подчашинський, А.Г. Ткачук - № а201113894; Заявл. 25.11.2011; Опубл. - 10.07.2012. - Бюл. № 13.
4.
Безвесільна О.М.
Структурна схема перетворення вхідного
сигналу чутливим елементом п’єзоелектричного гравіметра авіаційної
гравіметричної системи / О. М. Безвесільна, А.Г. Ткачук // Міжнар. наук.
журнал «Технологічні комплекси». – 2013. – № 1(7). – С. 43–50.
5.
Безвесільна О.М.
Система стабілізації вимірювальної осі п'єзогравіметра авіаційної
гравіметричної системи у положення вертикалі / О. М. Безвесільна, А.Г. Ткачук
// Вісник інженерної академії України. – 2013. – №1. – С. 10–12.