Карачун В.В.

Національний технічний університет України «КПІ»

ІНТЕНСИФІКАЦІЯ ГЛУШІННЯ ГАЗОВОГО СТРУМЕНЯ

Конструкція відноситься до машинобудування, зокрема до глушників шуму газового струменя і може бути використана в двигунах внутрішнього згоряння.

Відомий глушник шуму газового струменя (ГШ), який містить складений щонайменше з двох коаксіальних циліндрів корпус з впускним і випускним патрубками та торцевими і внутрішніми перегородками,  а також розміщену в отворах внутрішніх перегородок трубу з заглушкою та отворами на одному кінці (патент України на корисну модель № 7473, F01N1/00, 2005).

Недолік цього ГШ полягає у відносно складній конструкції, що є наслідком великої кількості внутрішніх перегородок і труднощами виготовлення.

Відомий також ГШ, який містить циліндричний корпус з отворами для виходу струменя і кришками на торцях, одна з яких має впускний патрубок, а також розміщені вздовж осі корпусу прилегло до його кришок центральну і додаткову труби з отворами на протилежних кінцях (патент Російської Федерації на винахід № 2062889, F01N1/00, 1996).

Недолік відомого ГШ полягає у відносно низькій ефективності глушіння шуму внаслідок прямолінійного переміщення газового струменя, який охоплює додаткову трубу.

В основу пропонуємої моделі поставлена задача підвищення інтенсивності глушіння шуму шляхом зміни форми центральної і додаткової труб, що  забезпечить просторове, замість прямолінійного, переміщення газового струменя в мінливому об’ємі акустичного середовища та зміну напрямку руху, а  це збільшить дисипацію звукової енергії струменя і, отже, підвищить ефективність глушіння шуму.

Поставлена задача вирішується тим, що в ГШ, який містить циліндричний корпус з отворами і кришками на торцях, одна з яких має впускний патрубок, а також розміщені уздовж осі корпусу прилегло до його кришок центральну і додаткову труби з отворами (перфорацією) на протилежних кінцях, центральна труба закінчується з’єднаною з нею перфорованою половиною центральною порожнистою сферою, а додаткова труба замінена на концентричну з центральною сферою додатковою сферою більшого радіуса і охоплює центральну в такий спосіб, що перфоровані і суцільні їх поверхні розташовуються напроти одна до одної.

Зазначена відмітна ознака забезпечує просторове (тривимірне) переміщення в змінному об’ємі акустичного середовища та зміну напрямку руху прийдешнього з центральної труби до центральної сфери, потім до додаткової сфери і через її перфорацію до внутрішньої порожнини циліндричного корпусу, а потім через отвори в навколишнє середовище, газового струменя, замість прямолінійного переміщення в найближчому аналогу, що викликає інтенсифікацію глушіння звукової енергії струменя і призводить до підвищення ефективності глушіння шуму (див., наприклад, В.И. Заборов, Л.Н. Клячко, Г.С. Росин, Защита от шума и вибраций в черной металлургии. - М.: Металлургия, 1976, с. 98, рис. 31).

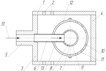
На рисунку зображений ГШ в поздовжньому перерізі.

ГШ містить циліндричний корпус 1 з отворами 2 і кришками 3, 4, одна з яких має впускний патрубок 5. По осі корпусу 1, прилегло до кришки 3, розміщена центральна труба 6, на протилежному кінці якої закріплена перфорованою отворами 8 половиною 7 центральна  порожниста сфера, а дальня її половина 9 має суцільну поверхню. Додаткова сфера більшого радіуса концентрично у такий спосіб охоплює центральну сферу, що перфорована отворами 10 її поверхня 11 і перфорована поверхня 9 центральної сфери, а також суцільна поверхня 12 і перфорована отворами 8 поверхня 7 центральної сфери розташовуються напроти одна до одної. Отвори 2 в корпусі 1, отвори 8 в центральній сфері 7 та отвори 10 в додатковійй сфері 11 виконані у вигляді перфорації і слугують подрібненню та подальшому надходженню газового струменя із патрубка 5 через глушник до оточуючого середовища. Центральна і додаткова сфери слугують миттєвому розширенню акустичного середовища і додатковій втраті певної частки звукової енергії.

Працює ГШ наступним чином.

При надходженні ззовні стиснутого відпрацьованого газу 13 в порожнину центральної труби 6, його струмінь потрапляє до центральної сфери і, миттєво розширюючися в її об’ємі, втрачає певну частку  звукової енергії, а потім проходить крізь отвори 8 перфорації до порожнини додаткової сфери подрібненим. Знову розширюючися в додатковій сфері, втрачає частку звукової енергії і крізь перфорацію 10, вдруге подрібнюючися, попадає до порожнини корпусу 1, а з неї виходить крізь отвори 2 до навколишнього середовища значно втративши первісну звукову енергію.

Оскільки переміщення газового струменя 13 з центральної сфери в порожнину додаткової сфери, а потім до внутрішньої порожнини корпусу 1 тричі супроводжується миттєвим збільшенням об’єму акустичного середовища, подрібненням струменя перфорацією і багаторазовою реверберацією від внутрішніх поверхонь сфер і корпуса, що відсутнє в найближчому аналогу, відбувається суттєва дисипація початкової енергії струменя, який надходить до оточуючого середовища, що збільшує ефективність шумогасіння.

Глушник шуму газового струменя має просту конструкцію і не потребує суттєвих затрат на впровадження.