Мельник В.М.
Національний
технічний університет України «КПІ»
ДИСИПАЦІЯ ЕНЕРГІЇ ГАЗОВОГО СТРУМЕНЯ
Пропонуєма конструкція належить
до машинобудування, а саме до глушників шуму, і може бути використаний для
зниження шуму різноманітних пневмосистем шумонебезпечного обладнання при викиді відпрацьованих газових
струменів в оточуюче середовище.
Відома конструкція глушника шуму
газового струменя, яка містить корпус і канал з вхідним і конусоподібним
розширним вихідним отворами, з’ємну кришку з конічним виступом, що входить
усередину каналу, а також кільце із звукопоглинаючого матеріалу для
перекривання вихідного отвору з можливим регулюванням останнього [1].
Газовий струмінь при надходженні
в канал глушника розширюється і на виході, завдяки конічному виступу на кришці,
змінює свій напрям на 900. Внаслідок цього, газовий струмінь втрачає
свою швидкість, що призводить до зменшення його акустичної енергії. Ця енергія
втрачається також за рахунок поглинання стінками каналу, облицьованих
звукопоглинаючим матеріалом. Значна частка акустичної енергії втрачається за
рахунок тертя при проходженні газового струменя крізь пористе звукопоглинаюче
кільце.
Кільце може бути заміненим, а
його ширина може регулюватися за допомогою гвинтів. Заміна ширини
звукопоглинаючого кільця дозволяє регулювати швидкість газового струменя на
виході. Внаслідок цього, такий глушник можна вживати для глушіння газових
струменів різної швидкості. Зниження шуму за допомогою такого глушника складає
7 дБ, а на високих частотах сягає 15 дБ. Звукопоглинаючим матеріалом в
глушнику може бути, наприклад, пористий поглинач вініпор.
Недоліком цього технічного
рішення постає його недостатня пропускна спроможність, що обмежує галузі
використання, а також відносно невелика ефективність шумогасіння газового
струменя з причини наявних недоліків обраного технічного рішення.
Відомий також глушник шуму
газового струменя, що містить металокерамічний елемент у вигляді стакану, який
кріпиться до штуцера гвинтом, а частина штуцера, що знаходиться в порожнині
стакану, перфорована отворами для попереднього подрібнення основного струменя
відпрацьованого стиснутого повітря. Металокерамічний елемент має пористість
40%, йому притаманний незначний протитиск, який становить
. Стиснуте повітря в глушнику проходить крізь пори
металокерамічного фільтру, внаслідок чого рівень шуму вихлопу знижується на 15
– 20 дБ на середніх і на 25 – 30 дБ на високих частотах [2].
Недолік цього технічного рішення
полягає в недостатній ефективності глушіння шуму газового струменя.
Перш за все, це обумовлене тим,
що внутрішній порожнистий канал штуцера має незмінний діаметр вздовж усієї
своєї протяжності і тому виключена миттєва зміна швидкості газового струменя,
що рухається по ньому.
По-друге, зміна напряму руху
газового струменя усередині штуцера на кут 900 відбувається лише
одного разу, коли відпрацьований газовий струмінь надходить із штуцера до
порожнини металокерамічного стакану
крізь перфорацію.
По-третє, недостатня ефективність
шумогасіння породжена низькою турбулентністю газового струменя при надходженні
крізь отвори штуцера до порожнини керамічного стакану.
В основу пропонуємої конструкції
поставлена задача підвищення ефективності глушіння шуму різноманітних
пневмосистем шумонебезпечного обладнання при викиді відпрацьованих газових
струменів в оточуюче середовище шляхом інтенсифікації розсіяння енергії
примусовим формуванням просторової
структури руху газового струменя і забезпеченням високої його
турбулентності при надходженні до керамічного стакану.
Поставлена задача вирішується
тим, що пропонуєма конструкція усуває недоліки відомого рішення і пропонує нове
ефективне технічне рішення з новим технічним результатом.
Пропонуємий глушник шуму газового
струменя містить металокерамічний елемент у вигляді стакану, який кріпиться до
штуцера гвинтом, а частина штуцера, що знаходиться в порожнині стакану,
перфорована отворами для попереднього подрібнення основного струменя
відпрацьованого стиснутого повітря, частина штуцера, що знаходиться в порожнині
стакану, виконана у вигляді трубчастого кільця з шумопоглинаючим покриттям
внутрішньої поверхні, кінці якого приєднані до камери з отворами для виходу відпрацьованого
струменя, а внутрішній діаметр трубки кільця в два рази менший за внутрішній
діаметр штуцера.
Аналіз причинно-наслідкових
зв’язків дозволяє дійти висновку, що наведені ознаки пропонуємого глушника шуму
газового струменя належать до суттєвих, бо забезпечують досягнення нового
технічного результату, вигідно відрізняючи заявлений винахід від відомих.
Технічний результат від
використання пропонуємого глушника газового струменя забезпечується виконанням
частини штуцера, що знаходиться в порожнині стакану у вигляді трубчатого кільця
з шумопоглинаючим покриттям внутрішньої поверхні, кінці якого приєднані до
камери з отворами для виходу відпрацьованого струменя, а внутрішній діаметр
трубки кільця в два рази менший за діаметр штуцера.
Трубчасте кільце штуцера
примусово створює просторову структуру руху газового струменя і разом із тертям
о звукопоглинаючу внутрішню поверхню інтенсифікує розсіяння звукової енергії.
Надходження газових струменів в
камеру великого об’єму спонукає додаткову втрату звукової енергії, а зустріч
цих потоків в камері на протиході
дозволяє розсіяти левову частку енергії струму і підвищити його турбулентність.
Вихід відпрацьованого струменя
через отвори камери вкотре змінить напрям руху потоку на 900, що
буде слугувати додатковій втраті енергії струменя.
Сукупність наведених ознак
забезпечує досягнення нового технічного результату.
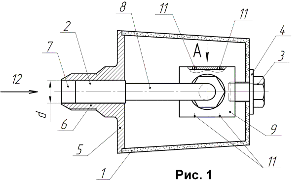
На рис. 1 наведений в
поздовжньому перерізі загальний вид заявленого глушника шуму газового струменя
з штуцером у вигляді трубчастого кільця усередині металокерамічного стакану;
На рис. 2 показаний вид А на рис.
1.
Пропонуємий глушник шуму газового струменя призначений
для зниження шуму різноманітних пневмосистем шумонебезпечного обладнання при
викиді відпрацьованих газових струменів в оточуюче середовище і містить
металокерамічний елемент 1 у вигляді
стакану, що кріпиться до штуцера 2 гвинтом 3 через шайбу 4 і приєднаний до
дископодібного корпусу 5 з хвостовиком 6 з центральним каналом 7 діаметром “d” (рис. 1). Штуцер 2 своєю циліндричною хвостовою
частиною встановлений в канал 7, а іншою частиною у вигляді двох, покритих
зсередини звукопоглинаючим матеріалом, колових трубок 8, у два рази менших в
діаметрі за штуцер 2, тобто
, з’єднаний з камерою
9 гайками 10 (рис. 2). Камера 9 має вісім (або більше) отворів 11, через які до
порожнини стакану 1 надходить відпрацьований газовий струмінь.


Рис. 2
Робота пропонуємого глушника шуму
газового струменя здійснюється наступним чином. При надходженні ззовні до
штуцера 2 газового струменя 12, він поділяється на два однакових потоки 13 і
14, які рухаються по колу і потрапляють до порожнини камери 9, втрачаючи на
своєму шляху певну частку звукової енергії внаслідок тертя о внутрішню
звукопоглинаючу поверхню трубок 8 та зміну напряму руху. Усередині камери 9
потоки газового струменя 13 і 14 потрапляють в значно більший об’єм і втрачають
при цьому частину своєї звукової енергії. Зустріч струменів 13 і 14 в камері 9 на
протиході дозволяє розсіяти левову частку звукової енергії, різко збільшити
турбулентність газового струменя і крізь отвори 11 до порожнини
металокерамічного стакану 1 пропустити значно ослаблений і подріблений газовий
струмінь знову змінивши напрям його руху на 900, який надалі крізь
пори стакану вийде в оточуюче середовище додатково втративши звукову енергію.
Таким чином, використання пропонуємого
глушника шуму газового струменя дозволить,
за допомогою нових властивостей, підвищити ефективність глушіння шуму газового
струменя за рахунок інтенсифікації розсіяння первісної енергії прийдешнього
ззовні через штуцер газового струменя.
1.
А.с. 699542 СССР, М.Кл.2
G10К 11/00. Глушитель шума газового потока [Текст]/ Л.В. Кивленок,
В.М. Леонтьев (СССР). – № 2571615/28-10; заявл. 16.01.78; опубл. 25.11.79, Бюл.
№43. – 1.с.: ил.
2.
Заборов, В.И. Защита от
шума и вибраций в черной металлургии [Текст]/ В.И. Заборов, Л.Н. Клячко, Г.С. Росин;
под. ред. В.И. Заборова. – М.: Металлургия, 1976. – 248 с.