Мельник В.М., Тривайло М.С., Карачун
В.В., Буртна І.А.
Національний технічний університет України
«КПІ»
АКТИВІЗАЦІЯ РОСТУ КЛІТИН ЕФЕКТИВНІСТЮ МАСООБМІНУ
Пропонуєма модель відноситься до біотехнології і може бути використана для
культивування клітин в рідинних середовищах при виготовленні
біологічно-активних речовин і вакцин. Відомий апарат для культивування клітин,
який містить циліндричний корпус з технологічними патрубками, пустотілий вал з
регульованим по частоті обертання приводом, закріплену на валу мішалку у
вигляді чотирьохланкового шарнірного механізму з лопатками, фільтр і аератор.
Недоліки цього апарату полягають в складності конструкції внаслідок
наявності в ній регульованого приводу та складної форми мішалки, нерівномірному
перемішуванні робочої рідини по її висоті та діаметру, забруднені робочої
рідини продуктами зносу, що виникають в результаті механічного тертя в
шарнірному механізмі та пошкодження клітин.
Відомий також апарат, який містить вертикально розташований циліндричний
корпус з технологічними патрубками, розміщені в корпусі по його осі встановлені
один в інший два вали з радіально приєднаними до них перемішуючими лопатками,
привод і аератор.
Цей апарат простіший від попереднього, але також має вади масообміну
робочої рідини по діаметру (тобто центральних та периферійних частин) та висоті
внаслідок співвісного розташування валів та бокового приєднання до них
перемішуючих пластин, що уповільнює ріст клітин, а отже, знижує продуктивність.
Це і є його основним недоліком. Крім цього, має складну конструкцію та
підвищену матеріалоємність, що слугує іншим його недоліком.
В основу пропонуємої моделі поставлена задача вдосконалення апарата шляхом
зміни розташування валів та приєднання до них перемішуючих лопаток. Це забезпечить підвищення інтенсивності
перемішування робочої рідини в корпусі по його діаметру і висоті та приведе до
зростання продуктивності при одночасному спрощенні конструкції і зниженні
матеріалоємності.
Поставлена задача вирішується тим, що в апараті, який містить вертикально розташований
циліндричний корпус з технологічними патрубками, розміщені в корпусі вздовж
його осі два вала з перемішуючими лопатками, привод і аератор, згідно з пропонуємою
моделлю новим є те, що вали розміщені діаметрально протилежно (тобто не
співвісно) відносно осі корпусу, а лопатки приєднані до їх торців (рис.1).

Вказана відмінність дозволяє інтенсифікувати перемішування зовнішніх
(периферійних) і центральних частин біомаси та забезпечити рівномірність
перемішування по висоті, що прискорює ріст клітин і підвищує продуктивність.
Крім цього, в декілька разів скорочується довжина валів та кількість
перемішуючих лопаток і зубчастих коліс в приводі, що також спрощує конструкцію
та знижує її матеріалоємність.
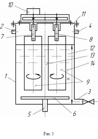
Сутність пропонуємої моделі пояснюється кресленням, на якому схематично
зображено пропонуємий апарат, поздовжній розріз. Він містить вертикально
розташований циліндричний корпус 1 з патрубком 2 для введення живильної рідини
і посівного матеріалу, патрубком 3 для видалення готового продукту, патрубком 4
для видалення відпрацьованого газу і патрубком 5 з аератором 6. В корпусі 1,
діаметрально протилежно відносно його осі, розташовані однакові вали 7, 8, до
торців яких приєднані перемішуючі лопатки 9. Вали 7, 8 приєднані до
мотор-редуктора 10 встановленого на кришці 11 корпусу 1.
Працює апарат наступним чином. В попередньо простерилізований корпус 1
через патрубок 2 вводять живильну рідину і посівний матеріал (інокулят), після
чого в аератор 6 подають газ для аерації культурального середовища і вмикають
мотор-редуктор 10, який приводить в обертання вали 7, 8 з лопатками 9. Лопатки
7, 8 надають робочій рідині 12 складний рух і перемішують її.
Завдяки тому, що вали 7, 8 розміщені діаметрально протилежно відносно осі
корпусу 1, замість співвісного розташування, лопатки 9, крім надання колового
руху навколо осі корпусу 1, однією стороною захоплюють центральні (внутрішні)
шари 13 робочої рідини 12 і пересувають їх радіально до зовнішньої
(периферійної) частини 14 корпусу, а іншою стороною навпаки.
Таким чином внаслідок руху робочої рідини в радіальному напрямку виникає і
її додаткове перемішування, що поліпшує життєдіяльність клітин і приводить до
зростання продуктивності апарату в цілому. Наряду з цим, спрощується сама конструкція
апарату та знижується матеріалоємність внаслідок зменшення розмірів валів та
числа лопаток і зубчастих коліс в приводі.
