Мельник В.М.
Національний технічний університет України «КПІ»
ГАЗЛІФТНИЙ
БАРБОТАЖНИЙ АПАРАТ
ІЗ ШТУЧНОЮ ГВИНТОВОЮ ЦИРКУЛЯЦІЄЮ
Конструкція
належить до біотехнології, а саме до газліфтних барботажних апаратів, і може
бути використаний для культивування мікроорганізмів в рідинних середовищах при
виготовленні вакцин та біологічно-активних речовин.
Відомий
апарат для вирощування мікроорганізмів, який містить ємкість з технологічними
патрубками, розміщені в ємкості циркуляційний стакан і аератор, систему
рециркуляції середовища, яка складається з відвідного трубопроводу, збудника
розходу, підвідного трубопроводу і підключеного до нього пристрою для
розбризкування культурального середовища, що розміщений у верхній частині
ємкості [1].
Апарат має
можливість працювати при підвищеному барботуванні культуральної рідини в
ємкості, тобто за інтенсивного постачання мікроорганізмів киснем, отже і за
енергійного постачання поживними речовинами. Це забезпечено усуненням
стримуючої інтенсифікацію дріжджезростаючого процесу від’ємного зворотнього
зв’язку між газовмістом культурального середовища в ємкості і інтенсивністю
тепломасообмінних процесів в апараті загалом.
Зазначений
від’ємний зв’язок ліквідується за
рахунок запровадження в конструкцію апарата відвідного патрубка піни в складі
гідроциклона та ежектора. Недоліком цього технічного рішення постає досить
висока матеріалоємкість апарату, підвищене піноутворення, відносно невисока
продуктивність технологічного процесу внаслідок пасивного перемішування і
практично ламінарного поступального руху робочої рідини, і тільки паралельно
осі апарату, а також наявність неминучих при цьому застійних зон в придонному
прошарку та на периферії апарату (на внутрішніх бічних стінках), що зумовлене
обмеженими можливостями обраного технічного рішення.
Відома також
конструкція газліфтного барботажного апарату, який містить вертикально
розташований циліндричний корпус з технологічними патрубками і розміщену в
порожнині корпусу з радіальним зазором циркуляційну трубу, а також встановлений
під циркуляційною трубою аератор [2].
За рахунок
більш рівномірного розподілення газу та підвищення його диспергування зростає продуктивність технологічного процесу.
Для вертикального висхідного руху потоків газорідинної суміші використовується потенціальна енергія
стиснутого повітря. Процес культивування мікроорганізмів, як і більшість
гетерогенних хімічних реакцій, безпосередньо залежить від кількості розчиненого
в рідині газу і утворенням та накопиченням цільового продукту, зокрема,
біомаси. Підвищення ступеня розчинення газу в рідинній фазі реакції призводить
також до скорочення його розходу та до зменшення енерговитрат на аерацію. Недолік
цього технічного рішення полягає у відносно низькій продуктивності, збідненій
кінематиці технологічного процесу та недостатньому тепломасообміну при постійно
існуючих зонах пасивної енергетики культуральної рідини в придонному прошарку
та на периферії внутрішньої поверхні корпусу.
В основу пропонуємої
конструкції поставлена задача підвищення продуктивності технологічного процесу
шляхом інтенсифікації тепломасообміну по всьому об’єму апарата за допомогою
штучного формування гвинтової циркуляції культуральної рідини усередині
циркуляційної труби і породженої цим станом енергетичної активності культуральної
рідини.
Газліфтний
барботажний апарат з гвинтовою циркуляцією містить вертикально розташований
циліндричний корпус з технологічними патрубками і розміщену в порожнині корпусу
з радіальним зазором циркуляційну трубу, а також встановлений під циркуляційною
трубою аератор, згідно заявляємого винаходу циркуляційна труба має рівномірно
розташовані в колових напрямках заданого типорозміру прямокутні вікна із
заслінками, які однаково орієнтовані відносно поверхні циркуляційної труби у її
внутрішній бік.
Технічний
результат від використання пропонуємого газліфтного барботажного апарату з гвинтовою
циркуляцією забезпечується обладнанням циркуляційної труби рівномірно
розташованими в колових напрямках заданого типорозміру прямокутними вікнами із
заслінками, які однаково орієнтовані відносно поверхні циркуляційної труби у її
внутрішній бік.
Через аератор
стиснений газ у вигляді бульбашок надходить у циркуляційну трубу і утворює з
культуральною рідиною повітряно-рідинну суміш, яка набагато легша від
культуральної рідини, що знаходиться у проміжку між трубою і корпусом. За
відсутності вікон із заслінками, доки надходить газ, менша щільність
культуральної рідини усередині циркуляційної труби порівняно із щільністю
культуральної рідини поза циркуляційною трубою, буде породжувати висотну
циркуляцію рідинного середовища з боку придонного шару у бік кришки апарату у
вигляді поступального руху вгору повітряно-рідинного стовпа суміші. Через вікна
у бічній поверхні циркуляційної труби, у свою чергу, з боку корпуса апарату,
тобто із зони високої щільності, надходять потоки культуральної рідини, а
заслінки їх спрямовують в коловому напрямку усередині циркуляційної труби.
Центральний стовп повітряно-рідинної суміші захоплює прийдешні усередину труби
циркуляційні потоки і спонукає їх додатково рухатися угору, в результаті чого
формується гвинтова циркуляція.
Обопільний
кінематичний вплив повітряно-рідинної суміші і прийдешніх із вікон
циркуляційних потоків, окрім формування траєкторії руху, забезпечує більш
активну аерацію потоків культуральної рідини і тепломасообмін за весь час
переміщення в циркуляційній трубі.
Таким чином,
зони пасивної енергетики у придонних шарах та біля внутрішньої поверхні корпуса
аппарату активізуються, набувають просторового руху, турбулентного за своєю
структурою, інтенсифікують тепломасообмін і аерацію культуральної рідини, що
слугує підвищенню якості культивування і росту продуктивності технологічного
процесу.
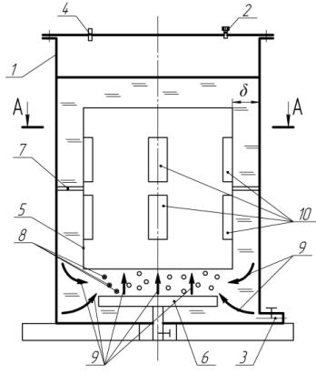
Газліфтний
барботажний апарат з гвинтовою циркуляцією (рис. 1) використовується для
культивування мікроорганізмів в рідинних середовищах при виготовленні вакцин та
біологічно-активних речовин і містить вертикально розташований циліндричний
корпус 1 з патрубком 2 для уведення живильної рідини і посівного матеріалу,
патрубком 3 для видалення культуральної рідини та патрубком 4 для відведення
відпрацьованого газу. В порожнині корпуса 1, співвісно з ним, з радіальним
зазором “
” встановлена циркуляційна труба 5, а під нею розміщується
аератор 6. Циркуляційна труба 5 приєднана до корпуса 1 кріпленнями 7.
Рис. 1
Робота пропонуємого
газліфтного барботажного апарату з гвинтовою циркуляцією здійснюється наступним
чином. У заздалегідь простерилізований корпус 1 крізь патрубок 2
вводять культуральну рідину, після чого через аератор 6 впускають стиснений газ, який у вигляді бульбашок 8 надходить до циркуляційної труби 5 і утворює з культуральною рідиною
повітряно-рідинну суміш, яка набагато легша за культуральну рідину в проміжку “
” між корпусом 1
апарату і циркуляційною трубою 5.
Повітряно-рідинна суміш у вигляді потоків 9 надходить до циркуляційної труби 5
утворюючи поступально рухаючийся вгору стовп. Через вікна 10, із зони “
” підвищенного тиску, у вигляді потоків 11 лине з периферії
культуральна рідина і, наражаючися на заслінки 12, змінює радіальний напрям
руху до центру циркуляційної труби 5 на коловий рух у вигляді потоків 13,
створюючи циркуляцію в горизонтальній площині поперечного перерізу
циркуляційної труби 5 (рис. 2, рис. 3). Центральний стовп повітряно-рідинної
суміші захоплює прийдешні усередину труби циркуляційні потоки і спонукає їх
додатково рухатися угору, в результаті чого формується гвинтова циркуляція.
Піднявшись вище по трубі 5, стовп повітряно-рідинної суміші знову отримає
додаткове вливання циркуляційних потоків вищих поверхів з вікнами 10
циркуляційної труби 5, формуючи ту ж саму гвинтову циркуляцію, що і в нижніх
поверхах.
Отже, штучно
породжена енергетична активність придонних шарів і периферійних застійних зон
апарату докорінно вплине на технологічний процес.
Таким чином,
використання пропонуємого газліфтного барботажного апарату з гвинтовою
циркуляцією, за допомогою нових властивостей, забезпечить ріст продуктивності
внаслідок інтенсивного тепломасообміну і аерації, а також завдяки ліквідації
зон пасивної енергетики культуральної рідини.


Рис. 2 Рис.
3
Джерела
інформації:
1.
А.с. 1497208 А1 СССР, С12М1/04. Аппарат для выращивания микроорганизмов
[Текст]/ Ю.Ф. Давыдов, В.М. Геллис, В.К. Погудкин, В.М. Крац, В.Н. Соловьев,
С.П. Уткин (СССР). - № 4109725/28-13; заявл. 21.08.86; опубл. 30.07.89, Бюл. №
28. – 1 с.: ил.
2.
А.с. 1708829 А1 СССР, С12М1/04. Газлифтный барботажный аппарат [Текст]/
Ю.Г. Куляшов, В.И. Горячкин, С.П. Уткин, Ю.Н. Талызин, А.С. Васильев, В.М. Крац
(СССР). - № 4612860/13; заявл. 01.12.88; опубл. 30.01.92, Бюл. № 4. – 1 с.: ил.