Акшолаков Е.Б
The device
wchich recoveryexhaus gas purification system of catalyst
In this
paper we consider the path of modernization of diesel truck engine cleaning
system. Combined system of neutralization of
working gases of diesel engine, containing catholic neutralization allows to
bring down the troop landing of harmful components in an environment. Also in
case of obstruction of catholic neutralization the regeneration of liquid
solution is considered, for renewal of capacity of catalyst.
A starter is an electric, pneumatic, hydraulic,
an internal-combustion engine in case of
very large engines or other device used for rotating an internal-combustion
engine so as to initiate the engine's operation under its own power.

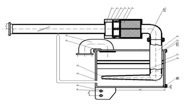
1- picture. The device
which neutralize the used gases
Internal-combustion
engines are feedback systems, which, once started, rely on the inertia from
each cycle to initiate the next cycle. In a four-stroke engine, the third stroke releases energy
from the fuel, powering the fourth (exhaust) stroke and also the first two
(intake, compression) strokes of the next cycle, as well as powering the
engine's external load. To start the first cycle at the beginning of any
particular session, the first two strokes must be powered in some other way
than from the engine itself. The starter motor is used for this purpose and is
not required once the engine starts running and its feedback loop becomes
self-sustaining.
The
system of neutralization of a diesel
engine consists of neutralization catalyst.
It filled up with entrance and exit pipelines, liquid neutralization filled up with liquid, pipe
equiped with diffuser and connected with cover . the lid is situated on the
cover pipelines of catalyst neutralization on.it managed in the cabin of driver
and the diffuser of pipe is situated at
the back of cover. Cover will be open when
the engine worked on load. Around the diffuser will current division,
liquid in the pipe don’t be in the stream of worked gases. Worked gases go to
catalyst neutralization. There are will be clean from the oil
which appeared during the high temperature fire. Then it goes to liquid
neutralization. And filtered from aerosol. Engine was putted idling mode for
doing regeneration process.

2-picture. Used gases from engine go to catalyst system

3-picture. Used
gases from engine go to the liquid through system

4-picture. Reaction between used gases from engine and liquid

5-picture. Escape
the used gases from engine

6-picture. Move
of regulate valves

7-picture. Neutralization liquid cleans the system of catalyst
Refferences:
1. Брозе,
Д.Д. Сгорание
в поршневых двигателях – М.:
Машиностроение, 1969. –
247 б.
2. Дәрібаев Қ.Б., Абдыкәрім Г.,Абдусалямов
Н.Н. Передвижная лаборатория для обслуживание и ремонта топливной аппаратуры
дизельных двигателей. (19) KZ
(13) U (11) 859 (51) G01N 33/22
(2011.01) B60P 3/00 (2011.01).
3. Автомобили – устройство и
техническое обслуживание / [А.Г. Пузанков] – М.: Академия, 2008. – 636б.