Bezvesilna
O. M., doctor of technical sciences, professor
Tkachuk
A. H., PhD, associate professor
National Technical
University of Ukraine "Kyiv Polytechnic Institute named after Igor
Sikorsky", Ukraine
Zhytomyr
state technological University, Ukraine
THREE-AXIS LOW-FREQUENCY PIEZOELECTRIC SENSOR
Studying the parameters of the
Earth's gravitational field – the gravity acceleration g (gravity) and its anomalies Δg required in
geodesy, geophysics, geodynamics and oceanography. Information about the
Earth's gravitational field is used in seismology (earthquake prediction),
aviation and space equipment (correction of the inertial navigation systems of
missiles, planes, orbits of the spacecraft), for the study of geodynamic
phenomena, the implementation of the tasks of engineering Geology, archaeology,
cartography and the like [1]. On the aircraft measured Δg in remote areas of the Earth at a speed greater than the speed
of ground-based measurements. For this purpose, use the aviation gravimetric
system (AGS), the sensitive element of which is gravimeter.
Today there are many types of
gravimeters AGS, the principle of which is based on different physical
phenomena. One of the most accurate gravimeters is piezoelectric (PG).
At the Department of
instrumentation in National Technical University of Ukraine "Kyiv
Polytechnic Institute named after Igor Sikorsky" and at the Department automation
and computer-integrated technologies in Zhytomyr state technological University
under the guidance of Professor Bezvesilna O. been developing new types of PG – dual-channel
PG and three-coordinate PG, which can be used as part of the AGS, and in the
stabilizer arms as sensing elements to measure acceleration [2-3].
Existing gravimeters measure only the
gravity gz along the
vertical axis Oz, what are the
components of gravity gx
and gy along the axes Ox and Oy are equal to zero because of their small size [2]. However, to
achieve the accuracy of measurement of gravity high for 1 mGal, the above
components must be taken into account. For example, if gx=gy=0,9
mGal [4], then the module of these accelerations will be equal to:
![]()
As you can see, the neglect of gx and gy leads to the emergence of significant errors, which
is unacceptable.
Improving the accuracy of measurement
in three-axis low-frequency gravimeter is assured by the fact that for each
measurement axis Oz and Ox, Oy,
the gravity is mounted the sensing element Az, Ax, Ay, done with two channels,
each with one equipped by piezoelectric elements that are identical (Fig. 1).
Inertial mass is attached to the bottom of piezoelectric element one channel
and to the top of piezoelectric element of the second channel. The
piezoelectric element of the first channel of each sensing element operates on
the basis of tensile deformation, and the piezoelectric element of the second
channel – compressing deformation.
Piezoelectric elements have a natural
frequency equal to the frequency of intersection of the spectral density of the
useful signal of gravity signal and a primary interference of the vertical
acceleration of the aircraft.
Output electrical signals of the
piezoelectric elements both channels all sensing elements are received at the
inputs of operational amplifiers that, in addition to strengthen perform and
function the summation of the signals from the inputs of BCOM.
In BCOM will be carried out the
necessary calculations to determine the value of the full vector
and the module
of the gravity.
So, by using three sensing elements Az,
Ax, Ay it is possible to measure the complete vector of gravity
:
and not just one
component
, as in the prototype.

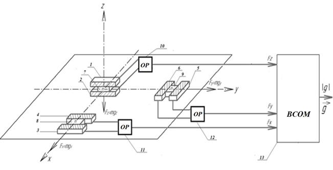
Fig.1. Three-axis low-frequency piezoelectric
sensor
In new sensor what is offered at each
axis measurement set the sensing element is made with two channels, each with piezoelectric
element 1 and 2 along the axis Oz, 3
and 4 along the axis Ox, 5 and 6 on
the axis Oy.
Inertial mass 7, 8 and 9 attached to
the bottom of piezoelectric elements 1, 3 and 5 of one channel and the top of piezoelectric
elements 2, 4 and 6 of the second channel.
Outputs of piezoelectric elements both
channels of the three sensing elements are connected to the inputs of
operational amplifiers 10, 11 and 12, the outputs of which are connected to
inputs of BCOM 13.
The piezoelectric elements of both
channels of the three sensing elements Az, Ax, Ay, which are located along the
axes Oz , Ox and Oy are acting
gravity
,
and
respectively. Also on each measuring axis acting a vertical
acceleration of the aircraft and instrumental errors from the influence of the
residual non-identical structures of the same piezoelectric elements and masses
from the influence of changes in temperature, humidity and pressure of the
external environment.
If you use
three dual-channel piezoelectric elements
Az, Ax, Ay, the algorithm of two-channel measurement setup described in
[6], we get the inputs BCOM 13 three signals, which contain double values
,
and
in which there is no value of vertical
acceleration of the aircraft and instrumental errors from the influence of the
residual non-identical structures of the same piezoelectric elements and masses from the influence of changes in temperature,
humidity and pressure of the external environment. These signals are summed and
amplified in the operational amplifiers ОP10, OP11, ОP12 and served in BCOM 13,
where the determining:
-
complete
vector of gravity:
;
-
full
acceleration module gravity:
,
where
- masses 7,8,9;
- piezoelectric
constant.
Therefore,
the accuracy of three-axis low-frequency piezoelectric sensor of aviation gravimetric system is higher than
available gravimeters.
References:
1. Bezvesilna
О. Corrected gyrocompass synthesis as a system
with changeable structure for aviation gravimetric system with piezoelectric
gravimeter / O. Bezvesilna, A. Tkachuk // Aviation
(Vilnius, Lithuania). – 2014. – №18(3). – Р.134-140.
2. Bezvesilna
О. Design of piezoelectric gravimeter for automated aviation gravimetric system
/ O. Bezvesilna, I. Korobiichuk, A. Tkachuk, R. Szewczyk, M. Nowicki // Journal of Automation, Mobile
Robotics & Intelligent Systems. –2016. – Vol. 10, Issue 1. – P. 43-47.
3. Bezvesilna
О. Two-channel MEMS gravimeter for the automated aircraft gravimetric system /
O. Bezvesilna, I. Korobiichuk, A. Tkachuk, T. Chilchenko // Recent advanced in systems, Control and
Information Technology. –2017. – Vol. 5. – P. 481-487.
4. Bezvesilna
О. Piezoelectric Gravimeter of the Aviation
Gravimetric System / O. Bezvesilna, I. Korobiichuk, A. Tkachuk,
R. Szewczyk, M. Nowicki // Advances in Intelligent Systems and Computing. –
2016. – №440. – Р.753-761.