Экология/4.Промышленная экология и медицина труда

К.т.н., проф. Сергеев С.В., ст. преп. Некрутов В.Г.,

инж. Иршин А.В., студ. Слепов Е.П.

Южно-Уральский государственный университет, Россия

Разработка эффективной технологии приготовления

и регенерации смазочно-охлаждающих жидкостей

 

В последние годы экологические проблемы промышленных предприятий Южного Урала привлекают к себе все большее внимание, которое объясняется возрастающими требованиями охраны труда на производстве и угрожающим загрязнением окружающей среды.

Предприятия обновляют станочный парк, закупая дорогостоящее, современное, высокотехнологичное оборудование, но порой пренебрегают вспомогательным оборудованием для решения возникающих экологических проблем, считая их второстепенными. На машиностроительных предприятиях большую долю металлорежущего оборудования занимают станки, обработка на которых происходит с применением смазочно-охлаждающих жидкостей (СОЖ). В процессе работы возникают различные загрязнения окружающего воздуха, водоемов и используемой СОЖ.

Основу технологического процесса приготовления, а также регенерации отработанных СОЖ составляет процесс перемешивания.

Аппараты, основанные на вибрационном воздействии на перемешиваемые материалы и рабочие органы смесителя, значительно увеличивают производительность процесса, снижают энергоемкость и улучшают качество конечного продукта. Перемешивание происходит практически в любом процессе, где используется вибрация, однако качественное перемешивание получается только в специальных устройствах с требуемыми параметрами  вибрации [1].

С целью совершенствования оборудования и процесса перемешивания компонентов СОЖ предлагается применить принципиально новые роторные инерционные вибровозбудители [2], разработанные в Южно-Уральском государственном университете, в которых параметрами колебаний можно управлять как за счет изменения геометрических размеров элементов, так и путем изменения динамических характеристик системы [3], что позволяет повысить эффективность управления параметрами технологических процессов.

В рекомендуемых инерционных роторных вибровозбудителях вращаемое тело (ротор) и контртело сопрягаются с тарированной силой прижима Рос так, чтобы область контакта имела замкнутую форму с поворотной симметрией. Причем на ротор установлены диски, посредством которых производится перемешивание. Эти диски со встречными коническими отверстиями при сообщении им радиально-осевых колебаний производят пульсации жидкости. А колебания обеспечиваются за счет того, что одно из сопрягаемых тел приводят во вращение с частотой ωвр вокруг оси поворотной симметрии области контакта, при этом управление процессом перемешивания осуществляют путем изменения частоты ω и амплитудой ρ колебательных движений по соотношениям:

;  ,

где Рос – величина осевой тарированной силы прижима вращаемого тела (ротора) к контртелу; ωвр – частота вращения ротора; m – приведенная масса вращаемого тела; l – вылет вращаемого тела; j – жесткость ротора; D – диаметр вращаемого тела в зоне его сопряжения с контртелом.

При отсутствии вращения, ротор симметрично расположен относительно контртела, а при его вращении ротор будет совершать планетарное круговое движение, т. е. поперечные автоколебания по торцовой поверхности контртела. Центр ротора, кинематически отклоняясь, описывает круговую траекторию, в направлении противоположном вращению.

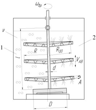
Использование данного роторного инерционного вибровозбудителя позволяет одновременно реализовать несколько физических эффектов [4]: псевдоожижения жидкой технологической среды (турбулентность), активного перемешивания жидкости (виброструйный эффект), эффект вибрационного поддержания вращения ротора машины (эффект хулахупа) (см. рис. 1).

Интенсивность процесса перемешивания существенным образом зависит от ускорения дисков. При небольшом ускорении перемешивание носит спокойный характер. При оптимальном ускорении возникают интенсивные потоки, носящие ярко выраженный характер турбулентного перемешивания. Величину и направление турбулентных струй можно изменять в зависимости от параметров вибрации, конфигурации дисков и вида их перфорации.

а)

 

 

 

 

б)

Рис. 1. Схемы реализации физических эффектов: а) 1 турбулентный режим;

2 – виброструйный эффект; б) эффект поддержания вращения

Радиально-осевые колебания конических перфорированных дисков закрепленных на роторе при своей максимальной амплитуде создают виброструйный эффект. Т.е. скорость движения многочисленных затопленных струй жидкости на выходе из сужающихся конических отверстий увеличивается, что позволяет интенсифицировать процесс. Вместе с тем, вибрирующая жидкость помогает вращению ротора вибровозбудителя (она как бы раскручивает его), а это значит, что для вращения ротора требуется гораздо меньшая мощность привода.

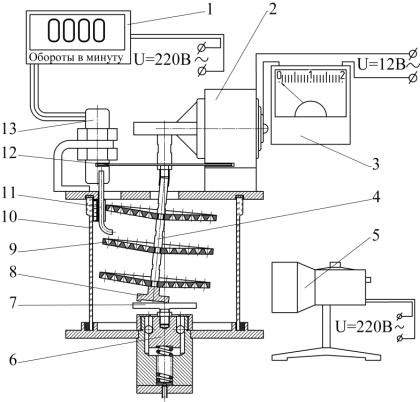
Для проверки условий возникновения эффектов была разработана экспериментальная установка (см. рис. 2), в которой эффект псевдоожижения жидкости определяется турбулентностью, зависящей от числа Рейнольдса, на которое, в свою очередь, влияет частота колебаний дисков, окружная скорость вращения ротора, радиус диска и кинематическая вязкость компонентов СОЖ.

 

 

а)

б)

Рис. 2. Экспериментальная установка: а) общий вид; б) схема замера параметров: 1 – тахометр; 2 – мотор-редуктор; 3 – амперметр; 4 – ротор; 5 – стробоскоп; 6 – опора нижняя подвижная; 7 – контртело; 8 – тарелка ротора; 9 – диск; 10 – бак; 11 – трубка ; 12 – диск с прорезями; 13 – датчик

В ходе проведения экспериментов определялась вязкость жидкой технологической среды, частота вращения ротора, частота и амплитуда колебаний, вертикальная и горизонтальная скорость движения рабочей среды, присутствие эффекта поддержания вращения ротора. В качестве емкости смесителя использовалась стеклянная колба для того, чтобы визуально определить присутствие того или иного физического эффекта.

Эксперименты показали, что с увеличением осевой силы амплитуда уменьшается, а частота колебаний возрастает; при увеличении частоты вращения ротора уменьшается частота колебаний, а амплитуда возрастает, а также происходит увеличении горизонтальной и вертикальной скорости движения технологической среды. В исследуемую зону подавалась через капиллярную трубку окрашенная жидкость. В результате были запечатлены ламинарный, турбулентный режимы течения жидкости и виброструйный эффект.

Таким образом, вследствие применения ряда физических эффектов можно повысить показатели стабильности, расслаивания, тем самым увеличить срок службы СОЖ. Для этого необходимо определить оптимальные режимы перемешивания компонентов СОЖ в целях получения заданных характеристик. Одновременная реализация физических эффектов позволяет усовершенствовать оборудование для приготовления и регенерации компонентов СОЖ, следовательно повысить производительность и улучшить качество готового продукта. Поэтому при настройке установки необходимо выбрать такие частоту и амплитуду колебаний ротора с дисками смесителя, в зависимости от свойств компонентов СОЖ, при которых будут иметь место все три эффекта. А это, в свою очередь, приведет к улучшению общей экологической среды металлообрабатывающих производств.

Работа поддержана РФФИ (конкурс «Урал», проект №10-08-96041) на 2010–2012 г.г.

Литература:

1. Клушин М.И. Технологические свойства новых СОЖ для обработки резанием. – М: Машиностроение, 1979.

2. А.с. №1664412. Способ возбуждения круговых колебаний и устройство для его осуществления / С.Г. Лакирев, Я.М. Хилькевич, С.В. Сергеев. – Опубл. в Б. И., 1991, Бюл. №27.

3. Сергеев С.В. Особенности моделей динамических процессов сверления отверстий / С.В. Сергеев // Технология машиностроения. – 2010. – №4. С. 9–11.

4. Блехман И.И. Вибрационная механика. – М.: Физматлит, 1994. – 400 с.