Физика/Оптика
К.ф.-м.н. Бимагамбетов Т.С.
Алматинский университет энергетики и
связи, Казахстан
Инверсная населенность
и вынужденное излучение на резонансном переходе атомов рубидия при
оптико-столкновительном заселении
Введение
В работах [1-3] теоретически и
экспериментально исследованы возможности создания инверсной населенности
двухуровневого атома в сильном поле при
присутствие буферного газа. В [1] теоретически показано, что фазовое уширение
двухуровневого атома с учетом неупругого характера
этого уширения в сильном поле приводит к стационарной
инверсной населенности основного и
резонансного уровня при положительной расстройке. При таком описании процессы
перехода энергии от атома к полю и обратно неравноправны и при наличии внешнего
поля с частотой Раби G=dmnE/2
(G-
частота Раби, Е – амплитуда электрического поля излучения, dmn – матричный элемент дипольного момента перехода)
взаимодействие с полем, модулирующим атомную частоту, не является строго
упругим из-за ненулевой величины кванта взаимодействия
(
расстройка лазерного излучения от
резонансного перехода). Тогда больцманское распределение населенности по
уровням энергии для двухуровневого атома с основным уровнем n и возбужденным m описывается
соотношением
. Отсюда следует, что при положительной
расстройке частоты (
) населенность верхнего уровня больше чем населенность нижнего уровня, т.е.
возникает инверсия населенности.
В работe [3] в парах натрия получены инверсии
заселенностей и генерации вынужденного излучения в основном и резонансных
переходах 3S1/2 - 3P3/2,1/2 (D1 и D2 - линии ) при
непрерывном лазерном возбуждении. Генерация наблюдалась в широком диапазоне
положительных расстроек излучения лазера и только в присутствии буферного газа.

В настоящей работе приводится
результаты зависимости мощности вынужденного излучения резонансном переходе 5S1/2-5P1/2 от частоты лазерного
излучения.
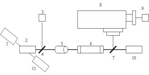
Описание экспериментальной установки.
Общая схема экспериментальной установки
для получения вынужденного излучения приведена на рисунке 2. В качестве источника
накачки использовался лазер на красителе (2) с перестраиваемой частотой,
возбуждавшийся одним импульсом рубинового лазера (1). Рубиновый лазер работал в
режиме модулированной добротности, которая осуществлялась с помощью
просветляющего фильтра. Перестройка частоты лазера на красителях осуществлялась
с помощью дифракционных решеток. Для сужения линии генерации внутри резонатора
помещался наклонный эталон Фабри – Перо с различной толщиной базы. Мощность
красителя измерялась калориметром (3), на который направлялось отражение
накачки от одной поверхности стеклянной подложки (4). Световой пучок лазера
направлялся в кювету (6) с парами щелочных металлов. Для увеличения
интенсивности возбуждающего излучения использовалась телескопическая система
(5), уменьшающая диаметр светового пучка внутри кюветы до 1 мм. Вынужденное
излучение, выходящее из кюветы, направлялось с помощью диэлектрического зеркала
(7) на щель дифракционного спектрографа (8) и интенсивность измерялась
приемником (9), ширина аппаратной функции

Рис. 2. Схема экспериментальной установки.
составляла 0,5 см-1. Юстировка экспериментальной
установки проводилась
с помощью двух гелий – неоновых лазеров (10, 11) , один из
них лазер (10) являлся основным и задавал оптическую ось всей системы, а вспомогательный газовый лазер (11) задавал
оптическую ось рубинового лазера. Его луч пересекался с оптической осью системы
внутри кюветы с красителем лазера. Съюстированный по лучу гелий – неонового
лазера рубиновый лазер обеспечивал
генерацию лазера на красителях вдоль главной оптической оси системы. При этом
оптическая ось резонаторов лазеров на красителях была отклонена на небольшой
угол (15-20) от направления генерации рубинового лазера. Что позволило достичь
наибольшего коэффициента преобразования возбуждающего излучения.
Результаты эксперимента
Работа проводилась с использованием
лазера на красителях с максимальной мощностью Р=300 кВт с перестраиваемой
частотой и шириной линии 0,2 см-1, длительность импульса 15 нс.
Концентрация атомов изменялась в
интервалах от N=0,5·1015
- 3·1015 см-3 (N=1,5·1015
см-3 (оптимальная
концентрация). Рабочая область паров
рубидия -20 см и давления буферного газа аргона - 1 атм. Средний диаметр
светового пучка внутри кюветы 2 мм, при этом интенсивность достигала до 10
МВт/см2. Частота лазера на красителе с положительной расстройкой
настраивалась на резонансный переход атома рубидия 5S1/2 – 5P1/2 Экспериментально наблюдалось вынужденное излучение на
частоте
(D1- линия, 794,8
нм) на резонансном переходе. Генерация возникала только в присутствие буферного
газа и существовала в указанных диапазонах концентрации.
В оптимальных условиях на длине
активной среды 20 см коэффициент уcиления вынужденного излучения составляла
. При этом параметр gL достигает
значению 20-40 т.е. получаем сверхсветимости, поскольку генерация излучения
возникает за один проход через активную среду.
В данном эксперименте исследовали
зависимости мощность вынужденного излучения Р на резонансном 5S1/2 – 5P1/2 (D1 – линии, длина
волна
=794,8 нм) от расстройки частоты
возбуждающего излучения (рис.3).
Нулевой расстроек соответствует атомному переходу 5S1/2 – 5P1/2. С увеличением
расстройки (
) мощность (Р) вынужденного излучения
увеличивается и достигает своего максимума при 20 см-1, с
ростом
величина Р уменьшается и в интервалах 50 -200 см-1 не наблюдается. Не
высоки пик соответствует второму резонансного перехода 5S1/2 – 5P3/2 (D2 – линии), затем
уменьшается, в близи двухфотоном
возбуждении (5S1/2 – 5D5/2 ) снова
нарастает и достигает своего максимума. Далее увеличение расстроек Р уменьшается и наблюдается до 400 см-1.
Отметим, что при отрицательной отстройке частоты от атомного перехода 5S1/2 – 5P1/2 вынужденное излучения не наблюдалось.

Рис.3. Зависимость мощности
вынужденного излучения D1- линии от разности частот
. 1- атомный переход 5S1/2 – 5P1/2 , 2 - 5S1/2 – 5P3/2, 3- 5S1/2 – 5D5/2.
Заключение
В
работе экспериментально исследовано вынужденное излучение на резонансном
переходе 5S1/2 – 5P1/2 атома рубидия в
присутствии буферного газа аргона. Вынужденное излучение возникало только при
положительной расстройке от резонансного уровня и только в присутствии
буферного газа. Появления первого пика мощности вынужденного излучения объясняется
тем, что переход энергии от атома к полю и обратно при ОС (столкновение атомов
рубидия с атомами аргона) заселении неравноправны. Как было показано выше, что равновесное распределение по
уровням энергии компаунд-системы соответствует тому, что для двухуровневых
атомов (с основным уровнем n и
возбужденным m) населенности Nn и Nm в сильном поле связано соотношением
, где
- расстройка лазерного излучения от перехода n-m,
- частота лазерного излучения,
- частота атомного перехода n-m).
Отсюда следует, что при положительной расстройке частоты (
) населенность верхнего уровня больше чем населенность нижнего уровня, т.е.
возникает инверсия населенности (генерация вынужденного излучения).
Второй пик - заселения уровня 5Р1/2 достигалось за счет
столкновения возбужденных атомов рубидия уровне 5Р3/2 с частицами буферного газа.
Трети пик достигается ОС заселения
уровня 5Р3/2 и уменьшения
населенности основного уровня 5S1/2 при двухфотонного заселения уровня 5D5/2.
Таким образом установлено, что
вынужденное излучения D1- линии наблюдается не только окрестности атомном переходе 5S1/2 – 5P1/2 , но и в широкой
области перестройки частоты лазера, включающей однофотонной 5S1/2 – 5P3/2 и двухфотонного
резонанса.
Литература: