К.т.н. Тарабрін О.І.,
к.т.н. Щербак Ю.Г.
Чорноморський державний університет імені Петра Могили
СХЕМНЕ РІШЕННЯ ДВОДИЗЕЛЬНОЇ
ПРОПУЛЬСИВНОЇ УСТАНОВКИ ІЗ СПІВВІСНИМИ ГВИНТАМИ
ПРОТИЛЕЖНОГО ОБЕРТАННЯ
У представленій роботі розглянутий
варіант виконання дводизельної пропульсивної установки із співвісними гвинтами
протилежного обертання. На відміну від варіанта такої установки [1, 2]
запропонована схема забезпечує можливість збільшення редукування частот
обертання від двигунів до роздільника крутних моментів між внутрішнім і
зовнішнім валами установки, а крім того передбачається інше конструктивне
рішення опорних вузлів валів коліс зубчастого зачеплення, що забезпечує
передачу руху від двигунів до гребних валів.
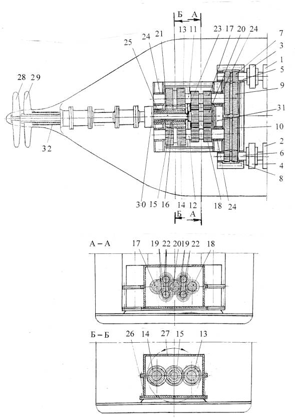
Пропульсивна установка (див. рис.
1) складається з двох головних малооборотних реверсивних дизельних двигунів 1 і 2 відповідно лівого і правого
бортів, котрі за допомогою розчіпних муфт 3 і 4 передають крутний момент на
передавальні вали 5 і 6 зубчастого зачеплення.
На передавальних валах 5 і 6 встановлено відповідно зубчасті шевронні
колеса 7 і 8. Колеса 7 і 8 знаходяться у зубчастому зачепленні відповідно з
шевронними зубчастими колесами 9 і 10, встановленими на проміжних валах 11 і 12,
котрі передають обертання на шевронні колеса 13, 14 і на шевронне колесо 15
зовнішнього вала 16 пропульсивної установки. Співвісно с колесами 9 і 10
розташовані відповідно прямозубі колеса 17 і 18, котрі через чотири паразитні
шестерні 19 передають крутний момент на прямозубе колесо 20 внутрішнього вала
21. Прямозубі паразитні шестерні 19 встановлені на чотирьох нерухомих осях 22,
що закріплені на корпусних плитах 23.

Рис. 1. Дводизельна пропульсивна установка із
співвісними
гвинтами протилежного обертання
Обпирання
валів зубчастих коліс виконано за допомогою гідро-, статодинамічних
підшипників, втулки 24 котрих закріплені у корпусі 26 та кришці 27 зачеплення і
мають трубопроводи для підведення робочого середовища (на рис.1 не показано) у
зазори опорних поверхонь. Подібну схему опорних вузлів валів зубчастих коліс наведено
в авторській розробці [3].
Співвісні гребні гвинти 28 і 29
послідовно розміщені на співвісних
валах 15 і 21 таким чином, що задній гвинт 28 закріплено на внутрішньому валу
21, а передній 29 – на зовнішньому валу 15. До складу пропульсивного комплексу
також входять відповідно носовий 31 і кормовий 30 головні упорні підшипники, а
також дейдвудний пристрій 32.
При роботі головних реверсивних
дизельних двигунів 1 і 2 обертання їх валів передається на передавальні вали 5
і 6, від яких обертовий момент сприймається зубчастими шевронними колесами 7 і
8. Завдяки зачепленню коліс 7 і 8 з шевронними колесами 9 і 10, розташованими
на проміжних валах 11 і 12, обертовий момент передається на шевронні колеса 12
і 14 зовнішньго вала 15 і відповідно на передній гребний гвинт 29. Упор від
переднього гребного гвинта 29 сприймається кормовим упорним підшипником 30.
Зубчасті прямозубі колеса 17 і 18,
що відповідно розташовані на проміжних валах 11 і 12 співвісно з шевронними
зубчастими колесами 9 і 10, передають від останніх крутний момент на прямозубі
паразитні шестерні 19, які встановлені на чотирьох нерухомих осях 22, що
закріплені на корпусних плітах 23. Від паразитних шестерен 19 рух передається
на зубчасте колесо 20 внутрішнього вала 21 і відповідно на задній гвинт 28.
Упор від заднього гвинта 28 сприймається носовим головним упорним підшипником
31. Навантаження, що виникають при роботі зачеплення, сприймаються
повноохоплюваними гідро-, статодинамічними підшипниками, несуча здатність яких
забезпечується подачею робочого середовища за допомогою трубопроводів у у
робочі зазори підшипників, Дейдвудний пристрій 32 забезпечує сприйняття
радіальних навантажень з боку гребних гвинтів 28 і 29, а також запобігає
проникненню забортної води у корпус судна. Наявність у схемі зубчастого
зачеплення блоків прямозубих передач дозволяє компенсувати осьові переміщення,
що спрощує монтаж упорних підшипників валопроводу і в цілому підвищує
експлуатаційну надійність пропульсивної установки.
При зупинці одного із двигунів
пропульсивної установки кінематична схема зубчастого зачеплення забезпечує
протилежне обертання співвісних валів і відповідних гребних валів, що
відповідає штатному режиму їх роботи.
Наведене конструктивнее рішення
дводизельної пропупульсивної установки із співвісними гвинтами протилежного
обертання сприяє підвищенню її експлуатаційної надійності та ходових і маневрених
якостей.
Література:
1. Патент на
корисну модель № 32277 (UA).
Дводизельна пропульсивна установка із співвісними гвинтами
протилежного обертання /
О.І. Тарабрін, Ю.Г. Щербак. − № u 200800017; Заявл. 02.01.2008; надрук.
12.05.2008. Бюл. № 8.
2. Тарабрін О.І., Щербак Ю.Г. Пропульсивні
установки з груповим приводом та співвісними гвинтами протилежного обертання і
гвинтами, що перекривають один одного // Materiály V mezinárodní vĕdecko-praktická konference «Dny-vedy -2009». – Dil 17. Technicke vedy. Matematika: Praha. Publishing House «Education and Science» s.r.o. – Stran 67-72.
3. Патент на корисну модель № 52246 (UA). Однодизельна пропульсивна установка з гвинтами, що перекривають один одного /
О.І.Тарабрін, Ю.Г.Щербак. − № u 201005092; Заявл. 27.04.2010; надрук. 27.09.2010. Бюл. № 18.