К.т.н.
Щербаков Н.В., магистрант Галямова А.А.
Костанайский
государственный университет им. А. Байтурсынова, Казахстан
Предпосевная обработка почвы для посадки картофеля
Казалось бы, нет ничего проще посадки
картофеля. На самом деле овощная культура очень требовательна к качеству
грунта. Поэтому перед посадкой необходима подготовка почвы под картофель.
Процедура необходима, чтобы клубни могли беспрепятственно расти, к тому же под
воздействием предпосевной обработки образуется питательный, воздушный и водный
режимы.
Влагообеспеченность влияет на получение
урожая, поэтому ее необходимо максимально сохранить, а способность испарения по
возможности уменьшить. Урожайность зависит и от плотности грунта, поэтому
нельзя допускать образованья комьев, это относится к тяжелым видам почв.
Наиболее неблагоприятным условием является каменистость почвы, т.к. это: плохо
сказывается на качестве клубней; влечет дополнительные растраты; повышает износ
техники [ 1 ].
От камней необходимо избавляться,
сделать это можно, применяя камнедробилки или камнеуборщики. Но данная
процедура не из дешевых.
Для улучшения урожайной способности
культуры в Западноевропейских странах успешно используют сепарацию гребней. Это
позволяет освобождать посадочное место от камней и комков.
В ходе обработки почвенная структура
должна приобрести мелкокомковатый вид и быть устойчивой для техники. Нельзя
нарушать посадочный слой, в котором сосредоточено основное содержание влаги.
Весенняя нарезка гребней осуществляется
на легких песчаных землях, а также на почвах, склонных к заплыванию. На
некоторых почвенных видах перед формированием гребней может понадобиться
дополнительное рыхление, сделать это можно, оснастив технику культиваторными
лапами, на тяжелых почвах достаточно культиватора [ 2 ].
Современные технологии без труда
позволяют решить подобные проблемы и произвести зачистку поля. Только широкого
применения они не нашли, так как являются дорогостоящими и имеют ряд
недостатков.
В Западных странах, где выращивают
сортовой картофель, широко распространены следующие два метода: гряды подлежат
сепарации; производится зачистка гребней от камней путем укладывания их в
борозды. Особое внимание уделено второму методу. Изначально его использовали на
тяжелых почвах, но сейчас успешно применяют и на легких каменистых землях. С
помощью сепарации пахотная прослойка освобождается от камней и комков, так
производится рыхление слоя, почва насыщается кислородом, нет препятствий для
развития и роста корневой системы овоща.
Благодаря такому подходу качество
овощной культуры становится намного лучше, износ техники существенно падает,
при ручной переработке картофеля уменьшаются затраты на рабочую силу.
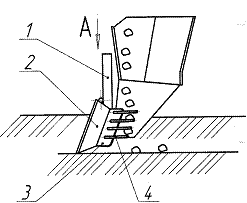
Для зоны Северного Казахстана нами
предлагается применение сошника картофелесажалки [ 3 ] с острым углом вхождения
и установленными дополнительными прутками для просеивания почвы (рисунок 1). Он
состоит из стойки 1, клина 2, бороздооткрывающих боковых стенок 3, на которых приварены
прутки 4.


Рисунок 1.
Сошник картофелесажалки
Во время работы прутки за счет неравномерности
сопротивления почвы вибрируют и дополнительно измельчают почву. Частицы почвы,
просыпаясь между прутками, засыпают клубни мелкими фракциями, что способствует
более благоприятным условиям прорастания семян.
Почва, засыпаемая в борозду
заделывающими дисками, также имеет более мелкую структуру, так как на комки почвы частично
воздействуют вибрирующие прутки. Предложенное устройство сошника для посадки
картофеля позволяет снизить тяговое сопротивление машины и обеспечить наличие
фактора, влияющего на урожайность картофеля - это заделка семян более
качественными фракциями почвы.
К достоинствам данного способа также
можно отнести то, что все операции производятся за один проход техники,
соответственно нет дополнительного уплотнения почвы.
Подобные машины применяли в различных
хозяйствах на территории Европы и были сделаны такие заключения:
-
при отсутствии
остатков предшествующих культур процесс сепарации применяется для просеивания
грунта;
-
дополнительная
обработка плугом тяжелых почв позволяет снизить количество комьев;
-
все удобрения
вносятся перед пахотными работами;
-
во время
формирования гряд борозды необходимо распределять на одном расстоянии, это
влияет на расположение гребней;
-
процесс сепарации
осуществляют, когда почва достаточно сухая, при высокой влажности сепарацию не
проводят, т.к. это способствует разрушению почвенной структуры и приводит к
снижению урожая.
Литература:
1.
Буланкин В.А. Предпосадочная обработка почвы. Картофель и овощи. -1992.-№1. С.7-8
2.
Кувшинов Н.М., Косьянчук В.П. Предпосадочная обработка почвы под картофель. -
Земледелие. – 1995.-№1. С.20
3.
Щербаков Н.В., Галямова А.А. Сошник картофелесажалки.
Патент РК №25442 от15.02.2012г.