Мельник В.М., Тривайло М.С., Карачун В.В., Фесенко С.В.

Національний технічний університет України «КПІ»

СПИРАЛЕВИДНИЙ ПЕРЕМІШУВАЧ РІДИННОГО СЕРЕДОВИЩА ПРИ ВИГОТОВЛЕННІ ВАКЦИН

 

Конструкція відноситься до мікробіології і може бути використана для культивування мікроорганізмів в рідинних середовищах при виготовленні біологічно-активних речовин і вакцин.

Відома установка для культивування мікроорганізмів (УКМ), яка містить раму і обертаючу в похилій площині платформу з посудинами для культивування, а також привод (див., наприклад, А.с. СССР № 1731801, С 12 М 1/10, 1992).

Недолік цієї УКМ полягає в незручності користування, оскільки потребує при використанні розфасовки робочої рідини.

Відома також УКМ, яка містить з′єднані між собою в нижній частині гнучким трубопроводом дві камери з технологічними патрубками, патрубками для приєднання гнучкого трубопроводу і пристроями для подачі стерильного повітря, а також механізм зворотно-поступального переміщення камер в вертикальній площині (див., наприклад, А.с. СССР № 1131899, С 12 М 1/00, 1984).

Ця УКМ є найбільш близькою до пропонуємої моделі за технічною суттю та досягаємим ефектом і прийнята за найближчий аналог.

Недолік відомої УКМ полягає в низькій ефективності перемішування робочої рідини, що знижує продуктивність.

В основу запропонованої конструкції поставлена задача підвищення ефективності перемішування шляхом введення додаткового елемента.

Поставлена задача вирішується тим, що в УКМ, яка містить з′єднані між собою в нижній частині гнучким трубопроводом дві циліндричні камери з технологічними патрубками і пристроями для подачі стерильного повітря, а також механізм зворотно-поступального переміщення камер у вертикальній площині, згідно корисної моделі новим є те, що вона додатково обладнана перемішувачем робочої рідини, який виконано у вигляді трикутної або овальної в поперечному перерізі спіралі з зазором між витками і розміщений в порожнині гнучкого трубопроводу дотично до його внутрішньої поверхні.

Зазначені відмітні ознаки створюють додаткове, відсутнє в найближчому аналогу, перемішування робочої рідини при перетіканні її між ємкостями, що забезпечує необхідну рівномірність розподілу в ній живильних речовин і мікроорганзмів і приводить до росту продуктивності процесу.

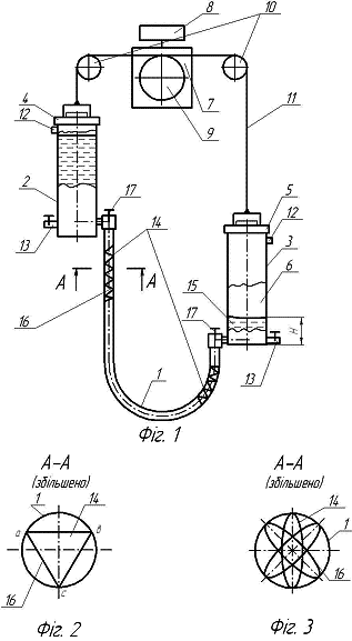
На фіг. 1 схематично зображена заявляєма УКМ, загальний вигляд; на фіг. 2 – переріз А-А на фіг. 1, на фіг.3 те ж саме, варіант виконання.

УКМ містить з′єднані між собою гнучким трубопроводом  1 дві циліндричні камери 2, 3 з пристроями 4, 5 для подачі стерильного повітря 6. Камери 2, 3 приєднані до механізму їх переривчастого зворотно-поступального переміщення в вертикальній площині, привод якого містить реверсивний мотор-редуктор 7 з блоком керування 8 та барабаном 9, який охоплює перекинутий через блоки 10 і приєднаний кінцями до камер трос 11.

УКМ додатково обладнана перемішувачем 14 робочої рідини 15, який виконаний у вигляді трикутної “а, в, с” (фіг. 2), або овальної (фіг. 3), в поперечному перерізі спіралі 16 із зазором  між витками і розміщений в порожнині гнучкого трубопроводу 1 дотично до його внутрішної поверхні. Спіраль 16 виготовляють з дроту, переважно з закруткою її витків навколо власної осі (фіг. 3), що забезпечує розташування вершин спіралі по гвинтовим лініям (не показані) подовж трубопроводу 1 і слугує поліпшенню перемішування.

Після заповнення робочою рідиною до необхідного рівня камери 3, блок керування 8 вмикає мотор-редуктор 7 і змінює положення камер в вертикальній площині: камеру 2 – переводить в нижнє, а камеру 3 – в верхнє положення, в якому вони залишаються на визначений для переливання час. Перетікання робочої рідини між камерами в зміненому положенні відбувається в зворотному напрямку, тобто з камери 3 в камеру 2, раніше описаним способом.

Після необхідного числа циклів переміщень і часу переливання вміст камер зливають через кран 14  для подальшого використання.

Так як при переливанні робочої рідини між камерами 2, 3 відбувається її додаткове переміщення, що відсутнє в найближчому аналозі, то інтенсивність масообміну збільшується, що забезпечує необхідну рівномірність розподілу живильних речовин, а це стимулює ріст мікроорганізмів і приводить до підвищення продуктивності.

Пропонуєма УКМ проста в реалізації і не потребує для виготовлення додаткових суттєвих затрат.