ТЕХНИЧЕСКИЕ НАУКИ 3.Отраслевое машиностроение.
Ю.П. Бурочкин, Т.Н. Андрюхина
Самарский государственный технический университет, Россия
предельные контрольные
калибры
В машиностроении годность
различных деталей наиболее часто проверяют предельными калибрами. При активном
контроле разных деталей из разных материалов требуется значительно е количество
предельных калибров - пробок. Особо актуально стоит вопрос об износостойкости
стальных калибров, применяемых в точном машиностроении и приборостроение, где допуск
на износ, например, калибров - пробок составляет 1,5…2 мкм, что увеличивает
расход калибров и одновременно увеличивает трудоемкость изготовление этих
инструментов. Повышение износостойкости придельных калибров выступает задачей
большого производственного значения.
Калибры - бесшкальные
измерительные инструменты, предназначенные для контроля размеров элементов
деталей, их геометрической формы и взаимного расположения.
С помощью калибров нельзя
определить действительные размеры элементов деталей. Задачей контрольных
функций калибров является установление соответствия действительных размеров
элементов деталей их предельным значениям, проставленным в рабочих чертежах, на
основе чего делаются выводы о годности или негодности детали по ее
контролируемому параметру.
Методы контроля делят на
активные и пассивные. При активных методах контролируют ход технологического
процесса, производя по результатам контроля подналадки процесса обработки с
целью недопущения появления бракованных деталей. При пассивных методах
контроля, осуществляемых предельными калибрами, при различных видах
технического контроля констатируют годность или негодность изготовленных
деталей.
Эффективным способом
повышения износостойкости калибров является оснащения их рабочих поверхностей
твердосплавными элементами или алмазоподобными покрытиями. До последнего
времени предельные калибры, оснащенные твердосплавными элементами не нашли еще
широкого применения в различных отраслях промышленности вследствие дефицита
твердого сплава, а также большой трудоемкости изготовления.
Для контроля отверстий
размеров в пределах 30…50 мм, был разработан сборный регулируемый калибр -
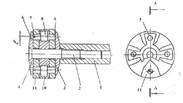
пробка, оснащенная твердосплавными СМП (рис. 1).

Рис. 1
Сборный регулируемый калибр - пробка
Регулируемый
калибр-пробка содержит корпус 1, ось 2, на которой расположены лепестковые
прихваты 3 и 4. В лепестках 5 одного из прихватов выполнены отверстия 6 для
доступа отвертки к шлицам 7 штифтов 8. На средней части штифтов 8 выполнена
резьба, а концы имеют цилиндрические
поверхности 9, эксцентрично смещенные на величину е относительно их оси.
Штифты ввернуты в резьбовые отверстия диска 10. На концах штифтов 8 надеты
рабочие элементы 11 из изношенных стандартных сменных многогранных
твердосплавных пластин шестигранной формы по ГОСТ 19047-80.
При заворачивании оси 2 в
резьбовое отверстие корпуса 1 происходит закрепление рабочих элементов 11
лепестками 5 прихватов 3 и 4. Упругие лепестки 5 прихватов выполняют роль
компенсаторов при установке рабочих элементов 11. Рабочими элементами являются
сменные многогранные пластины разной толщины.
Настройку калибра
производят следующим образом. При повороте штифтов 8 отверткой, вставленное
через отверстие 6 в шлицы 7, происходит перемещение рабочих элементов 11 в
радиальном направлении до упора с эталоном, увеличивая диаметр калибра.
Повысить стойкость
калибров, применяемых при измерении деталей из чугуна или абразивных
материалов, позволяет нанесение на их рабочую часть алмазного слоя 2…3 мкм.
Таким образом, оснащение
предельных контрольных калибров износостойкими материалами позволяет
значительно повысить стойкость и сократить производственные расходы в точном
машиностроении и приборостроении.
Литература:
1.Патент.
2143662 Россия, G-01В 3/26. Регулируемый калибр-пробка / Ю.П. Бурочкин и др.
2.ГОСТ 19047-80 Сменные
многогранные твердосплавные пластины шестигранной формы.
Регистрационная карточка участников
Бурочкин Юрий Павлович
Самарский государственный технический
университет
Доцент, к.т.н.
6. 443100 г. Самара, ул.
Молодогвардейская, д. 133, 3-й корпус СамГТУ, ауд. 30, кафедра
"Инструментальные системы и сервис автомобилей"
№ квитанции об
оплате:
Андрюхина Татьяна Николаевна
Самарский государственный технический
университет
Доцент, к.т.н.
443100 г. Самара, ул. Молодогвардейская,
д. 133, 3-й корпус СамГТУ, ауд. 30, кафедра "Инструментальные системы и
сервис автомобилей"
e-mail:
tat9168@yandex.ru