ХИМИЯ И ХИМИЧЕСКИЕ ТЕХНОЛОГИИ/4.
Химико-фармацевтическое производство
К.т.н., доц. Ружинська Л.І., к.т.н., доц. Поводзинський
В.М.,
Шибецький В.Ю., Резенчук О.Є.
Національний технічний університет України «Київський
політехнічний інститут»
Ферментер для
культивування еукаріотичних клітин
1. Вступ
Суттєвою
особливістю конструювання ферментерів, як біологічних реакторів є врахування ексклюзивності біотехнологічних процесів,
що обумовлені високою індивідуальністю фенотипу біологічних агентів (БА).
Означена
специфіка ставить під сумнів створення універсальних ферментерів для широкого
спектру біотехнологічних процесів і відповідно для культивування різних груп
БА. Тому конструювання і вибір ферментеру повинно базуватися виключно на
фенотипічних ознаках БА [1].
Перемішування
у ферментері є найбільш відомим процесом і обов’язковою умовою культивування БА,
воно є способом забезпечення гомогенності
багатофазної дисперсійної системи і при можливості реалізує керування процесами тепло- і масообміну.
Перемішування, переважно реалізується в ємнісних апаратах з перемішуючими
пристроями (зазвичай мішалками). Процес полягає у розподілі розчинених речовин,
зважених часток і теплоти, а також в диспергуванні крапель і бульбашок в рідині
шляхом приведення її у вимушений рух. При цьому виникає циркуляційна течія
рідини по колу і (чи) в меридіональному напрямі, що супроводжується появою напруги
зсуву. Характер і інтенсивність перемішування
залежать від конструкцій апаратів і мішалок [2].
Особливе
місце у біоінженерії займають ферментери для культивування аеробних опорнозалежних еукаріотичних клітин, наприклад лейкоцитів, у яких відсутня регідна
оболонка. Відсутність клітинної оболонки у БА вимагає розробки ферментерів у
яких гідродинамічна обстановка не призводить до утворення таких рівнів напружень зсуву, що можуть ушкодити незахищену клітинну мембрану.
Крім суттєвого обмеження по інтенсивності перемішування
аеробні еукаріотичні клітини ушкоджуються прямою дією бульбашок аераційного
повітря, що вимагає специфічних рішень стосовно аераційного оснащення ферментеру.
2. Постановка
задачі
Розробка конструкції ферментеру для
культивування аеробних клітинних культур має своєю метою:
- створення ферментеру з високою гарантією
забезпечення асептичності процесу культивування;
-
аерація без створення бульбашок повітря та
забезпечення гарантованих умов асептики аераційного повітря.
-
вибір матеріалу і конструкції аераційного пристрою який забезпечує підведення кисню у поживне середовище після його
фільтраційної стерилізації;
-
розробка конструкції механічного перемішуючого
пристрою при русі якого відсутні критичні для клітинних культур значення напруги
зсуву;
-
розробка конструкції механічної насадки з розвиненою питомою поверхнею.
3. Огляд існуючих рішень
поставленої задачі
1. Для досягнення необхідного аераційного ефекту та унеможливлення прямого бульбашкового аерування культуральної
рідини використовується явище напівпроникності гідрофобного біологічно
інертного політетрафторетилену
(фторопласту), який забезпечує вибіркову дифузію кисню повітря (дифузійна аерація).
2. При проходженні кисню через фторопласт відбувається селективна затримка
часток розміром більше 0,15мкм що забезпечує стерилізацію повітря. Таке технічне рішення призведе до підвищення
надійності асептичного культивування, питомої продуктивності ферментеру та
забезпечення якості отриманої культуральної рідини.
3. Використання регульованого низькочастотного вібраційного переміщення гнучких
полімерних конструкцій дозволяє уникнути критичних
для клітинних культур значень напруги зсуву.
4. Опис ферментеру
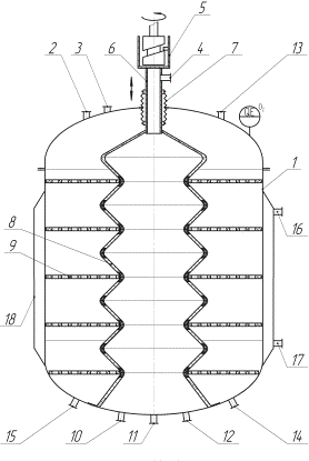
На рис. 1 схематично показаний запропонований
ферментер для культивування клітинних культур.

Рис. 1. Ферментер
для культивування клітинних культур [3]
Ферментер для культивування БА,
містить циліндричну герметичну місткість з технологічними патрубками для:
подачі поживного середовища і стисненого аераційного повітря; відведення
культуральної рідини; введення посівного матеріалу, титрантів, для регулювання
параметрів культивування та патрубками для підготовки ферментера.
Всередині ферментера розміщено
аераційно-перемішуючий пристрій, який включає сильфон, каркас якого
виготовлений з гідрофобного фторопласту з аераційними вікнами з фторопласту
меншої товщини ніж каркас, приєднаний до вертикального штоку встановленого на
осі ємності з можливістю зворотно-поступальному руху у вертикальній площині, для
герметизації місця введення штоку в місткість використаний сильфон, що
прикріплений до кришки і він герметизує внутрішню порожнину реактора у місці
введення рухомого штоку в ферментер. Аераційно-перемішуючий
сильфон при своєму зворотно-поступальному руху у вертикальній площині
приводить у дію (переміщує) гнучкі кільцеві перфоровані диски, що прикріплені
до внутрішньої стінки ферментеру, тим самим забезпечує перемішування культуральної
рідини. Відпрацьоване повітря видаляється через порожнистий вал приводу
перемішуючого пристрою.
Ферментер містить циліндричний корпус 1 з патрубком
2 для подачі поживного середовища, патрубком 3 для подачі посівного матеріалу,
патрубком 4 для відведення відпрацьованого повітря, приводом 5 для забезпечення
зворотно-поступального
руху порожнистого валу 6 у вертикальній площині. Для герметизації місця введення штоку в місткість використаний
сильфон, що герметизує 7. Аераційно-перемішуючий пристрій 8 контактує з
гнучкими перфорованими кільцями 9. В нижній частині ферментеру розташовано
патрубок 10 для відведення конденсату пари, патрубок 11 для подачі аераційного
повітря та патрубок 12 для введення пари у внутрішню порожнину
аераційно-перемішуючого пристрою. Подача пари здійснюється через патрубок 13, а
утворений конденсат пари відводиться через патрубок 14. Культуральна рідина
відводиться через патрубок 15.
Для забезпечення та регулювання температурного режиму культивування
ферментер має сорочку в яку через патрубок 17 подається охолоджуюча або гріюча
рідина, що відводиться через патрубок 16.
Ферментер працює наступним чином. Після миття,
дезінфекції та стерилізації зони культивування та внутрішньої порожнини
аераційно-перемішуючого пристрою через патрубок 2 в ферментер подається стерильне
поживне середовище, посівний матеріал подається через патрубок 3. Клітини продуцентів
біологічно-активних речовин після внесення в
поживне середовище іммобілізуються на зовнішній поверхні
аераційно-перемішуючого пристрою 8, гнучких перфорованих кільцях 9, та на
стінках ферментеру. Частково вони знаходяться у зваженому стані.
Включається привід 5, який приводить у рух
вертикальний шток 6 який здійснює зворотньо-поступальний рух у вертикальній площині. Герметизуючий
сильфон 7 не припускає проникнення контамінантів з зовнішнього простору у ферментер.
Для забезпечення клітин киснем в внутрішню
порожнину аераційно-перемішуючого пристрою 8 через патрубок 11 вводиться попередньо
очищене стиснене повітря, яке створює надлишковий тиск у аераційній зоні і
дифундує через фторопластові вікна у культуральну рідину. Відпрацьоване повітря
відводиться з ферментеру через патрубок 4. Вирівнювання концентрацій взаємодіючих
фаз в об’ємі ферментера здійснюється за рахунок коливальних рухів перфорованих
кілець, що переміщуються аераційно-перемішуючим пристроєм 8. Після закінчення
циклу культивування культуральна рідина відводиться через патрубок 15.
Список літератури
1.
Барабаш
В. М., Бегичев
В. И., Белевицкая
М. А., Смирнов
Н. Н. Проблемы и тенденции развития теории и практики перемешивания жидких сред
// Теоретические основы хим. технологии. − 2007, Т. 41, № 2. − С.
140 – 147.
2.
Виестур У.Э., Кузнецов
А.М., Савенков В.В. Системы ферментации. − Рига.: Зинатне, 1986. −
174 с.
3.
Патент
України. Ферментер для культивування клітинних культур. Патент № 72526 на
корисну модель, Україна, МПК С12 М1/00 (2012.01). U 2011.15645. – Заявл.
30.12.2011. Опубл. 27.08.2012. – Бюл. № 16.-5 с. Поводзинський В.М., Ружинська Л. І., Шибецький
В. Ю., Резенчук О. Є.