Эрдынеев
Сергей Владимирович
кандидат технических наук, ФГБОУ
ВПО Восточно-Сибирский государственный университет технологий и управления,
и.о. доцента кафедры производство строительных материалов и изделий
Цыдендамбаев
Чингис Олегович
кандидат технических наук, ФГБОУ ВПО Восточно-Сибирский государственный
университет технологий и управления, ст. преподаватель кафедры промышленное и
гражданское строительство
Эрдынеев
Содном Владимирович
аспирант, ФГБОУ ВПО
Восточно-Сибирский государственный университет технологий и управления
ПРОПИТКА
СТРОИТЕЛЬНЫХ МАТЕРИАЛОВ АНТИПИРЕНАМИ
Древесина является одним из
наиболее распространенных видом строительных материалов. Она обладает
множеством уникальных и положительных эксплуатационных свойств. Но при этом она
страдает двумя существенными недостатками:
- легкой возгораемостью,
-при эксплуатации во влажной среде она подвержена
биологическому разложению, которые можно устранить с помощью пропитки
специальными растворами.
В качестве антипиренов применяют буру, хлористый
аммоний, фосфорнокислые натрий и аммоний, сернокислый аммоний.
Огнезащитное действие антипиренов основано на том, что
один из них при нагревании древесины создает оплавленную пленку, закрывая
доступ кислорода к древесине, другие при высокой температуре выделяют газы,
которые препятствуют горению древесины.
Сначала paccмотрим
структуру древесины. Для проведения влаги с растворенными в ней минералами и
органическими веществами в древесине ствола формируются водопроводящие
элементы. Они представлены у хвойных пород трахеидами, а у лиственных пород -
сосудами. Трахеиды - это вытянутые и
на концах заостренные волокна. Окаймленные поры отделяются друг от друга тонкой
коллоидной пленкой - мембраной, имеющей в центре утолщение торус. Смещение торуса в окаймленных порах - одна из основных
причин слабой пропитываемости древесины.
Сосуды - это тонкостенные трубки, состоящие по высоте из
отдельных члеников.
Третий анатомический элемент, по которому возможно
передвижение влаги в древесине в поперечном направлении, - сердцевинные лучи. Они имеются у всех пород. На поперечном
разрезе они выглядят как радиальные полоски. Возможно передвижение влаги по смоляным ходам. Древесные волокна (или либриформ) в древесине лиственных
пород довольно трудно пропитываются влагой, так как они имеют малые внутренние
полости и утолщенные стенки с малочисленными щелевидными порами, затрудняющими
продвижение влаги. Сообщаемость их с соседними анатомическими элементами очень
слабая, что так же препятствует продвижению водных растворов.
Способность древесины пропитываться различными
растворами связана с ее проницаемостью. Из-за вертикального расположения
большинства анатомических элементов проницаемость древесины в продольном
направлении значительно выше, чем в поперечном. В радиальном направлении
жидкое' 'и и газы движутся интенсивнее, чем в тангенсальном.
Причинами низкой проницаемости спелой древесины и ядра
хвойных пород являются смещение торуса и закрытие каналов окаймленных пор,
происходящее с ростом дерева, закупорка смоляных ходов и полостей трахеид
смолистыми и ядровыми веществами.
Мы ранее занимались разработкой технологии бетона [I].
Сейчас мы планируем использовать выполненную работа для пропитки древесины
антипиринами.
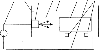
Рассмотрим устройство лабораторного оборудования.
Лабораторное оборудование (рис. 1) для исследования
влияния кавитации и акустического поля на проницаемость бетона состоит из
следующих узлов:
1 2 3
4 5 6 7 8

Рис. 1 Структурно-функциональная схема лабораторного
оборудования
1 - насос 5 - пропиточный состав
2 - ванна 6 - бетонная балочка
3 - гидродинамический излучатель 7- система трубопроводов
4 - струя пропиточного состава 8 – прокладки
-ванны для пропитки образцов,
-гидродинамической системы для создания в пропиточном
растворе акустического поля,
-измерительного оборудования.
-электромагнитной системы, состоящей из генератора
электрических колебаний, антенн, измерительных приборов (вольтметра,
частотомера, ...), не отмеченных на рис. 1.
В экспериментах ( рис.1)
образцы 6 устанавливались на прокладках 8 в ванну 2с пропитывающим составом 5.
Причем, образцы погружались в раствор либо полностью, либо оставляется верхняя
поверхность в воздухе. Гидродинамическая система установки включает в себя
насос 1, гидродинамический излучатель (ГДИ) 3 -источник акустических колебаний
и систему трубопроводов 7, обеспечивающих работу установки.
Скорость пропитки оценивалась
взвешиванием образцов на весах с точностью до 0,1 %. Настройка гидродинамического
излучателя производится с помощью гидрофона (рис. 2) и происходит следующим
образом. Посредством регулировочной гайки меняется объем вихревой камеры таким
образом, чтобы получаемый гидрофоном электрический сигнал был максимальным.
1 2
3 4 5

Рис. 2 Настройка
гидродинамического излучателя.
1 — насос 4 - пропиточный
состав
2 — ванна 5 - гидрофон
3-ГДИ
В
ванну 2 с пропиточным составом опускается гидрофон 5. Раствор с помощью насоса
I пропускается через гидродинамический излучатель ( ГДИ ) - источник
акустических волн, Гидрофон представляет собой пьезоэлемент с полосой
пропускания от 200 Гц до 2 мГц. и преобразовывает механические колебания в
электрические. С изменением объема резонатора ГДИ меняется амплитуда
ультразвуковых волн, что фиксируется милливольтметром. Предварительные
эксперименты показали эффективность использования акустической волны при пропитке древесины антипиринами.
Литература.
1. Ванчиков В.Ц., Лайдабон Ч.С. Особенности течения
воды в капиллярах // Депонир. рукопись, М., ВИНИТИ, 1989,№ 9, б/о 280
2. Лайдабон Ч.С., Гильмутдинов Р.В., Семенов А.В.
Влияние акустического поля на проницаемость строительных материалов // Тезисы
научно-практической конференции ВСГТУ, г. Улан-Удэ 2000 г.с7