Д.т.н. Гришин Б. М., к.т.н. Бикунова М.В., Титанов
А.М.
Пензенский государственный университет
архитектуры и строительства, Россия
Экспериментальные
исследования технологических характеристик
вихревых эрлифтных устройств
Системы аэрации аэротенков являются наиболее энергоемкой частью сооружений биологической очистки. До 60-80% энергозатрат станций биологической очистки приходятся на долю систем аэрации. Как правило, эффективность мелкопузырчатых пневматических систем аэрации не превышает 1,2-1,8 кг/кВт·ч. Поэтому задача разработки и исследования новых устройств, позволяющих повысить эффективность мелкопузырчатых пневматических аэротенков, является актуальной.
Наиболее простыми технологическими приемами, позволяющими повысить эффективность пневматической системы аэрации, являются создание противотока фаз газ-жидкость и дополнительное перемешивание аэрационного объема.
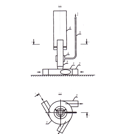
Обеспечить противоток фаз газ-жидкость и дополнительное перемешивание аэрационного объема позволяет вихревое эрлифтное устройство (ВЭУ), схема которого приведена на рис. 1.
Вихревое движение жидкости в
данном устройстве позволяют создать входные патрубки (2), тангенциально
присоединенные к камере входа (1). При переходе закрученного потока жидкости из
камеры (1) ствол устройства (3), имеющий меньший диаметр угловая скорость вращения потока
увеличивается. В вихревой камере (6) происходит дополнительное эжектирование и
закручивание жидкости из аэрационного бассейна.
Вихревое эрлифтное устройство
может рассматриваться как аналог механической мешалки. Замена
механических мешалок вихревыми эрлифтными гидродинамическими перемешивающими
устройствами позволит устранить недостатки, присущие пневмомеханическим системам аэрации. Конструкция вихревых
эрлифтных устройств (ВЭУ) не содержит ни одной вращающейся детали, что
существенно упрощает процесс их
эксплуатации. Перемешивание

жидкости в аэрационном бассейне при помощи ВЭУ осуществляется за счет
Рис.1. Схема вихревого
эрлифтного устройства (ВЭУ):
1 – камера входа; 2 –
входной патрубок; 3 – ствол устройства;
4 – камера смешения; 5 –
воздушный патрубок; 6 – вихревая камера
энергии сжатого
воздуха, что устраняет необходимость прокладывать к устройству силовых кабелей.
ВЭУ позволяет создать вращающийся восходяще-нисходящий поток жидкости в
аэрационном бассейне, что обуславливает возникновение противотока газовой и
жидкой фазы и повышает эффективность мелкопузырчатой системы аэрации.
В ходе проведения
экспериментальных исследований определялась зависимость величины объемного
коэффициента массопередачи кислорода в воду КLa в процессе одновременной работы
мелкопузырчатого аэратора «Аква-лайн» и вихревого эрлифтного устройства от
интенсивности аэрации J и относительной доли расхода воздуха,
подаваемого на вихревое эрлифтное устройство
.
Значение величины объемного
коэффициента массопередачи КLa определялось по стандартному методу переменного дефицита кислорода с
использованием кислородомера марки АЖА-101.1 М.
Результаты экспериментальных
исследований процесса массопередачи кислорода в воду при ее аэрировании мелкопузырчатым
аэратором «Аква-лайн» и перемешивании вихревым эрлифтным устройством
представлены в виде графиков, изображенных на рис.2.

Рис.2. Зависимость объемного
коэффициента
массопередачи кислорода КLa от интенсивности аэрации J и относительной доли
расхода воздуха подаваемого на вихревое эрлифтное устройство ![]()
1-![]()
Анализ полученный данных показывает,
что в диапазоне интенсивности аэрации J =5-25 м3/м2·ч
дополнительное перемешивание аэрационного объема и создание режима противотока
позволяет существенно повысить эффективность аэрационной системы.
Наиболее рациональный режим работы комбинированной системы аэрации наблюдается
при подаче на вихревое эрлифтное устройство 10% от общего расхода сжатого
воздуха, поступающего на аэрационную систему (см. рис. 2, график 3).
При работе лабораторного вихревого эрлифтного устройства в оптимальном
режиме
=0,1 эффективность
системы аэрации увеличивается в 1,6 раза.