Божок А.М., Венгер
М.А., Волинкін М.П. Секція “Сільське
господарство ”
підсекція “Механізація
сільського господарства”
ПОБУТОВА
ПЕРЕСУВНА КОНВЕЙЄРНА ТЕПЛИЦЯ
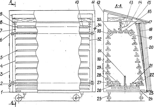
Теплиця, як споруда захищеного грунту, може бути використана для вирощування розсади,
овочів і квітів переважно в побутових умовах, а також в інших місцях майже
непридатна для культивації рослин. Недоліком відомих висотних конвеєрних
теплиць є неможливість використання їх в побуті, недостатня ефективність
використання сонячної енергії і значні трудозатрати
пов’язані з поливанням рослин, вирощуваних в лотках [1]. А відсутність
побутових теплиць обумовлює певний дефіцит в овочах та інших рослинах в зимовий
та весняний період. У зв’язку з цим пропонується принципово нова
(а.с.СРСР.№1722301) пересувна конвеєрна теплиця з комбінованим використанням
для обігрівання сонячної і електричної енергії, кранами ручного і автоматичного
поливу рослин і термометром з пристроєм автоматичного вмикання і вимикання
електричного нагрівача.
Використання запропонованої теплиці
здійснюється наступним чином.
Розміщена поза приміщенням пересувна
теплиця встановлюється схилом на південь (з розворотом на схід 10…15
). Завдяки цьому максимально використовується пряма сонячна
радіація, яка падає на повітронагрівач 20. глуха стіна 12 закріплена на каркасі
1 з боковинами 6, захищає теплицю від холодних
північних вітрів.
Для переміщення лотків 5 вмикають
електродвигун 29, який через привод 28, з можливим безступеневим
змінюванням частоти обертання, обертає ведучі зірочки 27 нескінченних ланцюгів
4,32, перемотуючи їх, а разом з ними переміщаючи лотки 5 з вирощуваними в них
рослинами зі швидкістю 0,3…0,5 м/хв. Прогин горизонтальних участків
нескінченного ланцюга між зірочками 27, 22 нижнього і між зірочками 19,33
верхнього участка усувається підкладками 16,26 з якими взаємодіють ланцюги 4,32.
Необхідний натяг нескінчених ланцюгів,
по мірі їх видовження за певний час роботи, забезпечується натяжними гвинтовими
механізмами 21, діючими на зірочки 21 обидвох
ланцюгів.

Нагрівання повітря в теплиці в денний
період при сонячній погоді здійснюється нагрівачем 20, нахил якого в залежності
від сонцестояння, можна завдяки еластичному матеріалу 18, змінювати двома
гвинтовими механізмами 17, переміщенням верхнього кінця повітронагрівача 20
відносно двох нижніх шарнірів 23. У випадку пониження температури повітря
усередині теплиці із – за недостатньої теплоти сонячної радіації, автоматично
вмикається електричний нагрівач 24, який після нагрівання повітря до необхідної
температури, також автоматично відмикається.
Провітрювання теплиці здійснюється через
відкриті кватирки 2, 34, а контроль за температурою повітря – термометром 31.
Поливання грунту
і рослин в лотках 5 може бути як ручним, так і автоматичним. При ручному
поливанні обслуговуючий персонал, у випадку понижених температур навколишнього
середовища, через дверці 3 заходить усередину теплиці, де звичайним способом
вручну, за допомогою поливальниць, за необхідністю поливає в лотках рослини і грунт. Це доцільно виконувати при необхідності локального і
при різних ступенях інтенсивності поливання окремих лотків і рослин. Однак у
випадку необхідності рівномірного поливання всіх лотків, доцільно поливання
здійснювати автоматично наступним чином. Для цього в розміщений під покрівлею
15 бак 14 заливається певний рівень води. Після відкривають, розміщені з обидвох боків теплиці, два запірних крани 9, а пружини 13
з’єднують з рукоятками автоматичних кранів 8, розміщених в трубопроводах за
рівним нижче кранів 9. Тоді при русі лотків на верхньому горизонтально-му
участку їх важелі 35 будуть наїзжати
на ролики 7 кранів 8 і відкривати їх. При цьому вода із бака 14 через постійно
відкриті запірні крани 9 і крани 8, що періодично відкриваються, буде поступати
у зрошувач 10, звідки через отвори, розміщені тільки в нижній його частині,
буде витікати в лотки на протязі періоду взаємодії важелів 35 з роликами 7.
Після виходу важелів 35 із зачеплення з роликами 7 зворотні пружини 13
перекривають крани 8, шляхом повернення їх рукояток у вихідне положення.
Довжини важелів 35 і кут повороту рукояток кранів 8 вибираються такими, щоб
вода із зрошувача 10 витікала тільки в момент находження їх під зрошувачем.
Поливання наступних лотків здійснюється аналогічно по мірі наїзду їх важелів 35
на ролики 7 важелів кранів 8. Для повного припинення автоматичного поливання
всіх лотків необхідно вивести ролики 7 із зони дії на них важелів кранів 8 і
відключення дії пружин 13.
При понижених температурах навколишнього
середовища догляд за рослинами здійснюється при зупинених лотках 5
обслуговуючим персоналом, який повинен через дверці 3 зайти і знаходитись
усередині теплиці. У випадку допустимої температури оточуючого середовища
операції догляду можна виконувати, перебуваючи за теплицею, через дверці 30 в
глухій стіні 12, по черзі зупиняючи перед прорізом дверці лотки 5 .
При розміщенні теплиці усередині
приміщення і обігріванні її теплом його повітря недоцільна установка глухої
стіни, боковин і покрівлі, а також сонячного і
електричного повітронагрівачів.
Габаритні розміри теплиці можуть бути
різні, однак зручними в побутовому використанні.
Таким чином, запропонована теплиця
створює зручності при вирощуванні дешевих овочів за рахунок енергозбереження і
зменшення трудозатрат.
Література:
1. Драганов Б.Х., Есин
В.В., Зуев В.П., Применение теплоты в сельском хозяйстве/ Подряд. Б.Х. Драганова. – 2-е
изд., перераб. и доп. – К.: Выща школа , 1990. – 319с.
Автори: А.М.
Божок
М.П. Волинкін
М.А. Венгер
Відомості про авторів
1. Божок Аркадій Михайлович,
в.о, доцента Подільского
державного аграрно-технічного університету.
Домашня
адреса:
вул. Жукова , буд.21, кв.7.
Домашній
телефон:4-57-92
2. Волинкін Микола Петрович,
викладач
Подільского державного аграрно-технічного
університету.
Домашня
адреса:
вул.
князів Коріатовичів , буд.70, кв.20.
Домашній
телефон:9-68-89
3. Венгер Микола Анатолійович,
викладач
Подільского державного аграрно-технічного
університету.
Домашня
адреса:
вул.
Північна, буд. 90А, кв. 57