География и
геология/ 3. Гидрология и водные ресурсы
Яров Я.С.
Одесский
государственный экологический университет
КОЛИЧЕСТВЕННАЯ
ОЦЕНКА ВОДНОГО И ХИМИЧЕСКОГО СТОКА НЕКОТОРЫХ МАЛЫХ РЕК ЗАКАРПАТЬЯ
Традиционный
способ подсчета стока растворенных веществ заключается в том, что измеренные
концентрации ионов относят к определенному временному промежутку (до нескольких месяцев) и подсчитываются средние за
выбранный период расходы растворённого вещества по формуле (1):
,
(1)
Стандартные гидрохимические данные, обычно используемые
для таких вычислений ионного стока, в
силу своей эпизодичности не способны адекватно
|
Река-пост |
L (км) |
F (км2) |
(%) |
(км/км2) |
(м) |
Врез русла Н (м) |
|
руч. Йойковец - пгт. Межгорье |
1.2 |
0.39 |
92.3 |
3.07 |
630 |
523.2 |
|
руч. Глубокий Яр - пгт. Межгорье |
0.9 |
0.28 |
10 |
3.21 |
550 |
275.4 |
|
руч.
Грабовец - пгт. Межгорье |
6 |
10.2 |
93.1 |
1.53 |
788 |
755.8 |
|
р.
Студеный - с.Нижний Студеный |
7.5 |
25.4 |
18.1 |
1.6 |
793 |
234 |
|
р.
Лопушна - с. Лопушно |
9.4 |
37.3 |
78.4 |
1.2 |
897 |
600 |
|
р.
Пилипец - с. Пилипец |
6.2 |
44.2 |
19 |
0.82 |
820 |
261 |
|
р.
Репинка - с. Репино |
14 |
203 |
21.4 |
1.39 |
780 |
367 |
|
р.
Рика - пгт. Межгорье |
28 |
550 |
41 |
1.51 |
802 |
666 |
|
Р.
Рика - г. Хуст |
91 |
1130 |
52 |
1.28 |
680 |
963 |
, (2)
где
– вынос вещества (г), S0 – расход
вещества (г/с), t – время (с).
Для выбранных постов расматривались
данные по Сa2+, HCO3-, I (сумма ионов) за период 1954-1996 гг. Были рассчитаны
годовые таблицы стока и сформированы ряды среднегодовых значений модулей
водного (л/с*км2) и химического (т/год*км2) стока, были рассчитаны
соответствующие модули стока. Для приведения временных рядов к единому периоду
было использовано удлинение рядов.
Анализировалось влияние характеристик
водосборов (залесённость, средняя высота, глубина вреза речного русла, густоты
речной сети)
рис 1 - Комплексный график выноса [
] речным
стоком
р.Репинка-с.Репино
за 1996г.
Полученные ряды среднегодовых модулей стока воды и химических веществ
прошли статистическую обработку способом наименьшихквадратов (по кривой Пирсона
3 типа), в результате чего были получены кривые распределения и статистические
характеристики рядов. Полученные среднемноголетние модули стока воды и
химических веществ согласуются с данными альтернативных исследований, что
подтерждает корректность подобных оценок, выполняемых по предложенной методике.
Коэффициент вариации стока воды Cv
для выбранных постов составляет 0,2 - 0,7, что говорит о явно выраженной
изменчивости модулей стока. Это, в общем, характерно для горных рек, имеющих
нестабильный водный режим. Полученные стандартные ошибки (5-10%) выявили
удовлетворительную точность полученных
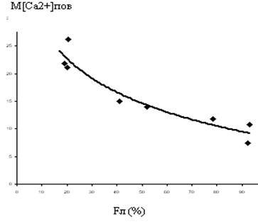
результатов. Анализ полученных % соотношению поверхностной и подземной
составляющих водного и химического стока данных показывает, что наибольшая доля поверхностного стока (82% и
70-76% по стоку воды и химическому соответственно) приходится на элементарные
водосборы (с площадями 0,28-0,39 км2). Среднее соотношение по водному стоку и
химическому составляет соответственно 70:30% и 60:40%. Явно выражена тенденция
– при увеличении площади водосбора растёт доля подземного стока
и снижается роль поверхностного. Это объясняется тем, что с ростом площади бассейна происходит рост глубины вреза речного русла и рост
(а)
(б)
Выводы –
предложенная методика позволила сделать более детализированный расчёт годового
хода водного и химического стока исследуемых рек, произвести оценку статистических параметров
и

Также было проведено
исследование структурного состава водного и химического стока в бассейне р.Рика
по генетическим типам питания. С ростом площади водосбора растет
зарегулированность стока, что проявляется в уменьшении доли поверхностного
стока и возрастании доли подземного.
В целом, следует отметить, что
модули поверхностного (подземного) стока достаточно хорошо подходят
для оценки естественных ресурсов поверхностных (подземных) вод, то есть
обеспеченности водными ресурсами для водопользования.